IK54 110cm Stainless & Black Glass Down
User Manual
Models:
IK54, IK57 & IK60 (3410). 110cm 
INPUT
This guideline and the safety data include all necessary information for a safe mounting as well as a safe use without defects.
- Please read all of these guidelines and safety data before using the appliance. Make the most suitable installation plan according to this information
- Keep the guideline in an appropriate place.
- If you pass the appliance on to others, make sure you also give this guideline and safety data.
- Disregarding this guideline may result in severe injuries and defects in the appliance.
- Please keep in mind that we won’t be responsible for the defects arising from not taking this guideline into account.
The figures in this guideline aim to visually describe the actions. In these figures, only one model of the appliance is illustrated.
However, all instructions or figures also represent other models.
Technical Drawing

WARNING AND SAFETY PRECAUTIONS
WARNING AND SAFETY PRECAUTIONS
- This appliance can be used by children of 8 years and older, people with physical, sensory, or mental capability deficiency, or people with a lack of experience or knowledge; as long as they are provided supervision or instructions for the safe use of the appliance and they comprehend the dangers.
- Children should not tamper with the appliance. Cleaning and user maintenance operations must not be performed by children unless supervised.
- This product is designed for home use.
- Usage voltage of your product is 220-240 Volt~50 – 60 Hz.
- The power cord of your product is fitted with a grounded plug. This cord must be plugged into a grounded outlet.
- The whole electrical wiring must be installed by a qualified electrician.
- Installation by unauthorized persons could lead to poor operation performance, damage to the product, and accidents.
- The feeder cable of the appliance must not be exposed to jamming or crashing during assembly.
The feeder cable mustn’t be placed near the cooker. In such cases, it might melt down and lead to a fire. - Do not plug in the appliance before the installation.
- Make sure that the installation place allows the user to easily unplug the power cable in case of any danger.
- Do not touch your product’s lamps when they work for a long time.
Since they would be hot, they could burn your hand. - Kitchen hoods are manufactured for household use in normal home cooking. There is a risk of malfunction in other types of use, and the product guarantee will be void.
- Comply with the rules and instructions regarding discharge of outgoing air, stipulated by the relevant authorities. (This warning does not apply to uses without a flue.)
- Flammable foods must not be cooked under the appliance.
- Start your product after you place the pot, pan, etc. on the stoves. Otherwise, high temperatures may cause the same parts of your products to deform.
- Turn off the cooker’s burner before taking the saucepan, pan, etc. off the cooker.
- Do not leave boiling oil on the stove. Pots that contain boiling oil may catch fire by themselves.
- Since oils could catch fire when you cook fried foods, in particular, be careful about your curtains and tablecloths.
- Ensure timely replacement of the filters. Filters not replaced in a timely manner pose a risk of fire due to accumulated grease deposits on them.
- Do not use non-fire-resistant filtering materials instead of the filter.
- Do not operate your product without a filter, and do not remove the filters when the product is in
- In case of any fire, de-energize the hood and any other cooking appli (Plug off the appliance or turn off the main switch).
- If your product’s periodic cleaning is not made in a timely manner, it could pose a risk of fire.
- De-energize the appliance before any maintenance operations. (Plug off the appliance or turn off the main switch.)
- When an electric cooker hood and appliances fed with energies other than electricity operate simultaneously, the negative pressure in the room must not exceed 4 Pa ( 4 X 10 bar ).
- Gas or fuel oil-burning appliances, such as room heaters, which share the same environment with your product, must be fully insulated from the exhaust of this product or they must be hermetical.
- * When you make a flue connection for your product, use pipes with a diameter of 150mm or 120 The length of the pipe connection as well as the number of elbows must be as minimum as possible.
- Children must not play with the appliance.
- For your safety, use the “MAX 6 A” fuse in the hood system.
- Since the packing materials could be dangerous, keep them away from children.
- If the feeder cable is damaged, it must be replaced by its manufacturer or its authorized technical service, or any other personnel qualified at the same level, in order to avoid any dangerous situation.
- In case of any deflagration, de-energize the cooker hood and cooking appliances, and cover the Never use water to extinguish the fire.
- When cooking appliances are in operation, their accessible parts could be hot.
- This appliance is not intended to be used by people with physical, sensory, and mental disabilities (including children) or those who have not adequate experience and knowledge regarding its use unless they are under the supervision of a person responsible for the safety of the appliance.
- The output of the hood must not be connected to air ducts, where there exists other smoke.
- You must be careful when using the appliance spontaneously with other appliances (e.g. gas, diesel fuels, coal, wood, etc. burning heaters, shower heaters), which use the same air in the same environment Attention must be paid when using them simultaneously. It is because the hood could adversely affect the combustion, by discharging the ambient air. This warning does not apply to uses without a flue.
3.1 LETHAL RISK, DANGER OF POISONING
DANGER
Warning – Choking Hazard
The packaging materials are dangerous for children. Never allow children to play with packaging materials.
DANGER
Warning – Death Hazard There are
life-threatening danger and poisoning danger due to reabsorbed combustion gases. During the air discharge outlet use, unless sufficient air supply is provided, do not use the appliance simultaneously with devices that discharge toxic gases through flue such as ventilated, gas, oil, wood or coal burning heaters, shower heaters, water heaters, etc.Fig.
Fig. 3: Poisoning Danger
Ventilated goods (e.g. gas, oil, wood or coal burning heaters, shower heaters, water heaters) take combustion air from the installation location and discharge the waste gas through a waste gas system (e.g. flue). When the cooker hood is active, it absorbs air from the kitchen and neighboring rooms. If adequate air entry is not provided, a vacuum emerges. In such a case, the toxic gases are absorbed from the flue and waste gas channel and are taken into the door again. Fig. 3
- Therefore, adequate fresh air ingress must always be ensured. Fig. 4

WARNING
Fire danger!
- The oil residue in the grease filter may catch fire. Clean the grease filter at least once every 3 months. Never operate the device without the grease filter.
- The oil residue in the grease filter may catch fire. Never work with an open flame (ex. flambe) near the device. The apparatus is allowed to be installed near a solid fuel (e.g. wood or coal) heater only if it has a nonremovable cover. No sparks should be scattered.
- Hot oils and fats catch fire easily. Hot oils and fats should never be left unattended. Never try to put out the fire with water. Turn off the cooker. Kill the flames carefully using a cover, fire blanket or a similar material.
- Gas-operated cookers that do not have a cooking pot on creating high heat during operation. A ventilation device placed over the cookers can be damaged or burned for this reason.
Operate gas cookers only when there is a cooking pot on them. - Operating multiple gas cookers simultaneously creates high heat. A ventilation device placed over the cookers can be damaged or burned for this reason.
Never operate two gas cookers longer than 15 minutes on a high flame setting. A large burner over 5kW (Wok) has the power of two gas burners.
WARNING
Electrocution hazard!
- A malfunctioning device may cause electric shock. Never turn on a malfunctioning device. Pull the power plug and switch off the circuit breaker. Call customer service.
- Unsuitable repairs pose hazards. Repairs and replacement of damaged power cords must be performed only by a customer services technician trained by us. If the device is malfunctioning pull the power plug and switch off the circuit breaker. Call customer service.
- Water leaking into the device may cause electric shock. High pressure or steam cleaners must not be used.
DANGER
The danger of physical injury!
- During the installation, there is a danger of physical injury due to the sharp edges. Use protective gloves throughout the installation process of the appliance.
- Due to the risk of dropping the appliance, assembly of all safety bolts and covers must be performed as specified in the user manual.
- Objects placed on the appliance may fall over. Do not place any objects on the device.
- LED lights are very bright and may damage the eyes (Risk Group)
1). You must not look directly at running LED lights for longer than 100 seconds.
WARNING
Risk of burn, risk of electric shock!
- Allow the appliance to cool before the cleaning or maintenance process. Switch off the fuse or pull out the main plug from the socket.
- There is a risk of damage due to the ingress of moisture in the electronics. Do not clean the control components with a wet cloth.
- The surface could be damaged due to a wrong cleaning process. Clean stainless steel surfaces only in their brushing direction. Do not use a stainless steel cleaner for the control elements.
- The surface could be damaged due to aggressive and abrasive cleaning agents. Never use aggressive and abrasive cleaning agents.
WARNING
Dangers of fire and physical injury!
In case repairing that is not performed according to the rules or as required, turn off the fuse or unplug the feeder cable of your appliance.
Repairing must be performed only by the authorized technical service or authorized experts.
NOTICE
If the appliance is faulty or damaged, turn off the fuse or unplug the feeder cable of your appliance and call the authorized service.
NOTICE
If the feeder cable is damaged, it must be replaced by its manufacturer or its authorized technical service or any other personnel qualified at the same level, in order to avoid any dangerous situation.
NOTICE
When the bulbs of the device malfunction, switch off the circuit breaker and unplug the device’s power plug from the socket.
Replace the defective bulbs immediately (leave bulbs to cool down first), in order to protect the remaining bulbs against over-loading.
CAUTION
Accessible components might be heated when used with cooking devices.
DANGER
Air outlet pipe of this appliance mustn’t be connected to the flue used to discharge the fume generated by devices that use gas or other fuels.
Damage reasons
CAUTION
Damage hazard due to corrosion.
Always run the appliance to prevent condensate formation while cooking. Condensates may cause corrosion damage. Replace the malfunctioning lamp right away to prevent the overloading of other lamps.
Moisture intrusion in electronic parts poses a risk of damage. Never clean the control elements with a wet cloth. The surface could be damaged due to a wrong cleaning process. Clean stainless steel surfaces only in their brushing direction. Do not use a stainless steel cleaner for the control elements.
The surface could be damaged due to aggressive and abrasive cleaning agents. Never use aggressive and abrasive cleaning agents. There is a risk of damage due to condensate liquid backflow. Install the air exit canal with a small downward inclination (1° inclination) from the appliance
USAGE WITH AND WITHOUT CARBON FILTER
You can use this appliance in exhaust air mode and ventilated air mode.
Exhaust air mode
The absorbed air is cleaned by the grease filters and is discharged through a piping system. Fig. 5

NOTICE
Exhaust air must not be transferred to an active smoke or waste gas flue; or a flue used for ventilation of the places, where heat sources are installed.
- If you want to transfer exhaust air to an inactive smoke or waste gas flue, you need to obtain permission from an authorized chimney sweep.
- If the exhaust air is discharged through the external wall, a telescopic wall safe must be used.
Ventilated air mode
Absorbed air is cleaned by the grease filters and an active carbon filter, and then it is transferred back to the kitchen. Fig. 6
Fig. 6: Air Circulation with Carbon Filter
You need to install an active carbon filter, in order to catch the substances, which cause a stink in the circulating air. Consult your authorized dealer to know the different opportunities available for enabling the appliance to function in circulating air mode. You can buy the accessories required for this process from the relevant outlets, authorized technical service or online sales center.
4.1 Replacement of Carbon Filters
- Active Carbon Filter
- Active Carbon Filter
1. active carbon filter (Fig. 7/2) by pulling it towards the direction of the arrow(Fig. 7).
1- Connection screw of the active carbon filter
2- Active Carbon Filter
2. Remove the connection screw of the active carbon filter ( Fig. 8/1) by turning in the direction of the arrow.
3. Remove the active carbon filter (Fig. 9).
4. Make the active carbon filter reusable by holding in at 175
– 200 °C for 60 – 90 minutes in the oven.
Placing the active carbon filter
5. Attach the active carbon filter by performing the reverse of the procedures given above.
CLEANING AND PREVENTIVE MAINTENANCE
CAUTION
Cleaning and user maintenance of the appliance shall not be performed by unattended children.
- The surface could be damaged due to aggressive and abrasive cleaning agents. Never use aggressive and abrasive cleaning agents. Procure your cleaning and protective substances that are appropriate for your appliance from the authorized technical service. The surface of the appliance and control units is sensitive to scratching.
- Clean the surfaces with a soft and damp cloth, dish-washing liquid, or mild glass cleaning agent. Soften the dry, sticky dirt with a damp cloth. Do not scrape!
- It is not appropriate to use dry cloths, sponges that may scratch, materials that require rubbing, and other aggressive cleaning agents containing sand, soda, acid, or chlorine.
- Clean the stainless steel surfaces in their brushing direction only.
- Do not use stainless steel cleaning agents and wet clothes for control units. Cleaning of metal grease filters Used metal grease filters retain the greasy particles in the moisture and vapor generated in the kitchen. Clean the metal grease filters about every three months, under normal use conditions (1 to 2 hours a day).
- Do not use excessively effective, acidic or alkaline cleaning agents.
- For cleaning the metal grease filters, clean the holder parts of the metal grease filters in the appliance, with a damp cloth as well.
- You can clean the metal grease filters in the dishwasher or by hand.
- Do not apply spray cleaning supplies directly to the product.
- Do not keep flammable and/or heavy decorative items on the product.
5.1 Cleaning the metal oil filters
WARNING
Risk of due to oil sediments in metal oil filter!
- Clean the metal oil filter at least every 2 weeks or when the oil filter cleaning warning is displayed.
- Never operate the hood without a metal oil filter.
Risk of due to oil sediments in the metal oil filter.
NOTICE
Material damage due to falling of the metal oil filter.
Removing the metal oil filters

- Open side suction glass in the direction of the arrow (Fig. 10).

- Press the aluminum filter tab (1) and pull the aluminum filter in the direction of the arrow (Fig. 11).
Hand-cleaning - NOTICE! Material damage due to the wrong detergent!
Soften the metal oil filter in hot water and clean it with a soft brush. - Rinse the metal oil filter or the main waste bin with hot water. Washing n a dishwasher
- Place the active carbon filter in the dishwasher loosely and steeply and without any other dishes.
- Start a program with a maximum temperature of 55° C.
Color changes may occur due to cleaning in the dishwasher. This will not adversely affect the oil filter or main waste bin functions.
After cleaning - Allow the metal oil filter to dry on an absorbent coaster.
- Inserting the metal oil filter or main waste bin Insert the main waste bin and metal filter by following the instructions above in reverse.
DESCRIPTION OF THE APPLIANCE

| 1- Touchscreen Control Panel | 5- Body |
| 2- 2x Short Bracket | 6- Motor Box |
| 3- Electronic Circuit Box | 7- 2x Short Bracket |
| 4- Switch Patch Cord Connection Socket | 8- Motor Box Main Connection Socket |
| 11- Housing Main Connection Socket | |
6.1 Installation and Unpacking of the Appliance
- Check that your appliance is not deformed.
- Report any transport issues immediately to the transport operator.
- Any faults encountered shall be reported to the dealer, too.
- Do not allow children to play with the packaging materials!
6.2 Recommendations for Energy Saving
- Replace the carbon filters on a regular basis.
- Regularly clean your aluminum filters. Since dirty filters would block the air passage, you might have to use the appliance at a higher speed.
- Use your product according to its 0normal speeds.
- Use at a higher speed would cause an increase in energy consumption.
CONTENT OF PACKAGE

| 1- Product | 7- Remote Control and Battery |
| 2- Electronic Circuit Box | 8- Sealing Gasket |
| 3- Motor Box | 9- 4x 3.9×22 Screw |
| 4- 2X Long Bracket | 10- 4x M4 Washer |
| 5- 2x Short Bracket | 11- 2x 3,5 x 6.5 Screws |
| 6- User Manual |
ASSEMBLY OF PRODUCT

- Parts inside the appliance may have sharp edges. Use protective gloves (Fig. 14).
CAUTION
- The furniture that the appliance will be mounted on should be resistant to 90°C temperature.
- The durability of the furniture that will be mounted on should also be ensured after the cutting operations have been completed.
- Particularly in thin plates the carrying capacity and durability should be provided with suitable support parts. Consider the weight of the appliance by including additional loads.
The reinforcing material used should be heat and moisture-resistant.
The weight of the appliance is specified on the label on the package. - Clean the sawdust after cutting.
Cover the cut surfaces so that they are heat resistant and waterproof. - The cross-sectional surface angle to the working plate should be 90°.
Prepare the kitchen counter where the product will be mounted by taking the scaled illustration into consideration ().
Sealing Gasket
- Attach the supplied sealing gasket around the discharge (Fig. 15).
- Unpack the appliance.

Place the hob carefully inside the discharge that you have prepared on the kitchen counter (Fig. 16).

- Body
- 2x Long Bracket
- 16X 3.5×9.5 Screw
- Install the housing from the lower side using 2 long brackets supplied in installation accessories (Fig. 17)
1- 16X 3.5×9.5 Screw
2- 2x Short Bracket
3- Body - Install the housing from the upper side using 2 short brackets supplied in installation accessories (Fig. 18)
1- Electronic Circuit Box
2- Electronic Circuit Box Connection Screw
3- Rove - Place the hood circuit box at a suitable location in the cabinet. Insert roves to four 3.9×22 screws and mount them inside the cabinet (Fig. 19).
1- Body
2- 8x 3.5 x 6.5 Installation Screw
3- Housing Air Exhaust Cover Plate - Front and rear air exhaust sections are located on the housing. Remove housing air exhaust cover plate according to installation plan (Fig. 20).
1- Body
2- 8x 3.5 x 6.5 Installation Screw
3- Housing Air Exhaust Plate - Install air exhaust plate supplied together using 8x 3.5 x 6.5 screws (Fig. 21).

1- Ø150 mm Flexible Pipe - Make the air outlet pipe connection (Fig. 22).
The Air exhaust pipe should have minimum bends and turns. Too many bends and turns will lower the performance of the appliance. The Air exhaust pipe should have minimum bends and turns.
Right and Left Side Air Exhaust Installation - CAUTION! If the air exhaust of the appliance will be from the right or left side, prepare the air exhaust section with the dimensions stated in Section A of the technical drawing ().
Right and left side air exhaust sections are located on the appliance. These sections are delivered closed. Determine air exhaust direction according to your installation plan.
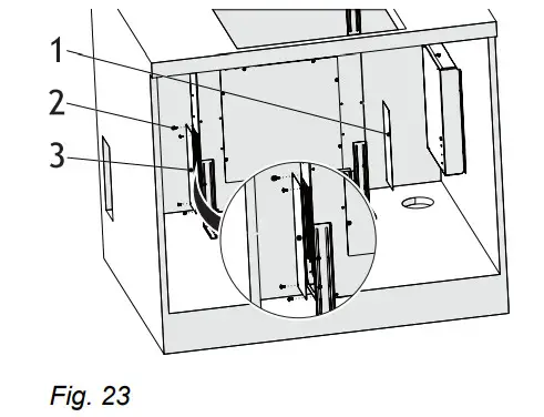
1- Right Air Exhaust Cover Plate
2- 4x 3.5×6.5 Screw
3- Left Air Exhaust Cover Plate - Remove air exhaust cover plate (Fig. 23).
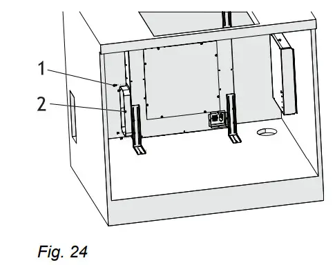
1- 4x 3.5×6.5 Screw
2- Air Exhaust Adaptor - Install air exhaust adaptor on the housing using 4x 3.5×6.5 screws (Fig. 24).

- Left Air Exhaust Cover Plate 1.2021 DOWNDRAFT Hoods
Make air exhaust pipe connection using a suitable dimensioned rectangular pipe (Fig. 25).
1- Feeding Cable
2- Electronic circuit Box – Motor Box Extension Cord
3- Electronic circuit Box – Motor Box Extension Cord - Connect the appliance cables (Fig. 26).
USE OF PRODUCT

| Press the button to move the lift up. “0” will be displayed in the lift is extended less than 20 cm. | |
| Press the button to move the lift down. | |
| Every time you press this button motor speed will be lowered one step until stops. | |
| Every time you press this button motor speed will be increased one step. If the button is pressed for more than 2 seconds Timer function will be activated. | |
| Lights will be turned on and off every time the button is pressed. |
Stopping or re-extending the lift;
Press the button gently to stop and start the lift.![]()
![]()
The lift can be stopped or moved only after it is extended to 20 cm. No action until 20 cm. Once the lift is lowered below 20 cm, the motor stops, and the light is turned off.
The aspirator enters Standby mode. At this time “0” is displayed.
Speed selection;
The appliance has is 4-level ventilation.
One of the low-medium-high ventilation levels is selected according to cooking and frying vapor.
Press the motor control buttons
on the front panel. Electronically controlled models have a TIMER function.
TIMER
LED will start blinking after the motor
start button is pressed for more than 2 seconds. The motor will automatically stop after 15 minutes. Press
or buttons to disable the TIMER function
If “C” is blinking for a short time during the range hood is operating or speed is being changed, this means oil filter cartridges have to be cleaned.
Once the oil filter is cleaned “C” sign should be cleared. In this case, press down the arrow until “E” is displayed, when the range hood is operating. Then, the next cycle of oil filters will be started.
When the product is switched to maximum speed while it is operated, a(b) symbol shall be displayed on the screen. ‘b’ symbol indicates that boost (boost ventilation) mode is active on the model. The product shall operate for 7 minutes in this mode and the ‘b’ symbol shall flash on the screen during this period. After 7 minutes, the product shall automatically switch down one-speed level and shall resume operation at the lower speed level.
It is not possible to use the timer feature in the boost mode.
Remote Controller

Replacing the Battery;

- Battery Slot Cover
- Battery Slot Cover Lock
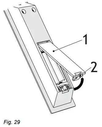
Remove the battery slot cover towards the arrow direction by pressing on the tab (Fig. 29).
There are two batteries in your remote control. Pull the batteries by pressing + poles and remove them from the battery slot (Fig. 30).
Fig. 31: REMOTE CONTROL BATTERY PLACEMENT
If Lighting is Not Functioning:
- Make sure that the plug is plugged in, and that the fuses are intact.
- Check the bulbs. Make sure you unplugged the device before performing this check. Tighten the bulbs if they are loose; you can replace the bulbs if they still don’t work.
Possible Faults and Things that You can do Before Calling Technical Service:
A) If the device does not run in any way:
- Check to see if the hood is plugged in or if the plug fits properly into the socket.
- Check the fuse, to which the appliance is connected, as well as the main fuse of your house.
If the device performance is not enough and it creates high noise while running:
- Is the outlet diameter of the appliance’s flue adequate? (min.120 mm).
- Are the metal filters clean? Please check.
- If you use the hood without a flue, make sure that the carbon filters are not older than 6 months.
- Be attentive to ventilate your kitchen adequately, in order to provide airflow.
If you are still not satisfied with the performance of the appliance, consult the authorized technical service.
Troubleshooting
| Fault description | Cause | Remedy |
| Product Does Not Work | Check the power connection. | The mains voltage must be 220-240 V, and the product must be plugged into a grounded socket. |
| Illumination lamp does not operate | Check the power connection. | The mains voltage must be 220-240 V, and the product must be plugged into a grounded socket. |
| Illumination lamp does not operate | Check the lamp switch. | The lamp switch must be at the “on” position. |
| The illumination lamp does not operate | Check the bulbs. | Bulbs must be operative. |
| Product’s Air Intake is Weak | Check The Aluminum Filter. | The aluminum cartridge filter should be washed once a month under normal conditions. |
| Product’s Air Intake is Weak | Check The Air Outlet Flue. | Air Outlet Flue Must Be Open. |
| Product’s Air Intake is Weak | Check The Carbon Filter. | In products that work with carbon filters, carbon filters must be replaced once every 3 months under normal conditions. |
| It Does Not Discharge Air (in flueless use) | Check The Aluminum Filter. | The aluminum cartridge filter should be washed once a month under normal conditions. |
| It Does Not Discharge Air (in flueless use) | Check The Carbon Filter. | In products that work with carbon filters, carbon filters must be replaced once every 3 months under normal conditions. |

1- Connection screw of the active carbon filter


1- 16X 3.5×9.5 Screw
1- Electronic Circuit Box
1- Body
1- Body
1- Right Air Exhaust Cover Plate
1- 4x 3.5×6.5 Screw
1- Feeding Cable


















