opti Folding Exercise Bike Instructions

Important – Please read these instructions fully before assembly or use
These instructions contain important information which will help you get the best from your equipment and ensure safe and correct assembly, use and maintenance.
If you need help or have damaged or missing parts, call the Customer Helpline: 0345 600 1714or visit / www.argos-support.co.uk
Safety Information
Important – Please read fully before assembly or use
This exercise equipment is built for optimum safety. However, certain precautions apply whenever you operate a piece of exercise equipment. Be sure to read the entire manual before you assemble, operate or use this equipment.
Assembly
- The product must be installed on a stable and level surface. To protect the floor or carpet from damage, place a mat under the exercise bike.
- Make sure you have enough space to layout the parts before starting.
- Keep children and animals away from the work area, small parts could pose a choking hazard if swallowed.
- Dispose of all packaging carefully and responsibly.
- Check you have all the components and tools listed in the parts list, bearing in mind that, for ease of assembly, some components are pre-assembled.
- The assembly of this equipment is best carried out by 2 people.
Using
- It is the responsibility of the owner to ensure that all users of this product are properly informed as to how to use this product safely.
- This product is intended for domestic use only. Do not use in any commercial, rental, or institutional setting.
- Use the equipment only for intended use, as described in this manual. Do not use attachments not recommended by the manufacturer.
- Keep this equipment indoors, away from moisture and dust. Do not put the equipment in a garage, outbuilding, covered patio, or near water.
- Your product is intended for use in clean dry conditions. You should avoid storage in excessively cold or damp places as this may lead to corrosion and other related problems that are outside our control.
- Keep unsupervised children away from the equipment.
- Disabled persons should not use the equipment without a qualified person or doctor in attendance.
- Always wear appropriate workout clothing when exercising. Do not wear loose or baggy clothing, as it may get caught in the equipment. Wear trainers to protect your feet while exercising.
- Do not place any sharp objects around the equipment.
- Keep hands away from all moving parts.
- If any of the adjustment devices are left projecting, they could interfere with the user’s movement.
- Before using the equipment to exercise, always perform stretching exercises to properly warm up.
- Only one person at a time should use the equipment.
- If the user experiences dizziness, nausea, chest pain, or other abnormal symptoms stop the workout and seek immediate medical attention.
- Injuries to health may result from incorrect or excessive training.
- This product is suitable for a maximum user weight of: 100kg.
- This product conforms to: BS EN ISO 20957-1 and -5 Class (H) – Home Use – Class (C).
- This stationary training equipment is not suitable for high accuracy purposes.
- The braking system is adjustable.
Battery safety
- Warning: Incorrect installation of batteries may cause battery leakage and corrosion, resulting in damage to the computer.
- Do not mix old and new batteries, or batteries of different types.
- Do not dispose of batteries in a fire.
- Do not dispose of batteries with normal household waste, take to a local recycling center.
Warning: Before beginning any exercise program, consult your Doctor. This is especially important for persons over the age of 35 or persons with pre-existing health problems.
You MUST read all instructions before using any fitness equipment. Argos and its associates assumes no responsibility for personal injury or property damage sustained by or through the use of this product. Over exercising may result in serious injury or death. If you feel faint stop exercising immediately.
Warning! Heart rate monitoring systems may be inaccurate. For the most accurate heart rate measure, please hold both hand pulse sensors continuously during any program.
Components – Parts
Please check you have all the parts listed below If you have damaged or missing components, call the Customer contact number: 0345 600 1714
Note: Some of the smaller components may be pre-fitted to larger components. Please check carefully before contacting Argos regarding any missing components.
- Main frame x 1

- HandleBar x 1

- Exercise Monitor x 1

- Holder of Monitor x 1

- Stabiliser x 2

- Saddle Stem Instert x 1

- Pedal (R) x 1

- Pedal (L) x 1

- Saddle x 1

Components – Fixings
Note: The quantities below are the correct amount to complete the assembly. In some cases more hardware may be supplied than are required. Some of the fixings are pre-fitted to the larger components. Please check carefully before contacting Argos regarding any missing fixings.
M8 Spring washer x 2 | Screw x 1 | M8 Dome nut x 4 |
M8 Curved washer x 6 | M8 x55mm Carriage Bolt x 4 | Adjuster knob x 1 |
M8 saddle Nut x 3 | M8 Saddle Washer x 3 | Spanner x 1 |
Allen key x 1 | M8 x 35mm Allen Bolt x 2 | M8 x 35mm Allen Bolt x 2 |
Assembly Instructions
Total mass of the product is 13.1 kg.
Total size of the equipment is (width) 42.5cm x (depth) 77cm x (height) 115cm.
- Handlebar
- Saddle Stem Insert
- Stabilizer
- Exercise Monitor
- Saddle
- Pedal(L)
- Pedal(R)
- Adjuster knob
- Holder of monitor
- Main frame


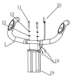
Step 1
Unfold the Main Frame (19). Lock into position using 1 x Locking Pin (23).
Connect the Stabilizer (3) to the Main Frame (19) using 2 x M8 x 55mm Carriage Bolts (14), 2 x M8 Curved Washers (12), and 2 x M8 Dome Nuts (13).
Note: The flat surface of the stabilizer must be placed flat horizontally on the ground. Repeat for the other Stabilizer (3) and tighten all Nuts and Bolts securely.
Assemble the Pedals (Left and Right) (6 & 7) to the Pedal Crank. Both Pedals must be tightened securely other wise damage may occur to the Crank.
Turn clockwise to assemble both the Right Pedal (7) and the Left Pedal (6).


Step 2
Remove the 3 x M8 Saddle Washers (16) and 3 x M8 Saddle Nut (17) from the Saddle (5).
Fit the Saddle (5) to the Saddle Stem Insert (2) refitting the Washers (16) and Nuts (17)previously removed. Attach the Adjuster Knob (8) into the saddle support before you slide the Saddle Stem Insert (2) into the Main Frame. Set the Saddle to the desired height, allowing for a slight bend in the knee at the bottom of the pedal rotation. Re-tighten the Adjuster Knob (8) .


Step 3
Connect the Handlebar (1) to the Main frame (19) using 2 x M8 x 35mm Allen Bolts (11), 2 x M8 Spring Washer (15) and 2 x M8 Curved Washer (12). Attatch the Holder of monitor (9) on the Handlebar (1). Tighten the opening of the Holder (9) with one Screw (10). Slide the Exercise Monitor (4) onto the Holder (9). Connect the Sensor Wire (20) together. Connect the 2 Pulse Wires (18) together.
WARNING! Heart rate monitoring systems may be inaccurate.
Over exercise may result in serious injury or death. If you feel faint stop exercising immediately
Workout Area
The free area must be at least 0.6m greater than the training area. This is a space where you can safely dismount, without obstruction, in case of an emergency. here two pieces of equipment are positioned adjacent to each other the free area may be shared.

Only one person should be within the training area when the equipment is in use.
Exercise Information
Before starting
Tailor your exercise program according to your physical condition. If you have been inactive for several years, or are overweight, you must start slowly and increase your time on the equipment; a few minutes per workout increase is advisable.
Please remember these essentials:
- Have your doctor review your training and diet programs to advise you of a workout routine you should adopt.
- Begin your training program slowly with realistic goals.
- Monitor your pulse frequently. Establish your target heart rate based on your age and condition.
- Set up your equipment on a flat even surface with adequate training area, as prescribed in this manual.
Exercise intensity
To Maximize the benefits of exercising, it is important to exercise with the proper intensity. The intensity level can be found by using your heart rate as a guide. For effective aerobic exercise, your heart rate should be maintained at a level between 65% and 85% of your maximum heart rate as you exercise. This is known as your target zone. You can find your target zone in the table below.
During the first few months of your exercise program, keep your heart rate near the low end of your target zone as you exercise. After a few months, your heart rate can be increased gradually until it is near the middle of your target zone as you exercise.
To measure your heart rate, stop exercising but continue moving your legs or walking around and place two fingers on your wrist. Take a six-second heartbeat count and multiply the result by 10 to find your heart rate. For example, if your
six-second heartbeat count is 14, your head rate is 140 beats per minute.
(A six-seconds count is used because your heart rate will drop rapidly when you
stop exercising.) Adjust the intensity of your exercise until your heart rate is at the
required level.
Muscle chart
Aerobic Exercise
Aerobic exercise improve the fitness of your lungs and heart – your body’s most important muscle. Aerobic exercise fitness is promoted by any activity that uses your large muscles (arms, legs, or buttock, for example).
Weight Training
Along with aerobic exercising which helps get rid of and keep off the excess fat that our bodies can store, weight training is an essential part of the exercise routine process. Weight training helps tone, build and strengthen muscle. If you are working above your target zone, you may want to do a lower number of reps.
Targeted Muscle Groups
The exercise routine that is performed on the exercise bike will develop the upper and lower body muscle groups. These muscle groups are highlighted on the muscle chart below.
Front
- Trapezius
- Anterior Deltoid
- Pectoralis Major
- Serratus Anterior
- Biceps
- Abdominal
- Sartorius
- Quadriceps
- Tibialis Anterior

Back
- Trapezius
- Posterior Deltoid
- Triceps
- Latissimus Dorsi
- Gluteals
- Hamstrings
- Gastrocnemius
Warming up and Cooling down
Each workout should include the following three parts:
- A warm-up, consisting of 5 to 10 minutes of light exercise. A proper warm-up increases your body temperature, heart rate, and circulation in preparation of exercise.
- Training zone exercise, consisting of 20 to 30 minutes of exercising with your heart rate in your training zone. (Note: During the first few weeks of your exercise program, do not keep your heart rate in your training zone for longer than 20 minutes.)
- A cool-down with 5 to 10 minutes of stretching. This will increase the flexibility of your muscles and will help to reduce post-exercise muscle soreness.
Exercise Frequency
To maintain or improve your condition, plan three workouts each week, with at least one day of rest between workout. After a few month of regular exercise, you may complete up to five workouts each week, if desired. Remember, the key to success is make exercise a regular and enjoyable part of your everyday life.
Suggested Stretches
For a correct warm up, see the following basic stretching exercises. Move slowly as you stretch, never bounce.
Toe touch stretch
Stand with your knees bent slightly and slowly bend forward from your hips. Allow your back and shoulders to relax as you reach down toward your toes as far as possible. Hold for 15 counts, then relax. Repeat 3 times.
Stretches: Hamstrings, back of knees and back.
Hamstring stretch
Sit with one leg extended. Bring the sole of theopposite foot toward you and rest it against the inner thigh of your extended leg. Reach toward your toes as far as possible.
Hold for 15 counts, then relax. Repeat 3 times for each leg.
Stretches: Hamstrings, lower back and groin.
Calf/achilles stretch
With one leg in front of the other, reach forward and place your hands against a wall. Keep your back leg straight and your back foot flat on the floor. Bend your front leg, lean forward and move your hips toward the wall.
Hold for 15 counts, then relax.
Repeat 3 times for each leg. To cause further stretching of the achilles tendons, bend your back leg as well.
Stretches: Calves, achilles tendons and ankles.
Quadriceps stretch
With one hand against the wall for balance, reach back and grasp one foot with your other hand. Keeping your bent knee pointing directly downward toward the floor, gentle pull your heel towards your buttock until you feel a gentle stretch in the target area. Hold for 15 counts, then relax.
Repeat 3 times for each leg.
Stretches: Quadriceps and hip muscles.
Inner thigh stretch
Sit with the soles of your feet together and your knees outward. Pull your feet toward your groin area as far as possible. Hold for 15 counts, then relax.
Repeat 3 times.
Stretches: Quadriceps and hip muscles.
Console Operation
RESET: Reset value to zero in each mode.
AUTO ON /OFF: The monitor will switch on automatically when the exercise machine is in motion. The monitor will turn off automatically 4 minutes after use.
Functions:
SCAN: Press Mode until the arrow points to SCAN, the display will automatically rotate between TIME, SPEED, DISTANCE, CALORIES, PULSE, Each
display will be held for 6 seconds.
PULSE: Press Mode until the heartbeat symbol is flickering, the monitor will display your current heartbeat per minute.
TIME: Press Mode until the arrow points to TIME. The monitor will display total riding time.
SPEED: Press Mode until the arrow points to SPEED. The monitor will display the current speed.
DISTANCE: Press Mode until the arrow points to DIST. Monitor will display the trip distance you have travelled.
CALORIES: Press Mode until the arrow points to CAL. The monitor will display total calories burnt.
MODE: Press Mode to choose functions.
| Specifications | ||
| Function | Auto Scan | Every 6 seconds |
| Speed | 0.0-99.9 KWH | |
| Distance | 0.0-999.9 KM | |
| Time | 0:00-99:59 (Minute: Second) | |
| Calories | 0-9999 Kcal | |
| Pulse | 40-240 BPM | |
| Sensor | No-contact magnetic type | |
| Battery type | 2 x SIZE-MA (not included) | |
| Operation temperature | 0°C – +40t (32-K – 104X) | |
Replacing the batteries
- Remove the battery cover on the back of the computer .
- Replace 2×1.5V(AAA) batteries .
- Make sure the batteries are installed correctly and the polarities are correct .
- The battery life is approx. 10 months under normal usage.
- When the batteries are removed ,all values will reset to Zero

Adjustment of Resistance
Adjustment of Resistance level by turning the step less tension knob either to the right (increase) or left (decrease).
Adjustment of Seat Height
Unlock the Adjuster Knob (8) and pull or push the saddle post to adjust the seat height.
Do not pull over the MAX mark for maximum height or push down below MIN mark for minimum height.
Folding away your Exercise Cycle
Insert the Locking Pin (23) through the three holes to lock the folding position in place as depicted in the illustration.
Folded dimension of the exercise cycle is 40 x 42.5 x 132 (H) cm.
Care and Maintenance
- The safety level of the equipment can only be maintained if it is examined regularly for damage and wear e. g. ropes, pulleys and connection points.
- Lubricate moving parts with light oil periodically to prevent premature wear. To prevent damage to the computer, keep liquids away and keep it out of direct sunlight.
- Inspect and tighten all parts before using the equipment. Replace defective components immediately and/or keep the equipment out of use until repair. Pay special attention to components most susceptible to wear.
- The equipment can be cleaned using a damp cloth and mild non – abrasive detergent. Do not use solvents.
- Do not attempt to repair this equipment yourself. Should you have any difficulty with assembly, operation or use of your exercise product or if you think that you may have parts missing, contact the manufacturer, their approved service agent or the
Customer Helpline:
0345 600 1714 www.argos-support.co.uk
Guarantee:
For guarantee purposes, please retain your purchase receipt.
Information for Users on Disposal of old Equipment and Batteries
These symbols indicate that equipment with these symbols should not be disposed of as general household waste. If you want to dispose of the product or battery,
please consider the collection systems or facilities for appropriate recycling.
Notice: The sign Pb below the symbol for batteries indicates that this battery
contains lead.

Products

Battery
Exploded Parts Diagram

Parts List
| Ref. | Description | Size/mm | Qty |
| I | Handlebar | 022/C11.2%793 | 1 |
| 2 | Saddle Stem ‘listen | 1 | |
| 3 | Stabiliser | 2 | |
| 4 | Exercise Monitor | 1 | |
| 5 | Saddle | 1 | |
| 6 | Pedal(L) | 1 | |
| 7 | Pedal(R) | 1 | |
| 8 | Adjuster knob | 1 | |
| 9 | Holder of monitor | 1 | |
| 10 | Screw | ST4•25 | 1 |
| 11 | Allen Bolt | M8’35 | 2 |
| 12 | M8 Curved washer | 020’08.5’71.5 | 6 |
| 13 | M8 Dome nut | MB | 4 |
| 14 | Carnage bolts | M8.50 | 4 |
| 15 | M8 Spring washer | 014’08.1’4.2 | 2 |
| 16 | M8 saddle Flat washer | 018’03.5’71.2 | 3 |
| 17 | M8 saddle nut | MB | 3 |
| 18 | Hand pulse wire | 1 | |
| 19 | Main frame | 1 | |
| 20 | Clescnpnon | 1 | |
| 21 | Spanner | 1 | |
| 22 | Allen key | l5 | 1 |
| 23 | Locking pin | ||
| 24 | Tappingscrew | ST4•15 | 2 |
| 25 | Handlebar cap | 2 | |
| 26 | Foam | 01.021.’342 | 2 |
| 27 | Pulse sensor | 2 | |
| 28 | Spout plug | 25•22’11 | 3 |
| 29 | Tapping screw | ST4″18 | 2 |
| 30 | Driving unit frame | 1 | |
| 31 | Bushing | 1 | |
| 32 | Block | 1 | |
| 33 | Magnet | 18•9″5 | 3 |
| 34 | Flange screws | M8″25 | 2 |
| 35 | Crank(L) | ||
| 36 | Crank(R) | 1 | |
| 37 | Chain cover(L) | 1 | |
| 38 | Chain cover(R) | 1 | |
| 39 | Philip’s head screw | M6•10 | 6 |
| 40 | Metal plate la reinforcing | 76’76’72.0 | 2 |
| 41 | Snap rings | Match 017 shaft | 6 |
| 42 | Bearing | 6003 | 4 |
| 43 | Plastic bearing holder | 57’40’20 | 2 |
| 44 | Waue washer | Match 017 shaft | 1 |
| 45 | flywheel | 160,1.6KG5 | 1 |
| 46 | Locknut | M8 | 4 |
| 47 | 0155 belt pulley | 1 | |
| 48 | Shaft sets | 017’146/ | 1 |
| 65’65’13.0 | |||
| 49 | Philip’s head screw | M6’12 | 4 |
| 50 | Magnets bolder | 65’22’3 | 1 |
| 51 | Magnets bracket | 1 | |
| 52 | Snap rings | Match 010 shaft | 2 |
| 53 | Caps | M8’50 | 4 |
| 54 | Pinch roller | 60002/038.1’15.8 | 1 |
| 55 | Pinch roller shah | 017’35.6 | 1 |
| 56 | gat washer | 020’010.2’71.5 | 1 |
| 57 | Locknut | M10 | 1 |
| 58 | Sensor holder | 25’15’9 | 1 |
| 59 | Philip’s head screw | Me8 | 1 |
| 60 | Sensor | 1 | |
| 61 | Belt | 2301 | 1 |
| 62 | Belt | 2401 | 1 |
| 63 | Hex nut | MS | 1 |
| 64 | Screw | M6’50 | 1 |
| 65 | 0150 belt pulley | 0150’11.5 | 1 |
| 66 | 150 belt pulley shaft | 012’93.65 | 1 |
| 67 | Bearing | 608 | 2 |
| 68 | locknut | M6 | 2 |
| 69 | Flat washer | 018’6.5’1.2 | 4 |
| 70 | locknut | MI3 | 2 |
| 71 | Philip’s head screw | 5120 | 3 |
| 72 | Philip’s head screw | 5T18 | 3 |
| 73 | Crank cap | 25 | 2 |
| 74 | Top cover | 1 | |
| 75 | X shaft | 016’92 | 1 |
| 76 | Bushing | 6 | |
| 77 | Hat washer | 9325’08.5’2.0 | 2 |
| 78 | Hexagon socket head cap screw | MVIS | 2 |
Guarantee
Product Guarantee

This product is guaranteed against manufacturing defects for a period of
This product is guaranteed for twelve months from the date of original purchase. Any defect that arises due to faulty materials or workmanship will either be replaced, refunded or repaired free of charge where possible during this period by the dealer from whom you purchased the unit.
The guarantee is subject to the following provisions:
- The guarantee does not cover accidental damage, misuse, cabinet parts, knobs or consumable items.
- The product must be correctly installed and operated in accordance with the instructions contained in this manual.
- It must be used solely for domestic purpose.
- The guarantee will be rendered invalided if the product is re-sold or has been damaged by inexpert repair.
- Specifications are subject to change without notice.
- The manufacturer disclaims any liability for the incidental or consequential damages.
- The guarantee is in addition to, and does not diminish your statutory or legal rights.
- In the event of a problem with the product with in the guarantee period call the Customer contact number: 0345 600 1714 www.argos-support.co.uk
Guarantor: Argos Ltd
489 – 499 Avebury Boulevard
Central Milton Keynes
MK9 2NW









































