DWM-311 4G LTE M2M Modem
Installation Guide
Before You Begin
This Quick Installation Guide gives you step-by-step instructions for setting up your DWM-311 4G LTE M2M Modem. The model you have purchased may appear slightly different from the one shown in the illustrations. For more detailed information about the router, please refer to the User Manual.
Package Contents
This DWM-311 package should include the following items:
- DWM-311
- AC adapter with 5.5 mm DC connector (optional)
- RJ-45 cable
- 2 x external LTE antennas
- Quick Installation Guide
- Warranty Card
If any of the above items are damaged or missing, please contact your local D-Link reseller.
Hardware Overview
Front Panel
| # | Item | Description |
| 1 | Ethernet Port | This is a standard 10/100 Mbps Ethernet port to connect any device via Cat 5/5e/6 RJ-45 cables. |
| 2 | DC Power Input | 5.5 mm barrel connector for power. |
Table 1
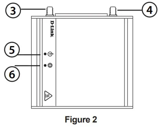
Top Panel

| # | Item | Description |
| 3 | SMA Connector Main’ | SMA female connector – Primary antenna. |
| 4 | SMA Connector AUX’ | SMA female connector- Auxiliary Antenna. |
| 5 | Power | A green LED indicates the DWM-311 is receiving power. |
| 6 | Internet | A green LED indicates Internet connectivity. |
¹Included antennas are interchangeable, but third-party antennas may not be.
Rear Panel 
| # | Item | Description |
| 7 | Reset | Press and hold for 3 seconds to reset |
| 8 | SIM | SIM card slot |
¹Included antennas are interchangeable but third-party antennas may not be.
Hardware Installation
Before You Begin
Observe the following precautions to help prevent shutdowns, equipment failures, and personal injury:
- Install the DWM-311 in a cool and dry place.
Refer to the technical specifications in the user manual for the acceptable operating temperature and humidity ranges. - Install the router in a site free from strong electromagnetic sources, vibration, dust, excessive moisture, and direct sunlight.
- Place antennas in an unobstructed area with clear mobile signal. Avoid metal boxes, brick walls, and other dense materials. It is recommended to use the web interface to confirm signal strength before permanent installation.
- Visually inspect the power connector and make sure that it is fully secure.
- Do not stack any devices on top of the router.
Installing SIM card(s)
The DWM-311 is equipped with dual-SIM slots. At least one active SIM card with Internet access is required for proper operation.
- Remove the security plate to get access to the SIM card slot.
- Insert a micro-SIM card into the slot with the contacts facing down.

- Gently press the micro-SIM into the slot until it locks into place. To remove, press again and the SIM card will be ejected.
- Screw the security plate back on using the two screws removed earlier in order to protect the SIM card slots.
Note: SIM behavior must be configured from the web UI before an Internet connection can be established.
Attach the External Antennas

The DWM-311 requires two external antennas to function correctly. The included antennas are interchangeable, but third-party antennas may require connection to specific ports.
- Attach the antennas to the SMA connectors on the back of the router to the ports labeled “Main” and “Aux.” Turn clockwise to fasten the antenna.
- Place antennas where they will receive optimal signal. Arrange them so they point upward.

Note: The included antennas are interchangeable. Third-party antennas may require connection to specific ports.
Powering the Router
The router features a power input of 5 volts/2 amps. A minimum of 10 watts total power is recommended.
Using the Included AC Adapter
- Attach the barrel connector of included AC adapter to the DWM-311 power port on the front panel.
- Attach the AC adapter to an appropriate AC socket.
Connecting Devices
After the DWM-311 has been successfully installed, the router can be connected to the end device via the following connection method:
Over Ethernet
The Ethernet port can be connected to an end device. Use a standard Category 5/5e/6 RJ-45 Ethernet cable to connect the end device to the router. The port will auto-negotiate to the highest possible port speed based on the connected device. Note that the DWM-311 supports a maximum transfer speed of 150 Mbps over Ethernet.
Management Options
Before You Begin
The D-Link router can be managed by using the Web User Interface (Web UI), Telnet, or D-Link Edge Cloud Solution (D-ECS) management interfaces. If you wish to manage a single D-Link router, the Web UI may be the best option. Each router must be assigned its own IP address, which is used for communication with the management PC. Please refer to the following installation instructions to get started with the Web UI interfaces.
Web User Interface
Once the router has been successfully installed, you can begin configuration, monitor the LED panel, and display graphical statistics using a web browser.
Supported browsers include: Microsoft® Internet Explorer, Firefox, Chrome, and Safari.
You need the following equipment to access the Web UI of your device:
• A PC with an RJ-45 Ethernet port
• A standard Ethernet cable
- Connect the Ethernet cable to the router’s Ethernet port and to the Ethernet port on the PC.
- Configure the PC’s IP address to be in the network segment as the router. The router’s default IP address is 192.168.0.1, with subnet mask 255.255.255.0.
- For example, to connect to the router using the default settings, your PC should have an IP address in the range: of 192.168.0.2-.254 and a subnet mask of 255.255.255.0.
- Open the web browser and enter http://192.168.0.1/ in the address box.
- Log in to the router. The default user name is admin and the default password is admin.
Additional Information
If you are encountering problems setting up your network, please refer to the user manual. It contains much more detailed information to get you up and running with your network. Additional help is available through our offices listed at the back of the user manual or online.
To find out more about D-Link products or marketing information, please visit the D-Link website at: http://www.dlink.com/.
TECHNICAL SUPPORT
Maximum radio-frequency power transmitted in the frequency bands | ||
| Frequency band | Maximum transmit power | |
| GSM | TX 880.2 MHz – 914.8 MHz RX 925.2 MHz – 959.8 MHz | 33.02 dBm |
| DCS | TX 1710.2 MHz-1784.8 MHz RX 18052 MHz – 1879.8 MHz | 26.45 dBm |
| WCDMA FDD I | TX 1922.4 MHz- 1977.6 MHz RX 2112A MHz- 2167.6 MHz | 23.87 d8m |
| WCDMA FDD VIII | TX 882.4 MHz- 912.6 MHz RX 927.4 MHz – 957.6 MHz | 2322 dBm |
| LTE Band 1 | TX 1922.5 MHz- 1977.5 MHz RX 2112.5 MHz – 2167.5 MHz | 22.81 dBm |
| LTE Band 3 | TX 1710.7 MHz-1784.3 MHz RX 1805.7 MHz – 1879.3 MHz | 22.80 dBm |
| LTE Band 7 | TX 2502.5 MHz- 2567.5 MHz RX 2622.5 MHz – 2687.5 MHz | 23.64 dBm |
| LTE Band 8 | TX 880.7 MHz- 914.3 MHz RX 925.7 MHz – 959.3 MHz | 24.09 dBm |
| LTE Band 20 | TX 834.5 MHz- 859.5 MHz RX 793.5 MHz – 818.5 MHz | 23.71 dBm |
| LTE Band 38 | TX/RX 2572MHz .5 MHz – 2617.5 | 24.02 dBm |
| LTE Band 40 | TX/RX 2302MHz .5 MHz- 2397.5 | 22.98 d8m |



















