Altronix NetWay1E Series NetWay1E Midspan Injector, Single Port Installation Guide
Overview
Altronix NetWay1E/NetWay1EV is an enhanced 10/100/1000Base-T PoE midspan power injector. It is fully compliant and backwards compatible with PoE (15W) and PoE+ (30W) devices. The NetWay1E/NetWay1EV is also capable of sourcing up to 85W with devices incorporating LTPoE++™ 70W, 52.7W & 38.7W, requiring up to 70W of power at up to 100m.
Specifications
Agency Listings:
- UL/cUL Listed for Information
Technology Equipment (UL 60950-1). - CE European Conformity.
Input:
- NetWay1E – 115VAC, 60Hz, 1.5A.
- NetWay1EV – 230VAC, 50/60Hz, 0.8A
Data:
- One (1) PoE port provides power and passes data over ethernet (CAT5) cable up to 100m.
- Data rate: 10/100/1000Base-T.
Output Power:
- IEEE 802.3af (15W) & IEEE 802.3at (30W) compliant.
- Supports LTPoE++™ 70W, 52.7W & 38.7W PD compliant devices up to 100m.
- Short circuit and overload protection.
Features:
- Auto detection and protection of legacy non-PoE cameras/devices.
- Port status LEDs.
- Manual PoE shutdown (Spring terminals).
- IEC 320 3-wire grounded line cord (detachable).
Electrical:
- • Operating temperature: 85W: – 20ºC to 49ºC ambient. 55W: – 20ºC to 55ºC ambient.
- 32 BTU/Hr.
- System AC input VA requirement: 172.5VA.
Mechanical:
- Unit can be wall or shelf mounted.
- Enclosure Dimensions (H x W x D approx.): 1.7” x 4.1” x 7.2” (44mm x 105mm x 183mm)
- Product weight (approx.): 2.2 lb. (1.0 kg).
- Shipping weight (approx.): 3.2 lb. (1.45 kg).
Installation Instructions
Wiring methods shall be in accordance with the National Electrical Code/NFPA 70/ANSI, and with all local codes and authorities having jurisdiction.
Wiring should be UL Listed and/or Recognized wire suitable for the application.
NetWay1E/NetWay1EV is intended for indoor use only.
- Place or mount NetWay1E/NetWay1EV in desired location (Fig. 1, pg. 3).
- Plug the grounded AC line cord (included) into the IEC 320 connector of the NetWay1E/NetWay1EV unit.
Plug unit into a reliable earth grounded socket. When using multiple units, the sum of the individual name plate ratings should not exceed the supply circuit rating.
Do not connect to a receptacle controlled by a switch. - Connect structured cable from UL Listed ethernet switch or video server to RJ45 jack marked [IN] on NetWay1E/NetWay1EV (Fig. 1, pg. 3).
- Connect structured cable from PoE device to RJ45 jack marked [OUT] on NetWay1E/NetWay1EV (Fig. 1, pg. 3).
- oE ON LED will illuminate indicating PoE device is turned on (Fig. 1, pg. 3).
- The PoE output voltage may be shutdown by manually applying voltage in the rated range (12VAC to 24VAC or 5VDC to 24VDC) (PoE Shutdown Voltage Range in Technical Specification Table).
Upon applying voltage the output will drop to zero volts. Removal of voltage from the shutdown terminals or applying zero volts to the shutdown terminals will allow the PoE output to operate normally to supply power to PoE compliant devices.
Note: Return to normal operation from shutdown can take about 4 seconds.
When PoE power is removed, devices may still present data signals on line pairs of the structured cable.

Technical Specifications
| Parameter | Description |
| No. of Ports | One (1) |
| Input power requirements | NetWay1E – 115VAC, 60Hz, 1.5A. NetWay1EV – 230VAC, 50/60Hz, 0.8A. |
| Indicators | Port Status and power LED |
| PoE Shutdown Voltage and Current Range | 5VDC to 24VDC or 12VAC to 24VAC. Maximum current: 2mA for 5VDC Maximum current for higher voltages: 10mA. |
| Environmental Conditions | Operating Ambient Temperature: 85W: – 20ºC to 49ºC (– 4ºF to 120ºF) 55W: – 20ºC to 55ºC (– 4ºF to 131ºF) Relative humidity: 85%, +/– 5%. Storage Temperature: – 20ºC to 70ºC (– 4º to 158ºF). Operating Altitude: – 304.8m to 609.6m. |
| Regulatory Compliance | UL/cUL Listed for Information Technology Equipment (UL 60950-1). CE European Conformity. |
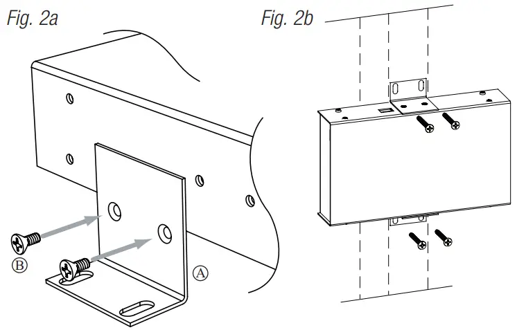
Optional Wall Mount Installation
- Install mounting brackets (A) on the left and right side of rack chassis using four (4) flat head screws (B) (not included) (Fig. 2a).
- Place unit at desired location and secure with mounting screws (not included) (Fig. 2b).
Caution: It is necessary to make sure mounting screws are securely fastened to a beam when installing the unit horizontally.

NetWay1E/NetWay1EV Chassis Mechanical Drawing and Dimensions
(H x W x D approx.):
1.7” x 4.1” x 7.2” (44mm x 105mm x 183mm)

Altronix is not responsible for any typographical errors.
140 58th Street, Brooklyn, New York 11220 USA | 718-567-8181 | fax: 718-567-9056
website: www.altronix.com | e-mail: [email protected] | Lifetime Warranty
IINetWay1E / NetWay1EV

UL/cUL Listed for Information Technology Equipment (UL 60950-1). CE European Conformity.


















