kogan KASTNDDYBLA Freestanding Vacuum and Accessories Stand 
SAFETY & WARNINGS
Read all the following instructions before use. Keep this user guide for future reference.
Ensure that you have received all parts according to the components list prior to assembly. If any parts are missing or faulty, contact help.Kogan.com for support.
- Closely follow the assembly instructions. Improper installation may result in damage or serious personal injury.
- Ensure that the surface the stand will be located on can safely support the combined weight of the equipment and all attached hardware and components prior to use.
- Use only the mounting screws provided. Do not overtighten mounting screws.
- This product contains small items that could be a choking hazard if swallowed. Keep these items away from children.
- This product is intended for indoor use only. Using this product outdoors could lead to product failure and personal injury.
Care At regular intervals (at least every three months) check that the product is secure and safe to use.
COMPONENTS

ASSEMBLY
Step 1:
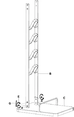
- Align the lower base’s (B) screw holes with the holes located on the base (C).
- Attach the lower base (B) to the base (C) with four mounting screws (E), using the Allen key (G) to tighten.

Step 2:
- Align the upper base’s (A) screw holes with the holes located on the top of the lower base (B).
- Attach the upper base (A) to the lower base with the remaining four mounting screws (E), using the Allen key (G) to secure.

Step 3:
- With the base (C) facing you, screw in the mounting attachment with the bolts (F).
- Align the bolts with the holes on the mount attachment, and the middle holes of the upper base (A).
- Using the wrench (H), secure the bolts on the back of the upper base (A) with the nuts (D). After performing this step, assembly is now complete. You can now mount your vacuum and its accessories onto the stand for use.
NOTE
- This rack is compatible with the mounting attachments for the Dyson V6, V7, VB, V11 and Cyclone V10. Mounting attachments for other vacuums may not be compatible with this rack.
- Mounting attachment is not included.

Need more information?
- We hope that this user guide has given you
- the assistance needed for a simple set-up.
- For the most up-to-date guide for your product,
- as well as any additional assistance you may require, head online to help.kogan.com


























