91996 Reflection Refrigerator
User Manual
91996 Reflection Refrigerator
Dear Valued Customer,
Thank you for your trust on Dawlance Refrigerator.
Dawlance is the largest home appliances manufacturing company in Pakistan. It aims towards advancing the standard of living in Pakisan by producing reliable and affordable electrical products.
Dawlance Refrigerators are known for their reliability, durability and unmatched performance. Great care and attention goes into their designing and production. We want our refrigerators to be able to cater to the needs of all Pakistani consumers so that “DAWLANCE RELIABLE HAl”
PARTS OF YOUR REFRIGERATOR

H-Zone Plus Technology
(1) Fresh Keeping Light
Fresh Keeping Light will operate when you open the door & close, its circuit will continue working till 60 minute after 60 minute fresh keeping light circuit close & fresh keeping light discontinue its working.
The circuit will again continue when you open the door & continue its working till 60 minute after closing the door.
- Fresh Keeping Light stops bacteria from multiplying and provides Hygienic and bacteria free storage giving freshness for longer for Healthy lifestyle. It removes all bad smell from fridge.
- Fresh Keeping Light Preventing diffusion of bacteria that causes vegetables to lose their freshness. This improvement is particularly noticeable in leafy vegetables. It is also helpful to keep the inside of the refrigerator clean and hygienic.
(2) Insect Repellent Circuit
Insect repellant device installed in Dawlance H-Zone plus Refrigerator repels insects in its surrounding.
How it works:
Green light: power indicator Red light: working indicator
- When Refrigerator power on, both green and red lights on.
- After working for 28 seconds device stops working and red light gets off only green light on.
- The working will re-start after 42 seconds and repeat the process.
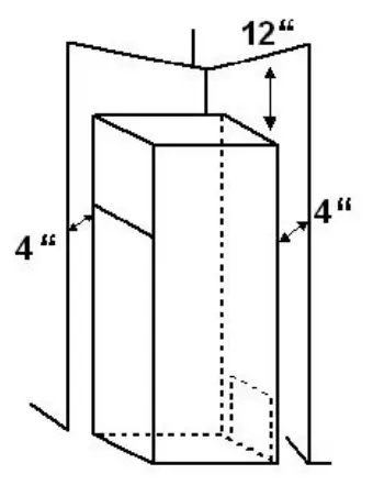
WHERE AND HOW TO PLACE YOUR DAWLANCE REFRIGERATOR
- Place on a hard and plane surface or a wooden chowki.

- Far from heat sources like ovens. stoves etc. as they lower the refrigerator’s cooling performance. increases electrical consumption and reduces the compressor life.

- For proper ventilation there should be minimum 4 inches distance from the sidewalls and 12 inches distance from the ceiling. This will result in efficient performance and less electrical consumption.

- Put it in a dry place. High moisture and splashing of water can cause short circuit & rusting of your refrigerator.
- Avoid power cord from coiling or striping with the unit to avoid short circuit.

- Original 3-pin plug should be used for power; it should never be replaced with a simple 2-pin plug. Use of 3-pin plug is a must for prevention of electric shock. Separate earth (ground) should be available in the house wiring…..
- The unit should be slightly reclined towards the back wall: this can be conveniently done with adjustable levelling legs. It will reduce chances of water coming out from the front portion.
USING THE REFRIGERATOR
Before Using
NECESSARY PRECAUTION
Before turning “ON” your Refrigerator/Deep Freezer ensure to remove all packing accessories including Styrofoam. Wooden pallet, Tape. Corrogated Carton Pieces etc. Also ensure not to cover your electric appliance with any additional plastic or any other protective covering. The presence of the above mentioned material on the unit or in its vicinity may result in unwarrented FIRE hazards.
- Set the thermostat at position 6 or 7.
- Plug in the power cord.
- Run the refrigerator for 3 to 4 hours to cool the compartments before putting in any food and bring back thermostat position at your required level (see table below)
Temperature (Thermostat) Control
The temperature inside the refrigerator may vary according to the frequency of door opening, food status or the amount of food in the refrigerator. Adjust the temperature control dial to change the internal temperature according to the environmental temperature or purpose of use. (Please see the chart).
| Position “0” | Off position |
| Position “2” | When environmental temperature is below 15 °C |
| Position “4” | When environmental temperature is 15 °C – 30 °C |
| Position “5” | When environmental temperature is 30 “C – 35°C |
| Position “6 & 7 | When environmental temperature is above 35 °C |
IMPORTANT:
During rainy season, high humidity tends to make a thick frost on refrigerator’s evaporator plate, causing poor cooling transfer. Remove frost manually as and when required in rainy season by putting thermostat setting at 1 or 2. When refrigerator plate icing is defrosted. return back to thermostat setting as above.
KEEPING THE FOOD AT ITS BEST
Quality and safety of your food depends not only on having the best refrigerator but also on how the food is handled.
When You Go Shopping
- Shop for meat. seafood and poultry last. Don’t leave these in a hot car when you have finished shopping
- Place packages of raw meat, seafood or poultry in plastic bags to keep them from dripping on other food.
Whgn You Stort Food
- Cover moist foods with plastic film, foil or with a tight lid. This would help to keep food stay fresh.
- Perishable items like milk, cream or cottage cheese are better placed in the rear of top shelf.
- Do not overload your refrigerator. This will increase energy consumption.
- Avoid placing hot food in the refrigerator or freezer. Cool it down to room temperature before placing it in the refrigerator or freezer.
- Use the racks or shelves on the door for most frequently used items like juices, water. etc.
- Consume the stored food on ‘first-in first our systems.
- Store raw meat poultry and seafood separate from other foods.
- Clean everything that comes in contact with the food.
- Never taste food that looks or smells strange. Discard the food if you have any doubts.
When You Prepare Food
- Clean everything that comes in contact with food.
- Wash your hands before and after handling food.
- Sanitize counters. equipments and utensils after handling raw meat. seafood or poultry.
- Use clean kitchen towels. sponges and clothes.
- Rinse poultry and seafood in cold water before cooking.
- Do not use the same surface and utensils for preparing raw meat. poultry and seafood as you would for preparing salad ingredients.
- Thoroughly clean your cutting boards (plastic & wooden) with hot water and soap.
DEFROSTING
Refrigerator Compartment
Frost is accumulated when moisture comes in contact with the evaporator. THE MORE FREQUENTLY THE DOORS OF THE REFRIGERATOR ARE OPENED. the more moisture will go in causing heavy frost which will affect cooling performance.
During rainy season, high humidity tends to make a thick frost on refrigerator’s evaporator plate, causing poor cooling transfer. Remove frost manually as and when required in rainy season.
Freezer Compartment
Frequent opening of Freezer Door causes frost to accumulate on the evaporator for which Manual Defrosting method is used for economy and simplicity. Complete defrosting is recommended after every 3 months of as and when required.
- Frost in the freezer section should be removed when the frost thickness is about 1/2 inch.
- Switch off the refrigerator and remove the electric cord from the power point and wait till the frozen food can easily be taken out.
- Remove all frozen food and store it in the refrigerator compartment.
- Scrape off excess ice with the plastic scraper provided.
- Leave the freezer door open or place pans of hot water in the freezer compartment so that remaining frost is melted.
- Water will automatically go into the water tray behind front cross piece cove/ Remove this water tray and clean its contents.
- When the frost has melted. wipe the compartment with dry cloth.
- Set the temperature control dial to the original position, plug in the power cord and restore the food.
CAUTION: Never use knife or metal instruments to remove icelfrast from the evaporator.
GENERAL MAINTENANCE
Cleaning
- Clean the refrigerator regularly to lengthen its life.

- Pull out the power plug before cleaning.
- Do not use water directly inside and outside the refrigerator.
Condenser………………..Clean the shutter of the condenser at least once a year because dust may affect the refrigerators cooling performance.
Exterior…………………… Clean dirty portion using soft cloth dipped in dish washing detergent with warm water. Use a dry cloth for final wipe off.
Interior Plastic Crisper………..Use dish washing detergent to remove dirt and odour.
(Vegetable Case) Gasket………….Clean it frequently with water.
Caution…………………. Clean it with dish washing detergent, especially, bottom side as it can easily get dirty.
- Do not touch the evaporator with wet hands. Your hands can freeze and stick to it causing severe injury.
- Do not open the refrigerator more often than necessary, especially during summer and rainy season.
- Do not keep volatile material (ethylene, benzene alcohol, thinner or glue) inside. There may be a possibility of explosion due to electric contact.

- Do not put cold drink bottles (filled) in the freezer compartment.
- Do not allow children to hang on the door.
- Do not splash water directly on the refrigerator itself.
Avoid using flammable spray like lacquer or paint near the refrigerator because it is dangerous and can cause fire
In Case of Electricity Breakdown
When electricity breaks down, switch off the refrigerator immediately. During electricity breakdown by not to open the refrigerator & freezer doors. In this way inside cooling will be retained for a longer time period and food stuff will be preserved for a longer duration. When the electric supply is restored, put on the unit after 5 minutes in order to avoid voltage fluctuation. This will increase the compressor life.
WHAT TO DO BEFORE CALLING FOR SERVICE
Here are some easy checks you may make yourself before you call for service. You could easly locate the problem and save yourself inconvenience. Ime and most importantly. money.
| SYMPTOMS | CAUSES | SOLUTIONS |
| When the refrigerator does not operate at all. | •There might be a power connection or electrical failure problem. •Is the thermostat dial control at V’ position? | •Check the power cord and plug it in. •Set the thermostat to “1-7” position. |
| When the refrigerator does not operate well. | •Is the refrigerator in sunlight or near a heating device. •Does the refrigerator contain hot food or too much food. •Is the temperature dial in the correct position, •Is the refrigerator door being opened too frequently or let open for long. | •Check the installation place. •Check the condition and storage of the food. •Check the position of the temperature control dial. (see chart on Pg. 5) •Close the door and avoid opening it frequently. |
| When there is a severe noise. | •Is the installation floor uneven. •Is adjustable feet set incorrectly. •Is the refrigerator touching back wall. •Check if compressor tubing* are touching one other. | •Check the installation place. •Adjust the levelling feet. •Place correctly. •Separate the tubings softly. |
| When there are dewdrops on the refrigerator’s exterior. | •High-moisture air during Monsoon seasons. | •Wipe with a dry cloth. |
| When there are dewdrops in the refrigerator’s interior. | •is the refrigerator door being opened too frequently. •Is the refrigerator door left open for long. •High-moisture air during Monsoon seasons. | •Keep the door closed. •Clean the interior with a dry cloth and avoid frequent opening of the door. •Wipe with a dry cloth. |
| When water flows out of the refrigerator. | •Is the drainage passage blocked •Is the drain pipe intact. | •Check the drainage passages. is, ‘. •Fix the pipe properly. |
| When exterior sides of cabinet gets warm | •built-in heating system for anticondensation is used. | •No remedial action required. |
SERVICE
If you have checked all the things in the table and still need a service, than call your nearest customer service centre. Dawlance Places its top priority on satisfaction of its customers. Its service network country-wide network is based on 20 company owned workshops and 44 contract workshops to provide quality service to each and every customer, all over the counrty. `Home Service’ and “Mobile Van Service’ are also availabe for your convenience. 

AN # 021-111-11-7359 (RELY)
Head Office : Dawlance Center 7/4, Civil Lines-9
Dr. Zia uddin Ahmed Road, Karachi.
Ph : (021) 35652450-9
E-mail : [email protected]
Website : www.dawlance.com.pk






Avoid using flammable spray like lacquer or paint near the refrigerator because it is dangerous and can cause fire

















