WarmlyYours Riviera Dual Connection Towel Warmers

Thank you for choosing your finely crafted WarmlyYours Towel Warmer.
Now you can add luxury and comfort to your bathroom with the soothing embrace of a warm towel or bathrobe upon stepping from the shower. The radiant heat from the Towel Warmer warms your towel.
Included in this document are all necessary installation and operation instructions. If you encounter any difficulties while installing your system, installation support is available by phone at (800) 875-5285.
SAFETY INFORMATION 

This towel warmer has a temperature limiting device. When internal temperatures reach 167℉ , the device will stop warming and will then cool down. When temperatures decrease to approximately 149℉ , the heating circuit will reactivate
- Towel Warmers are designed to warm towels and bathrobes only and should not be used for any other purpose.
- Never stand, sit on or hang on the Towel Warmer unit.
- Never allow children to play on or with the Towel Warmer.
- Make sure that the electrical circuit breaker is shut off at the main panel before wiring or servicing your Towel Warmer.
- The Towel Warmer must be properly grounded.
- All wiring must be in accordance with the National Electrical Code and should be performed by a licensed professional who is certified to do electrical wiring.
- Never place your Towel Warmer inside a shower, sauna or steam room.
- Never attempt to warm more than 2 towels on the Towel Warmer at a time. Overloading the Towel Warmer will cause the unit to become extremely hot and may result in a burn if touched.
CLEANING INFORMATION
- Clean the Towel Warmer with a soft, non-abrasive, damp cloth while warm. Once the Towel Warmer has cooled, lightly polish with a soft dry cloth. Do not use abrasive cleaning powders, metal polish or chlorine based cleaners on any part of the Towel Warmer.
INSTALLATION
This appliance must be installed in accordance with the instructions in the manual and the NEC guidelines relating to electrical fixtures in bathrooms. The Towel Warmer must be on a GFCI protected circuit and be wired by a professional who is certified to do electrical wiring.
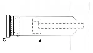
Affixing the Towel Warmer to the Wall
Step 1
Draw a diagram of the preferred location of the brackets on the Towel Warmer box to create a template (see Step 2 for template instructions). At least two of the four brackets must be attached directly to a stud.
The Riviera Plug-In model must be installed less than 6 feet (183cm) from a properly grounded outlet to ensure the plug can reach. Make sure to measure the distance from where the plug is attached to the towel warmer to the electrical outlet. Do NOT use an extension cord to make the connection between the towel warmer plug and outlet.
Step 2
Create the template:
A. Attach brackets into desired positions on the Towel Warmer (see pages 7-8 for bracket assembly for each model).
B. Place Towel Warmer on the box (or a large sheet of paper) and lay on a flat surface with brackets facing downwards.
C. Mark the location of the brackets.
D. Use the template as a guide to mark the wall with the correct locations of the four brackets, ensuring the following:
- Plug-in model must be installed less than 6 feet (183cm) from properly grounded outlet. Do NOT use an extension cord.
- At least two of the brackets are lined up with a wall stud.
- The towel warmer is level.
- Electrical supply wire can enter the Power Leg.
Step 3
Install the brackets onto the wall. Use the drywall anchors that are supplied for the brackets that are not being installed into a stud. Check Down below.
Note: Dimensions shown are distances between the center of anchor points. This example shows 16” on center construction. Your situation may vary depending on your stud spacing.
WARNING: ![]()
Locations of the anchor points may vary. Measure all dimensions prior to rough-in and installation.
Riviera: Anchor Points

* Note: Left anchor points should be attached to a stud, if possible.
Diagram B: Rough-In Diagram
Note: Dimensions shown are distances between the center of anchor points. This example shows 16 inches on center construction. Your situation may vary depending on stud spacing.
WARNING: Locations
of anchor points may vary. Measure all dimensions prior to rough-in and installation

Bracket Assembly Instructions
Diagram C: Bracket Assembly Diagrams





Parts List



| Riviera and Infinity Power Leg | |||
| Part Number | Description | Quantity | Partslist ID |
| 0005-58140-0002 | Leg, Mounting, Brushed | 3 | A |
| 0005-58120-0002 | Leg, Mounting, Polished | 3 | A |
| 0005-58300-0000 | Screw, Leg to Rail, M8x20, Socket | 3 | B |
| 0005-58110-0000 | Bracket, Round, Mounting, Full | 3 | C |
| 0005-58200-0001 | Screw, Set, Allen, Socket, M5*6 | 4 | D |
| 0005-58200-0002 | Screw, Set, Allen, Socket, M5*6, Power Leg | 1 | E |
| 0005-58500-0000 | Anchor, Wall | 4 | F |
| 0005-58200-0001 | Screw, Bracket Mounting, ST4.2*40, Phillips, | 4 | G |
| 0005-58110-0000 | Bracket, Mounting, Power Leg, 3/4 size | 1 | H |
| 0005-51900-0001 | Wrench, Hex, 6mm | 1 | I |
| 0005-58810-0001 | Collar, Leg, Brushed | 4 | J |
| 0005-58120-0004 | Collar, Leg, Polished | 4 | J |
| 0005-58790-0000 | Plug, Plastic, Power Leg | 1 | K |
| 0005-51900-0000 | Wrench, Hex, 2.5mm | 1 | L |
| 0005-58140-0003 | Leg, Mounting, Power, Brushed | 1 | M |
| 0005-58120-0003 | Leg, Mounting, Power, Polished | 1 | M |
| AK05-58040-0000 | Parts Kit Infinity Infinity, Power Leg, Brushed | 1 | N/S |
| AK05-58020-0002 | Parts Kit Infinity Infinity, Power Leg, Polished | 1 | N/S |
Installation Instructions (Plug-in)
Tools required








Plug-In Model Only
Plug the cord into a properly grounded outlet. Do NOT use an extension cord to make the connection between the towel warmer plug and outlet.
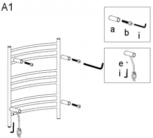
Step 1
Hold the towel warmer in place while tightening the hex-head screws D at the base of each section of tubing A using the smaller Allen wrench L provided to secure the towel warmer in place.
Step 2
Make sure the unit is turned on using the ON/OFF switch located at the bottom rail on the left side (when facing the towel warmer). A light will illuminate the switch when the switch is turned to the “ON” position. Refer to Diagram D for switch location.

Step 3
Measure for bracket positions using the template if desired. At least two brackets must be attached to a stud.
Step 4
Affix brackets C and H to the wall using screw g and drywall anchor f where necessary.
Repeat Step 4 for the remaining brackets.
Step 5
Place and orient the legs A and M with the threaded inserts located at four points on the back of the towel warmer. Affix legs (A and M) to the threaded inserts with bolt B and tighten using the large Allen wrench i provided.
Repeat Step 5 for the remaining sections of tubing.
Step 6
Loosen the hex-head screws D at the base of each section of legs A using the
smaller Allen wrench L provided. Hang towel warmer by aligning and sliding all four sections of legs A and M over bracket C and H. Partially tighten hex-head screws D at the base of each section of tubing A and M to hold the towel warmer in place but do NOT fully secure the fasteners at this time. Verify that bracket H is rotated to allow set screw to engage to it.
Hardwired Assembly and wiring
Step 1. Cut power cord as shown.
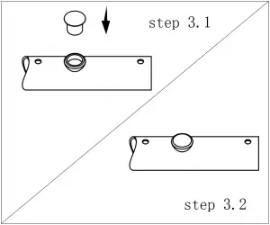
Step 2. Remove Power Leg.
Step 3. Install plastic plug into Power Leg.
Step 4. Using the template marking made on the wall, drill hole for power cord, and fish power supply cord out of the wall. Place ¾ size mounting bracket H on the wall and make a mark for the mounting hole.
Step 5. Using an 8mm drill bit, drill hole for the mounting bracket.
Step 6. Insert wall anchor into wall, next to the power cord.
Step 7. Use screw to attach ¾ size mounting bracket.
Step 8. Place collar onto Power Leg and feed power supply cord through the Power Leg.
Step 9. While having assistant hold the towel warmer in place, make power connections. See connection section in this manual.
Step 10. Push connected wires into Power Leg.
Step 11. Push towel warmer onto all 4 mounting brackets.
Step 12. To fasten the towel warmer to the wall, tighten the 2 set screws on the Power Leg and tighten the single set screw on the 3 other legs.
Step 13. Have a licensed electrician make connections to the GFCI protected. circuit.
Step 14. Remove plastic shipping caps from vertical bars of towel warmer.
Hardwire Assembly and Wiring (Diagram E)








Electrical Considerations
Diagram F: Wiring Diagram (hardwired models only)

OPERATION
Manual
Use the ON/OFF switch located on the bottom right side (when facing the towel warmer) to control when you want the unit to warm. Refer to Diagram D for switch for location.
With a Control
You may want to pair your towel warmer with a compatible WarmlyYours timer or switch. Make sure to refer to the installation manual of the control for proper operation and installation. If you have any questions, call 800-875-5285.
Your WarmlyYours Towel Warmer is designed to gradually warm towels and works best when towels are left to hang for at least 1 hour.
For optimum operation of your new towel warmer, we recommend placing no more than two (2) towels at a time on the warmer. Place the towels in a way to maximize the contact area between the towel and the towel warmer. The towel will be its warmest when it is placed over the top bar. This allows a greater portion of the towel to make the most contact with the warmer.
SPECIFICATIONS
Model | Name | Dimensions | Voltage (Volts) | Heat Output (Watts) | Resistance (ohms) | Amperage (amps) |
TW-R09BS-HP | Riviera – Brushed | 24”w (600mm) x 32”h (790mm) x 6”d (120mm) | 120 | 150 | 96 | 1.25 |
TW-R09PS-HP | Riviera – Polished | 24”w (600mm) x 32”h (790mm) x 6”d (120mm) | 120 | 150 | 96 | 1.25 |
Product Construction – Towel Warmer
The towel warmer is constructed from 304 stainless steel with a wall thickness of between 0.8 mm and 1.2 mm. The towel warmer is heated by a UL listed wire. The mounting brackets are manufactured from stainless steel and finished to match the finish of the specific model.
Connection Method
The heating wire is connected to a non-heated lead by a mechanical crimp connection, sealed with a heat shrink tube. Electricity is fed into the Towel Warmer via a Power Leg. Power can then be fed to the control unit which may be located anywhere in the room.
Safety Ratings
The main electrical line feeding the Towel Warmer must per local and national codes and incorporate an Appliance Leakage Current Interrupter (ALCI) for North America, or GFCI.
WarmlyYours Towel Warmer Warranty
WarmlyYours.com Inc. warrants the WarmlyYours towel warmers (“the Product”) to be free from defects in materials and workmanship for two years from the date of sale, provided that the Product is installed in accordance with the accompanying Installation and Operation Manual and any special written design or installation guidelines provided by WarmlyYours.com Inc. for this product, the National Electric Code (NEC) and Canadian Electrical Code (CEC), and all applicable local building and electrical codes. Controls sold under the WarmlyYours.com Inc. name are warranted for one year from the date of sale.
Any suspected defect must be reported by registered letter immediately upon discovery. The determination of such a defect must be made by WarmlyYours. com Inc. or its authorized representative only. This warranty is null and void if the product is improperly installed, improperly operated, or abused. WarmlyYours. com Inc. assumes no responsibility under this warranty for any damage to the product caused by any trades person, or visitor on the job site, or damage caused as a result of post installation work.
Under this Limited Warranty, WarmlyYours.com Inc. will provide the following remedy:
If the Product is determined to be defective in materials and workmanship, and has not been damaged as a result of misuse or misapplication, WarmlyYours. com Inc. will refund the original purchase price or replace the towel warmer, at WarmlyYours.com Inc. expense. WarmlyYours.com Inc. will not be liable for the labor required to replace the towel warmer.
The Limited Warranty is null and void if the project owner or his representative attempts to repair the Product without receiving authorization. Upon notification of a real or possible problem, WarmlyYours.com Inc., will issue an Authorization to Proceed under the terms of the Limited Warranty.
WARMLYYOURS.COM INC. DISCLAIMS ANY WARRANTY NOT PROVIDED HEREIN, INCLUDING ANY IMPLIED WARRANTY OF MERCHANTABILITY OR IMPLIED WARRANTY OF FITNESS FOR A PARTICULAR PURPOSE.
WARMLYYOURS.COM INC. FURTHER DISCLAIMS ANY RESPONSIBILITY FOR SPECIAL, INDIRECT, SECONDARY, INCIDENTAL, OR CONSEQUENTIAL DAMAGES ARISING FROM OWNERSHIP OR USE OF THIS PRODUCT, INCLUDING INCONVENIENCE OR LOSS OF USE. THERE ARE NO WARRANTIES WHICH EXTEND BEYOND THE FACE OF THIS DOCUMENT. NO AGENT OR REPRESENTATIVE OF WARMLYYOURS.COM INC. HAS ANY AUTHORITY TO EXTEND OR MODIFY THIS WARRANTY UNLESS SUCH EXTENSION OR MODIFICATION IS MADE IN WRITING BY A CORPORATE OFFICER.
Please fill in warranty card information at
http://www.warmlyyours.com/towel-warmers/warranty
or call (800) 875-5285 to register via phone.






























