Model No.
S-S50
DVQX2203ZB
F0421TY1022
Operating Instructions
INTERCHANGEABLE LENS FOR DIGITAL CAMERA
S-S50 Interchangeable Lens for Digital Camera
Operating Instructions
INTERCHANGEABLE LENS FOR DIGITAL CAMERA
Thank you for purchasing Panasonic product.
Please read these instructions carefully before using this product, and save this manual for future use. Register online at http://shop.panasonic.com/support (U.S. customers only)
If you have any questions, visit:
USA : http://shop.panasonic.com/support
Canada : www.panasonic.ca/english/support
This lens can be attached for use to a digital camera that complies with the Leica Camera AG L-Mount standard.
It is compatible with a 35 mm full-frame image sensor.
- For smoother recording, we recommend updating the firmware of the digital camera/lens to the latest version.
- For the latest information on the firmware or to download/update the firmware, visit the following support website: https://panasonic.jp/support/global/cs/dsc/ (English only)
- L-Mount is a trademark or registered trademark of Leica Camera AG.
- Other names, company names, product names mentioned in this document are trademarks or registered trademarks of the companies concerned.
Information for Your Safety
Keep the unit as far away as possible from electromagnetic equipment (such as microwave ovens, TVs, video games, radio transmitters, high-voltage lines etc.).
- Do not use the camera near cell phones because doing so may result in noise adversely affecting the pictures and sound.
- If the camera is adversely affected by electromagnetic equipment and stops functioning properly, turn the camera off and remove the battery and/or the connected AC adaptor. Then reinsert the battery and/or reconnect the AC adaptor and turn the camera on.
THE FOLLOWING APPLIES ONLY IN THE U.S.A.
FCC Note:
This equipment has been tested and found to comply with the limits for a Class B digital device, pursuant to Part 15 of the FCC Rules. These limits are designed to provide reasonable protection against harmful interference in a residential installation. This equipment generates, uses, and can radiate radio frequency energy and, if not installed and used in accordance with the instructions, may cause harmful interference to radio communications. However, there is no guarantee that interference will not occur in a particular installation. If this equipment does cause harmful interference to radio or television reception, which can be determined by turning the equipment off and on, the user is encouraged to try to correct the interference by one or more of the following measures:
- Reorient or relocate the receiving antenna.
- Increase the separation between the equipment and receiver.
- Connect the equipment into an outlet on a circuit different from that to which the receiver is connected.
- Consult the dealer or an experienced radio/TV technician for help.
FCC Caution:
- Any unauthorized changes or modifications to this equipment would void the user’s authority to operate this device.
This device complies with Part 15 of the FCC Rules.
Operation is subject to the following two conditions: (1) This device may not cause harmful interference, and (2) this device must accept any interference received,
including interference that may cause undesired operation.
Supplier’s Declaration of Conformity
| Trade Name: | Panasonic |
| Model No.: | S-S50 |
| Responsible Party: | Panasonic Corporation of North America Two Riverfront Plaza, Newark, NJ 07102-5490 |
| Support Contact: | http://shop.panasonic.com/support |
THE FOLLOWING APPLIES ONLY IN CANADA.
CAN ICES-3(B)/NMB-3(B
-If you see this symbol-
Disposal of Old Equipment
Only for European Union and countries with recycling systems
This symbol on the products, packaging, and/or accompanying documents means that used electrical and electronic products must not be mixed with general household waste.
For proper treatment, recovery and recycling of old products, please take them to applicable collection points in accordance with your national legislation.
By disposing of them correctly, you will help to save valuable resources and prevent any potential negative effects on human health and the environment.
For more information about collection and recycling, please contact your local authority.
Penalties may be applicable for incorrect disposal of this waste, in accordance with national legislation.
Precautions
Handling of the lens
- When using this lens, take care not to drop, bump, or apply undue force to it. Doing so may cause malfunction or damage to this lens and the digital camera.
- Images may be affected by dust, dirt, and soiling (water, oil, fingerprints, etc.) on the lens surface. Before and after recording, use a blower to blow off dust and dirt from the surface of the lens, then lightly wipe with a soft dry cloth to remove soiling.
- When the lens is not in use, be sure to attach the lens cap and lens rear cap to prevent dust and other particles from accumulating on or entering the lens.
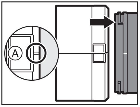
- To protect the lens contact points (A), do not do the following. These may cause malfunction.
– Touch the lens contact points.
– Allow the lens contact points to become dirty.
– Place the lens with its mount surface facing down.

Dust and splash resistant
- Splash Resistant and Dust Resistant are terms used to describe an extra level of protection this lens offers against exposure to a minimal amount of moisture, water or dust. These terms do not guarantee that damage will not occur if this lens is subjected to direct contact with water or dust infiltration.
Take the following precautions to provide satisfactory dust and splash resistant performance. If the lens is not working properly, consult the dealer or Panasonic.
– Attach to a digital camera that is dust and splash resistant.
– When attaching or removing the lens, be careful so that foreign objects such as sand, dust, and water droplets do not adhere to or enter the lens mount rubber, contact points, digital camera and lens.
– If the lens is exposed to water droplets or other liquids, wipe them off with a soft, dry cloth. - To improve the dust and splash resistant performance of the lens, a lens mount rubber is used in the mount.
– The lens mount rubber will leave scuff marks on the digital camera mount, but this does not impact performance.
– For information on changing the lens mount rubber, contact Panasonic.
Condensation (when the lens is fogged up)
- Condensation occurs when the ambient temperature or humidity changes. Please be careful, as it may cause lens stains, mold and malfunction.
- If condensation occurs, turn off the digital camera and leave it for approx. 2 hours. The fog will disappear naturally when the temperature of the digital camera becomes close to the ambient temperature.
- The appearance and specifications of products described in this document may differ from the actual products you have purchased due to later enhancements.
Supplied Accessories
Check that all the accessories are supplied before using the product.
Product numbers correct as of June 2021. These may be subject to change.

- Lens hood
- Lens cap¢
- Lens rear cap¢
Fitted to the lens at the time of purchase.
Names and Functions of Components

- Lens surface
- Focus ring
Rotates the focus ring to focus when set to MF (Manual Focus).
You can set the amount of movement for focusing using the focus ring with the menus in compatible digital cameras. Refer to the operating instructions for the digital camera for details. - AF/MF switch Switches between AF (Auto Focus) and MF (Manual Focus).
When the digital camera is set to MF, the operation will be MF irrespective of the setting on the AF/MF switch. - Contact points
- Lens fitting mark
- Lens mount rubber
Note
While shooting video, in some situations, AF operation of the lens may be heard. In such situations changing to MF will improve this situation.
Attaching the Lens
For information on how to attach the lens, refer to the operating instructions for your digital camera.
- Attach the lens after turning off the digital camera.
- Attach the lens after removing the lens rear cap.
- After removing the lens from the digital camera, be sure to attach the lens cap and lens rear cap to prevent dust and other particles from accumulating on or entering the lens.

Attaching the lens hood
- Align mark A (
) on the lens hood with the mark on the tip of the lens.
- Rotate the lens hood in the direction of the arrow to align mark B (
) on the lens hood with the mark on the tip of the lens.
Attach the lens hood by rotating it until it clicks.
- Removing the lens hood While pressing the lens hood button C, rotate the lens hood in the direction of the arrow and then remove it.

Note
When carrying, the lens hood can be attached in the reverse direction.
- Align mark B (
) on the lens hood with the mark on the tip of the lens. - Attach the lens hood by rotating it in the direction of the arrow until it clicks.

- It is recommended to remove the lens hood during flash photography as the lens hood can block the light from the flash.
- To prevent dropping of the lens, you should never carry the lens by just holding the lens hood.
Notes on filter use
- It is possible to attach the lens cap or the lens hood with the filter already attached.
- There may be some vignetting in recorded images if multiple filters are attached simultaneously.
- It is not possible to attach any items other than filters such as a conversion lens or adaptor to the front of the lens and use it in combination with this lens.
Lens damage may result if such items are attached.
Cautions for Use
- Do not spray the lens with insecticides or volatile chemicals.
– If such substances get onto the lens they can damage the exterior case or cause the paint to peel. - Do not point the lens at the sun or other strong light sources.
– This may cause the lens to collect an excessive amount of light, resulting in fire and malfunction. - Do not use while directly touching the lens at low temperatures for a long period of time.
– In cold places (environments below 0 oC (32 oF), such as ski slopes), prolonged direct contact with the lens may cause skin injury. Use gloves or similar when using the lens for long periods. - When cleaning, wipe lightly using a soft dry cloth that does not produce dust.
– Do not use solvents such as benzine, thinners, alcohol, kitchen cleansers, etc., as this can cause problems such as deformation of the casing or peeling of the coating.
– Do not use wipes with chemicals. - Do not keep products made of rubber, PVC or similar materials in contact with the lens for a long period of time.
- Do not disassemble or alter this product.
- When the lens is not going to be used for a prolonged period, we recommend storing with a desiccant (silica gel).
- Check all the parts before recording when you have not used the lens for a long period of time.
- Avoid using or storing the lens in any of the following locations as this may cause problems in operation or malfunctioning:
– In direct sunlight or on a beach in summer
– In locations with high temperatures and humidity levels or severe changes in temperature and humidity
– In sandy or dusty locations
– Where there is fire
– Near heaters, air conditioners or humidifiers
– Where water may make the lens wet
– Where there is vibration
– Inside a vehicle - Refer also to the operating instructions for the digital camera.
Troubleshooting
A rattling sound, etc. is heard when the digital camera is turned on or off or the lens is shaken.
There is a sound from the lens when taking pictures.
- This is the sound of the internal lenses moving or the aperture operating. It is not a malfunction.
Specifications
The specifications are subject to change for performance enhancement.
INTERCHANGEABLE LENS FOR DIGITAL CAMERA “LUMIX S 50 mm F1.8”
| Mount | Leica Camera AG L-Mount |
| Focal length | f=50 mm |
| Lens construction | 9 elements in 8 groups (3 aspherical lenses, 1 ED lens, 1 UHR lens) |
| Aperture type | 9 diaphragm blades/Circular aperture diaphragm |
| Maximum aperture | F0,2. |
| Minimum aperture value | F22 |
| Angle of view | 47° |
| In focus distance | 0.45 m (1.48 feet) to . (from the focus distance reference line) |
| Maximum image magnification | 0.14x |
| Optical Image Stabilizer | No |
| Filter diameter | 67 mm |
| Maximum diameter | Ø73.6 mm (2.9″) |
| Overall length | Approx. 82.0 mm (3.2″) (from the tip of the lens to the base side of the lens mount) |
| Mass (Weight) | Approx. 300 g (0.66 lb) |
| Dust and splash resistant | Yes |
| Recommended operating temperature | —10 °C to 40 °C (14 °F to 104 °F) |
| Permissible relative humidity | 10 %RH to 80 %RH |
Limited Warranty
(ONLY FOR U.S.A.)
Panasonic Products Limited Warranty
Limited Warranty Coverage (For USA Only)
If your product does not work properly because of a defect in materials or workmanship, Panasonic Corporation of North America (referred to as “the warrantor”) will, for the length of the period indicated on the chart below, which starts with the date of original purchase (“warranty period”), at its option either (a) repair your product with new or refurbished parts, (b) replace it with a new or a refurbished equivalent value product, or (c) refund your purchase price. The decision to repair, replace or refund will be made by the warrantor.
| Product or part name | Parts | Labor |
| Interchangeable Lens for Digital Camera | 1 Year | 1 Year |
| All included Accessories (Except Non-Rechargeable Batteries) | 90 Days | Not Applicable |
| Only Non-Rechargeable Batteries | 10 Days | Not Applicable |
During the “Labor” warranty period there will be no charge for labor. During the “Parts” warranty period, there will be no charge for parts. This Limited Warranty excludes both parts and labor for non-rechargeable batteries, antennas, and cosmetic parts (cabinet). This warranty only applies to products purchased and serviced in the United States. This warranty is extended only to the original purchaser of a new product which was not sold “as is”.
Mail-In Service–Online Repair Request
Online Repair Request
To submit a new repair request and for quick repair status visit our Web Site at http://shop.panasonic.com/support.
When shipping the unit, carefully pack, include all supplied accessories listed in the Owner’s Manual, and send it prepaid, adequately insured and packed well in a carton box. When shipping Lithium Ion batteries please visit our Web Site at http://shop.panasonic.com/support as Panasonic is committed to providing the most up to date information. Include a letter detailing the complaint, a return address and provide a daytime phone number where you can be reached. A valid registered receipt is required under the Limited Warranty.
IF REPAIR IS NEEDED DURING THE WARRANTY PERIOD, THE PURCHASER WILL BE REQUIRED TO FURNISH A SALES RECEIPT/PROOF OF PURCHASE INDICATING DATE OF PURCHASE, AMOUNT PAID AND PLACE OF PURCHASE. CUSTOMER WILL BE CHARGED FOR THE REPAIR OF ANY UNIT RECEIVED WITHOUT SUCH PROOF OF PURCHASE.
Limited Warranty Limits and Exclusions
This warranty ONLY COVERS failures due to defects in materials or workmanship, and DOES NOT COVER normal wear and tear or cosmetic damage. The warranty ALSO DOES NOT COVER damages which occurred in shipment, or failures which are caused by products not supplied by the warrantor, or failures which result from accidents, misuse, abuse, neglect, mishandling, misapplication, alteration, faulty installation, set-up adjustments, misadjustment of consumer controls, improper maintenance, power line surge, lightning damage, modification, introduction of sand, humidity or liquids, or rental use of the product, or service by anyone other than a Factory Service Center or other Authorized Servicer, or damage that is attributable to acts of God.
THERE ARE NO EXPRESS WARRANTIES EXCEPT AS LISTED UNDER “LIMITED WARRANTY COVERAGE”.
THE WARRANTOR IS NOT LIABLE FOR INCIDENTAL OR CONSEQUENTIAL DAMAGES RESULTING FROM THE USE OF THIS PRODUCT, OR ARISING OUT OF ANY BREACH OF THIS WARRANTY.
(As examples, this excludes damages for lost time, travel to and from the servicer, loss of or damage to media or images, data or other memory or recorded content. The items listed are not exclusive, but for illustration only.) ALL EXPRESS AND IMPLIED WARRANTIES, INCLUDING THE WARRANTY OF MERCHANTABILITY, ARE LIMITED TO THE PERIOD OF THE LIMITED WARRANTY.
Some states do not allow the exclusion or limitation of incidental or consequential damages, or limitations on how long an implied warranty lasts, so the exclusions may not apply to you.
This warranty gives you specific legal rights and you may also have other rights which vary from state to state. If a problem with this product develops during or after the warranty period, you may contact your dealer or Service Center. If the problem is not handled to your satisfaction, then write to:
Panasonic Corporation of North America
Consumer Affairs Department 8th Fl.
Two Riverfront Plaza
Newark NJ 07102-5490
PARTS AND SERVICE, WHICH ARE NOT COVERED BY THIS LIMITED WARRANTY, ARE YOUR RESPONSIBILITY.
Product registration is not mandatory. Failure to complete the form does not affect the consumer’s warranty rights.
Limited Warranty
(ONLY FOR CANADA)
Panasonic Canada Inc.
5770 Ambler Drive, Mississauga, Ontario L4W 2T3
PANASONIC PRODUCT – LIMITED WARRANTY
Panasonic Canada Inc. warrants this product to be free from defects in material and workmanship under normal use and for a period as stated below from the date of original purchase agrees to, at its option either (a) repair your product with new or refurbished parts, (b) replace it with a new or a refurbished equivalent value product, or (c) refund your purchase price. The decision to repair, replace or refund will be made by Panasonic Canada Inc.
| Interchangeable Lens for Digital Camera | One (1) year, parts and labour |
This warranty is given only to the original purchaser, or the person for whom it was purchased as a gift, of a Panasonic brand product mentioned above sold by an authorized Panasonic dealer in Canada and purchased and used in Canada, which product was not sold “as is”, and which product was delivered to you in new condition in the original packaging.
IN ORDER TO BE ELIGIBLE TO RECEIVE WARRANTY SERVICE HEREUNDER, A PURCHASE RECEIPT OR OTHER PROOF OF DATE OF ORIGINAL PURCHASE, SHOWING AMOUNT PAID AND PLACE OF PURCHASE IS REQUIRED
LIMITATIONS AND EXCLUSIONS
This warranty ONLY COVERS failures due to defects in materials or workmanship, and DOES NOT COVER normal wear and tear or cosmetic damage. The warranty
ALSO DOES NOT COVER damages which occurred in shipment, or failures which are caused by products not supplied by Panasonic Canada Inc., or failures which result from accidents, misuse, abuse, neglect, mishandling, misapplication, alteration, faulty installation, set-up adjustments, misadjustment of consumer controls, improper maintenance, improper batteries, power line surge, lightning damage, modification, introduction of sand, humidity or liquids, or rental use of the product, or service by anyone other than a Authorized Servicer, or damage that is attributable to acts of God.
Dry cell batteries, printer ink cartridge and paper are also excluded from coverage under this warranty.
Rechargeable batteries are warranted for ninety (90) days from date of original purchase.
THIS EXPRESS, LIMITED WARRANTY IS IN LIEU OF ALL OTHER WARRANTIES, EXPRESS OR IMPLIED, INCLUDING ANY IMPLIED WARRANTIES OF
MERCHANTABILITY AND FITNESS FOR A PARTICULAR PURPOSE. IN NO EVENT WILL PANASONIC CANADA INC. BE LIABLE FOR ANY SPECIAL, INDIRECT OR CONSEQUENTIAL DAMAGES RESULTING FROM THE USE OF THIS PRODUCT OR ARISING OUT OF ANY BREACH OF ANY EXPRESS OR IMPLIED WARRANTY.
(As examples, this warranty excludes damages for lost time, travel to and from the Authorized Servicer, loss of or damage to media or images, data or other memory or
recorded content. This list of items is not exhaustive, but for illustration only.)
In certain instances, some jurisdictions do not allow the exclusion or limitation of incidental or consequential damages, or the exclusion of implied warranties, so the above limitations and exclusions may not be applicable.
This warranty gives you specific legal rights and you may have other rights which vary depending on your province or territory.
WARRANTY SERVICE
For product operation, repairs and information assistance, please visit our Support page: www.panasonic.ca/english/support
For the U.S.A.
Panasonic Corporation of North America
Two Riverfront Plaza, Newark, NJ 07102-5490
http://shop.panasonic.com
For CANADA
Panasonic Canada Inc.
5770 Ambler Drive, Mississauga, Ontario L4W 2T3
www.panasonic.com
Printed in China
Panasonic Warranty
- Subject to the conditions of this warranty Panasonic or its Authorised Service Centre will perform necessary service on the product, without charge for parts or labour, if in the opinion of Panasonic the product is found to have a manufacturing defect within one (1) year or (12 months) (the “warranty period”) from the date of purchase appearing on your purchase receipt.
- This warranty only applies to Panasonic products purchased in Australia and sold by Panasonic Australia, it’s Authorised Distributors, or Dealers, and only where the products are used and serviced within Australia or its territories. Warranty cover only applies to the services that are carried out by a Panasonic Authorised Service Centre and only if valid proof of purchase is presented when the warranty service is requested.
- This warranty only applies if the product has been installed and/or used in accordance with the manufacturer’s recommendations (as noted in the operating instructions) under normal use and reasonable care (in the opinion of Panasonic). The warranty does not cover damage, malfunction or failure resulting from use of incorrect voltages, incorrect installation, accident, misuse, neglect, build-up of dirt or dust, abuse, maladjustment of customer controls, mains supply problems, thunderstorm activity, infestation by insects or vermin, tampering or repair by unauthorised persons (including unauthorised alterations), exposure to abnormally corrosive conditions, or any foreign object or matter having entered the product.
- This warranty does not cover the following items unless the fault or defect existed at the time of purchase:
(a) Consumable parts
(b) Cosmetic parts
(c) Worn or damaged parts
(d) Information stored on Hard Disk Drives, Optical Discs, USB Devices, SD Cards, Tapes
(e) DTV reception issues caused by TV Aerial / Cabling / Wall socket(s) - Some products may be supplied with Ethernet connection hardware. The warranty is limited on such products and will not cover:
(a) Internet and or DLNA connection / setup related problems
(b) Access fees and or charges incurred for internet connection
(c) Incompatible software or software not specifically stipulated in the product operations manual; and
(d) Any indirect or consequential costs associated with the incorrect use or misuse of the hardware, its connection to the internet or any other device. - To claim warranty service, when required, you should:
Contact Panasonic’s Customer Care Centre on 132 600 for Service Centre information.
Confirm the opening and acceptance times with the Authorised Service centre that you choose.
Then send or take the product to a Panasonic Authorised Service Centre together with your proof of purchase receipt.
Any freight and insurance costs associated with the transport of the product to and/or from your nearest Authorised Service Centre must be arranged and paid for by you. - The warranties hereby conferred do not extend to, and exclude, any costs associated with the installation, de- installation or re-installation of a product, including costs related to the mounting, de-mounting or remounting of any screen, (and any other ancillary activities), delivery, handling, freighting, transportation or insurance of the product or any part thereof or replacement of and do not extend to, and exclude, any damage or loss occurring by reason of, during, associated with, or related to such installation, de-installation, re-installation or transit.
Panasonic Authorised Service Centres are located in major metropolitan areas and most regional centres of Australia, however, coverage will vary dependant on product. For advice on exact Authorised Service Centre locations for your product, please telephone our Customer Care Centre on 132600 or visit our website and use the Service Centre Locator.
In addition to your rights under this warranty, Panasonic products come with consumer guarantees that cannot be excluded under the Australian Consumer Law. If there is a major failure with the product, you can reject the product and elect to have a refund or to have the product replaced or if you wish you may elect to keep the goods and be compensated for the drop in value of the goods. You are also entitled to have the product repaired or replaced if the product fails to be of acceptable quality and the failure does not amount to a major failure. If there is a major failure in regard to the product which cannot be remedied then you must notify us within a reasonable period by contacting the Panasonic Customer Care Centre. If the failure in the product is not a major failure then Panasonic may choose to repair or replace the product and will do so in a reasonable period of time from receiving notice from you.
THIS WARRANTY CARD AND THE PURCHASE DOCKET (OR SIMILAR PROOF OF PURCHASE) SHOULD BE RETAINED BY THE CUSTOMER AT ALL TIMES
If you require assistance regarding warranty conditions or any other enquiries, please visit the Panasonic Australia website www.panasonic.com.au or contact by phone on 132 600
If phoning in, please ensure you have your operating instructions available.
Shop Accessories! for all your Panasonic gear Go to http://shop.panasonic.com/support
Get everything you need to get the most out of your Panasonic products Accessories & Parts for your Camera, Phone, A/V products, TV, Computers & Networking, Personal Care, Home Appliances, Headphones, Batteries, Backup Chargers & more… Customer Services Directory For Product Information, Operating Assistance, Parts, Owner’s Manuals, Dealer and Service info go to http://shop.panasonic.com/support
For the hearing or speech impaired TT, 1- 877-833-8855
Manufactured by:
Panasonic Entertainment & Communication Co., Ltd.
1-10-12, Yagumo-higashi-machi, Moriguchi City, Osaka, Japan
Importer for UK:
Panasonic UK, a branch of Panasonic Marketing Europe GmbH
Maxis 2, Western Road, Bracknell, Berkshire, RG12 1RT
Importer for EU:
Panasonic Marketing Europe GmbH
Authorized Representative in EU:
Panasonic Testing Centre
Winsbergring 15, 22525 Hamburg, Germany
Panasonic Australia Pty. Limited
ACN 001 592 187 ABN 83 001 592 187
1 Innovation Road, Macquarie Park NSW 2113
www.panasonic.com.au



















