IKEA HEMMA Cord Set Instruction Manual
Introduction
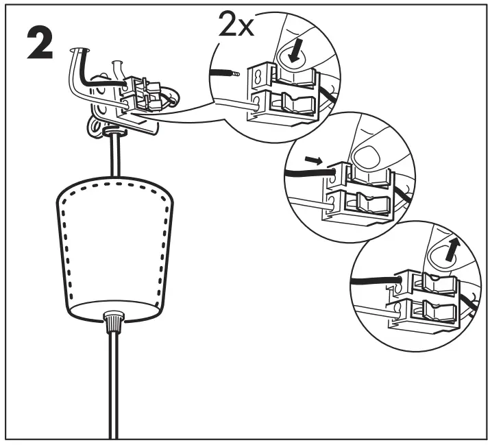
IMPORTANT
Always shut off power to the circuit before starting installation work. In some countries electrical installation work may only be carried out by a authorized electrical contractor. Contact your local electricity authority for advice.

Installation Instruction




Dimensions
Max 2 kg/ 4ib

















