![]()
King Pad M10
User Manual
Tablet with AndroidTM: Please read this manual before operating your tablet, and keep it for further reference.
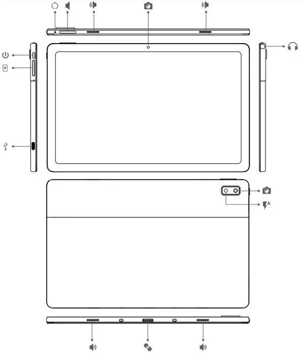
Function Overview

Getting Started
POWER ON/POWER OFF
- Power on: Press and hold the Power button until the LCD screen turns on. Select your language and set up your tablet following the start guide.
- Power off: Press and hold the Power button until the Device Options menu appears, it will show “Power off”, “Restart” and “Screenshot”, select “Power off” to turn off the tablet.

- Reboot: If it’s frozen, press and hold the power button for 7-8s to do a force reboot.
SLEEP MODE
When the tablet is on, you can turn off the screen to save battery power. Simply press the power button once to turn the screen off. Press the power button again to turn the screen back on.
Tip: Go to Settings – Display – Advanced – Sleep to set the time gap for initiating “sleep mode”
BATTERY
A RECHARGEABLE Li-ion battery is installed in the tablet.
We suggest you drain the battery completely once a month if you only use your tablet occasionally.
Do Not dispose of the tablet in a fire.
SCREENSHOT
- Method 1: Press and hold the power button and volume „ _„ at the same time to the screenshot. The screenshot will be saved in the photos file.
- Method 2: Press and hold the Power button until the Device Options menu appears, it will show “Power off”, “Restart” and “Screenshot”, select “Screenshot” to capture a

Home Screen
ICONS ON THE BOTTOM
HOME SETTINGS & WIDGETS & WALLPAPER
Tap and hold your finger in any blank space of the home screen, you will see a pop-up menu: “Home Settings”, “Widgets” and “Wallpaper buttons” will be displayed
- Select “Home Settings”, you can enable/disable “Add icons to Home Screen”. This is applicable to any new Apps installed from “Play Store”. You can also change settings for “pull-down actions”, “notification dots”, “home screen style” and more.
- Select “Widgets”, touch and hold any application (e.g. clock), then slide and add it to the Home screen, remove it by sliding to “X Remove” above.
Tip:
Hold one icon and drag it on top of another icon to create a new folder on the home screen. Open the folder; click ‘Unnamed Folder to rename the folder.
- Select “Wallpapers” to change the current wallpaper of the tablet from default wallpapers, live wallpapers, or photos.
Basic Settings
Swipe down vertically from the top to enter the quick notification menu
Wifi: Tap to connect/disconnect to a wireless network
Bluetooth: Enable/disable the Bluetooth of this tablet
Do not disturb: Block sound after enabling this function
Auto-rotate: Turn on/off the “Auto-rotate” of the screen
Smart saving mode: Tap to choose the power setting you prefer to save battery time
Airplane mode: Turn on/off all network connectivity
Eye comfort: Enable/disable the eye protection function
Screencast: Project your tablet onto a TV or Big Monitor
Tap the
icon to change the options in the “Quick Settings” .
Long press each icon to enter the interface of the detailed setting pages.
DETAILED SETTINGS
Swipe down from the top of the screen, tap the
icons to enter the detailed setting interface. Or, tap the “Settings” app from the home screen to enter.
![]() | ![]() |
Network Connection
- Turn on the Wi-Fi
Tap “Network & Internet” and turn on the “Wifi”, all available connections will be listed. Select your Wifi and input the correct password.
![]() |
Internet Navigation
Please make sure the tablet is connected to a working Wifi network before navigating the internet.
You may use the pre-installed Chrome browser or download one from Play Store
Bluetooth
Please turn on the Bluetooth on your tablet and your Bluetooth device first.
- Enter Settings- connected devices -Pair a new device to enter the scanning Devices available will be displayed after a few seconds.
- Tap the desired device to get a pairing code and click PAIR on both devices. The automatic connection is applied to some devices.

App Management
- Open Play Store on the home screen
- Log in to your Google account, search and download the Apps you need
Move the App
Tap and hold on to the App, slide it onto the desired places.
Remove the App from Home Screen
Tap and hold on to the App, slide to X Remove above, to remove it from your Home Screen.
Uninstall the App
Touch and hold the App, then slide to the
above, to uninstall the App.
Optional Connections
CONNECTING TO A COMPUTER
- Connect your tablet to the computer with a USB cable.
- Go to your computer and find your tablet M10–Tab to transfer files between your tablet and computer
Tips:
Go to Quick Settings, tap Android system Charging this device via USB – Tap for more options – USB computer connection to select the option needed.
| : to charge your tablet |
| : for file transfer |
| : Transfer photos between the devices |
| : Play MIDI instruments on the tablet |
| : enable USB virtual drive |

CONNECTING TO A COMPUTER
![]() | ![]() |
CONNECTING TO AN EXTERNAL SD CARD
- Install the microSD card into the microSD card slot and go to Quick Setting.
- Tap SET UP, Set the microSD card as portable storage by selecting Portage Enter MicroSD Card storage to move files between the card and tablet.

How To Insert The Card
To make sure your tablet be able to call, put the SIM card in the following order.
1 Press the card pin into the side hole and then the card tray will pop up, please pull it out | 2 Take out the card slot and place the SIM CARD or SIM CARD & SD CARD, make sure the bevel angle is aligned with the bevel angle of the card slot and placed in the corresponding card slot. | 3With the tablet facing up, insert the cardholder into the tablet in the direction below. |
![]() | ![]() | ![]() |
Specification
| Display | 10 4″ |
| GPU | 2 CORE, 850MHZ |
| CPU | Octa-Core |
| Chipset | T618 |
| Resolution | 1200*2000 |
| Storage | 128GB (Expandable up to 2TB) |
| RAM | 4GB |
| Operation System | Android 11 |
| Battery | 6000 mAh |
| Audio | Four Stereo Speakers |
| Ports | Type C / earphone port / microSD Card Slot |
| WIFI | 2.4Ghz and 5Ghz |
| Front Camera | 8MP |
| Rear Camera | 13MP |
| Weight | 450g |
| Dimensions | 9.7×6.1×0.3 inches |
| Power supply | DC 5V,2A |
| Bluetooth | BT5.0 |
Troubleshooting
Ql: The tablet doesn’t power on.
- Reboot your tablet after charging for 30 minutes.
- Press the power button in case your device is in sleep mode.
- Press the power button for about 7-8 sec to reboot.
- Press the Reset button with a pin to reboot the tablet.
Q2: The tablet doesn’t charge.
- Keep your device plugged in for 30 minutes if it was completely drained.
- Check and make sure the charger is properly plugged into the charging port.
- Try another compatible USB cable and adapter.
Q3: Error message during operation.
- Uninstall the application with an error message and download it to install again. You can also update certain applications with the error.
- Press the Reset button with a pin to reboot the
Q4. The tablet can’t be detected by the computer.
- Make sure the tablet is powered on.
- Try another USB cable.
- Connect your tablet to a different port on your
- Instead of Charge only, choose Media device (MTP) Or Camera (PTP) when connecting the tablet to the computer.
Q5. The device cannot connect to Wifi.
- Make sure the Wifi in your tablet is ON
- Make sure you input the correct password
- Restart the router.
- Make sure there is no filtering setting or device connection limit in your router
- Forget the original Wi-Fi connection, reset the router, and connect again.
Q6: The storage space of the tablet is not enough.
- Delete any applications you don’t
- Clean the caches in your device
- Install a microSD card to expand the
Q7: The tablet comes with scratches on the screen.
- Check if the scratches are on the film, if yes, please remove the film.
Q8: The screen is unresponsive.
- Check if the screen is dusty or greasy. If yes, please gently wipe the screen with a
Q9: How to use your voice to search for a fact?
- Tap the microphone icon on the Google Search bar, tell the tablet what you want to know and it will show you the search results.
Google, Android, Google Play, and other marks are trademarks of Google LLC
Facebook: @Vastking
Instagram: @Vastking_official
YouTube: @Vastking Official
Twitter: @Vastking official
More product & warranty Info
www.vastking.com
Android is a trademark of Google LLC.
The Android robot is reproduced or modified from work created and shared by Google and used according to terms described in the Creative Commons 3.0 Attribution License.
GoogleTM and Google Chrome’ pre-installed
Google, Android, and Chrome are trademarks of Google LLC.
The Android robot is reproduced or modified from work created and shared by Google and used according to terms described in the Creative Commons 3.0 Attribution License.
Customer Support
North America: [email protected]
United Kingdom: [email protected]
Europe: [email protected]




























