Classic Phono TT-34 Wooden Turntable with USB Connection

CAUTION:
Usage of controls or adjustments or performance of procedures other than those specified herein may result in hazardous radiation exposure.
PRECAUTIONS BEFORE USE
KEEP THESE INSTRUCTIONS IN MIND:
- Do not cover or block any ventilation openings. When placing the device on a shelf, leave 5 cm (2”) free space around the whole device.
- Install in accordance with the supplied user manual.
- Keep the device away from heat sources such as radiators, heaters, stoves, candles and other heat-generating products or naked flame. The device can only be used in moderate climates. Extremely cold or warm environments should be avoided. Working temperature between 0° and 35°C.
- Avoid using the device near strong magnetic fields.
- Electrostatic discharge can disturb normal usage of this device. If so, simply reset and restart the device following the instruction manual. During file transmission, please handle with care and operate in a static-free environment.
- Warning! Never insert an object into the product through the vents or openings. High voltage flows through the product and inserting an object can cause electric shock and/or short circuit internal parts. For the same reason, do not spill water or liquid on the product.
- Do not use in wet or moist areas such as bathrooms, steamy kitchens or near swimming pools.
- The device shall not be exposed to dripping or splashing and make sure that no objects filled with liquids, such as vases, are placed on or near the apparatus.
- Do not use this device when condensation may occur. When the unit is used in a warm wet room with damp, water droplets or condensation may occur inside the unit and the unit may not function properly; let the unit stand in power OFF for 1 or 2 hours before turning on the power: the unit should be dry before getting any power.
- Although this device is manufactured with the utmost care and checked several times before leaving the factory, it is still possible that problems may occur, as with all electrical appliances. If you notice smoke, an excessive build-up of heat or any other unexpected phenomena, you should disconnect the plug from the main power socket immediately.
- This device must operate on a power source as specified on the specification label. If you are not sure of the type of power supply used in your home, consult your dealer or local power company.
- Keep away from animals. Some animals enjoy biting on power cords.
- To clean the device, use a soft dry cloth. Do not use solvents or petrol based fluids. To remove severe stains, you may use a damp cloth with dilute detergent.
- The supplier is not responsible for damage or lost data caused by malfunction, misuse, modification of the device or battery replacement.
- Do not interrupt the connection when the device is formatting or transferring files. Otherwise, data may be corrupted or lost.
- If the unit has USB playback function, the USB memory stick should be plugged into the unit directly. Don’t use an USB extension cable because it can cause interference resulting in failing of data.
- The rating label has been marked on the bottom or back panel of the device.
- 18. This device is not intended for use by people (including children) with physical, sensory or mental disabilities, or a lack of experience and knowledge, unless they’re under supervision or have received instructions about the correct use of the device by the person who is responsible for their safety.
- This product is intended for non professional use only and not for commercial or industrial use.
- Make sure the unit is adjusted to a stable position. Damage caused by using this product in an unstable position vibrations or shocks or by failure to follow any other warning or precaution contained within this user manual will not be covered by warranty.
- Never remove the casing of this device.
- Never place this device on other electrical equipment.
- Do not allow children access to plastic bags.
- Only use attachments/accessories specified by the manufacturer.
- Refer all servicing to qualified service personnel. Servicing is required when the device has been damaged in any way, such as the power supply cord or the plug, when liquid has been spilled or objects have fallen into the device, when the device has been exposed to rain or moisture, does not operate normally, or has been dropped.
- Long exposure to loud sounds from personal music players may lead to temporary or permanent hearing loss.
- If the product is delivered with power cable or AC power adaptor:
- If any trouble occur, disconnect the AC power cord and refer servicing to qualified personnel.
- Don’t step on or pinch the power adaptor. Be very careful, particularly near the plugs and the cable’s exit point. Do not place heavy items on the power adaptor, which may damage it. Keep the entire device out of children’s reach! When playing with the power cable, they can seriously injure themselves.
- Unplug this device during lightning storms or when unused for a long period.
- The socket outlet must be installed near the equipment and must be easily accessible.
- Do not overload ac outlets or extension cords. Overloading can cause fire or electric shock.
- Devices with class 1 construction should be connected to a main socket outlet with a protective earthed connection.
- Devices with class 2 construction do not require a earthed connection.
- Always hold the plug when pulling it out of the main supply socket. Do not pull the power cord. This can cause a short circuit.
- Do not use a damaged power cord or plug or a loose outlet. Doing so may result in fire or electric shock.
- If the product contains or is delivered with a remote control containing coin/cell batteries:
Warning:- “Do not ingest battery, Chemical Burn Hazard” or equivalent working.
- [The remote control supplied with] This product contains a coin/button cell battery. If the battery is swallowed, it can cause severe internal burns in just 2 hours and can lead to death.
- Keep new and used batteries away from children.
- If the battery compartment does not close securely, stop using the product and keep it away from children.
- If you think batteries might have been swallowed or placed inside any part of the body, seek immediate medical attention.
- Caution about the use of Batteries:
- Danger of explosion if battery is incorrectly replaced. Replace only with the same or equivalent type.
- Battery cannot be subjected to high or low extreme temperatures, low air pressure at high altitude during use, storage or transportation.
- Replacement of a battery with an incorrect type that can result in an explosion or the leakage of flammable liquid or gas.
- Disposal of a battery into fire or a hot oven, or mechanically crushing or cutting of a battery, that can result in an explosion.
- Leaving a battery in an extremely high temperature surrounding environment that can result in an explosion or that leakage of flammable liquid or gas.
- A battery subjected to extremely low air pressure that may result in an explosion or the leakage of flammable liquid or gas.
- Attention should be drawn to the environmental aspects of battery disposal.
INSTALLATION
- Unpack all parts and remove protective material.
- Do not connect the unit to the mains before checking the mains voltage and before all other connections have been made.
PREPARATION FOR USE
UNPACKING AND SETTING UP
- Carefully remove the unit from the display carton and remove all packing material from the unit.
- Unwind the AC power plug and extend it to its full length.
- Place the unit on a stable, level surface, convenient to an AC outlet, out of direct sunlight, and away from source of excess heat, dust, moisture, humidity or strong magnetic field.
- Connect the plug to your AC outlet.
- Raise the lid to expose the phonograph. The phonograph has been secured for shipment with a transit screw.
- Use a coin or screwdriver to turn the transit screw clockwise. This will allow the turntable to “float”.
TRANSIT SCREW
- Remove the opaque while plastic stylus cover from the phonograph stylus by sliding it in the direction of the arrow.
Discard the stylus cover.
- Remove the twist-tie that was used to secure the tone arm during shipment.
- Release the tone arm lock lever.
- Connect the plug to your AC outlet.

POWER SOURCE
- This system uses an AC adaptor.
- You should have your outlet changed by a qualified licensed electrician.
- In order to make operation run correctly, the power plug and power jack should be a suitable match.
IMPORTANT: Raising and Lowering the Lid
To open the lid, raise it as far as it will go until the lid support bracket “locks” in the open
position.
To close the lid, lift it upward slightly until the lid support bracket “unlocks”, and then gently
lower the lid.
TO AVOID DAMAGING THE CABINET OR THE LID, NEVER FORCE THE LID
PROTECT YOUR FURNITURE
This model is equipped with non-skid rubber “feet” to prevent the product from moving when you operate the controls. These “feet” are made from non-migrating rubber material specially formulated to avoid leaving any marks or stains on your furniture. However certain types of oil based furniture polishes, wood preservatives, or cleaning sprays may cause the rubber “feet” to soften, and leave marks or a rubber residue on the furniture. To prevent any damage to your furniture we strongly recommend that you purchase small self-adhesive felt pads, available at hardware stores and home improvement centers and apply these pads to the bottom of the rubber “feet” before you place the product on fine wooden furniture.
LOCATION OF CONTROLS AND INDICATORS
FRONT PANEL
- PHONOGRAPH LID
- PHONOGRAPH LID SUPPORT BRACKET
- 45RPM ADAPTOR
- VOLUME CONTROL
- SPEAKERS
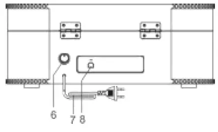
BACK PANEL
- POWER ON/OFF BUTTON
- AC POWER CORD
- USB SOCKET
PHONOGRAPH
- Turntable
- 45RMP Adaptor
- Transit Screw
- Cue Lever
- Speed Selector (33&45&78RPM)
- Tone Arm Lock
- Tone Arm with Stylus
PLAYING RECORDS
This system includes a full-size, 3-speed, belt-drive turntable. You can play 33, 45, and 78RPM records.
- Press the POWER button to turn on the unit.
- Make sure that you have removed the stylus cover from the stylus and have released the Tone Arm Lock that secured the tonearm to the tone armrest.
- Set the turntable Speed Selector to the appropriate speed, 33, 45, or 78RPM. If you are playing 45RPM singles, place the 45RPM adapter on the center spindle.
- Place your record on the center spindle.
- Raise the CUE lever to lift the tonearm off its rest. Move the tonearm to the edge of the record. The turntable starts automatically. Use the CUE lever to gently lower the tonearm onto the record.
- When the tonearm reaches the end of the record it automatically returns to the tone armrest and the record player stops.
- To turn the system “Off”, press and hold the POWER button 2 seconds.
NOTE: Do not turn or stop the turntable manually, Moving or jarring the Turntable without securing the Tone Arm clamp could result in damage to the Tone Arm.
IMPORTANT
- TO PROTECT THE TURNTABLE FROM DAMAGE DURING TRANSPORTATION, A SILVER TRANSIT SCREW IS LOCATED AT THE UPPER RIGHT OF THE TURNTABLE PLATFORM.
- BEFORE PLAYING, PLEASE USE A SCREWDRIVER TO TURN THE TRANSIT SCREW IN A CLOCKWISE DIRECTION (SCREW GOING DOWN) COMPLETELY TO UNLOCK THE TURNTABLE

- TO LOCK THE TURNTABLE AGAIN FOR TRANSPORTATION, PLEASE TURN THE SCREW IN A COUNTER-CLOCKWISE DIRECTION.

AUDACITY SOFTWARE OVERVIEW
Audacity is free software, licensed under the GNU General Public License (GPL). More information as well as open source code can be found on the web at https://www.audacityteam.org/download/
Setting up your PC to work with Audacity
- Connect an input source to the unit.
- Connect the USB lead to your computer.
- Install the Audacity recording software.
- Open the Audacity program.
- Select Preference from the Edit tab in the Audacity Menu.

- Select the Audio I/O tab at the top left.
- Under Playback, Device, select your internal sound card.
- Under Recording, Device, select USB Audio CODEC.
- Under Recording, Channels, select 2 (Stereo).
- Check the box marked Play other tracks while recording new one.
- Check the box marked Software Playthrough.

Recording Albums with Audacity
- 1. Saving a project
- Audacity writes all the changed and recorded audio to a directory called Projectname_data, which is located right where you saved the project file itself.
- Thus, select Save Project as from your Audacity File tab and choose a location and filename for your project.
- Please note that when you startup Audacity fresh, only the “Save As…” menu option is available.

- How to record
- Set your USB turntable up to play the song or album you want to record.
- Click on the red Record button
begin recording. - Lower tonearm on USB turntable onto album and track you want to record.
- Click on the blue Pause button
pause the recording. Press it again to continue. - Click on the yellow Stop button.

That’s it. You can now play around with your recording and explore the editing capabilities of Audacity. Remember that you can use the Undo function almost without limits while the project is open.
NOTE: CDs cannot be burned directly from the Audacity application. Other CD-burning applications should be used.
Guarantee
Lenco offers service and warranty in accordance to European law, which means that in case of repairs (both during and after the warranty period) you should contact your local dealer.Important note: It is not possible to send products that need repairs to Lenco directly. Important note: If this unit is opened or accessed by a non-official service center in any way, the warranty expires.
Disclaimer
Updates to Firmware and/or hardware components are made regularly. Therefore some of the instructions, specifications and pictures in this documentation may differ slightly from your particular situation. All items described in this guide for illustration purposes only and may not apply to a particular situation. No legal right or entitlements may be obtained from the description made in this manual.
Disposal of the Old Device
This symbol indicates that the relevant electrical product or battery should not be disposed of as general household waste in Europe. To ensure the correct waste treatment of the product and battery, please dispose of them in accordance to any applicable local laws of requirements for disposal of electrical equipment or batteries. In so doing, you will help to conserve natural resources and improve standards of environmental protection in the treatment and disposal of electrical waste (Waste Electrical and Electronic Equipment Directive).
CE Marking
Hereby, Lenco Benelux B.V., Thermiekstraat 1a, 6361 HB Nuth, The Netherlands, declares that this product is in compliance with the essential EU directive requirements.
The declaration of conformity may be consulted via [email protected]
Service
For more information and helpdesk support, please visi www.lenco.com Lenco Benelux BV, Thermiekstraat 1a, 6361 HB, The Netherlands.








begin recording.
pause the recording. Press it again to continue.


















