WISENET SMT-2212 Security LED Monitor

IMPORTANT SAFETY INSTRUCTIONS
Read these operating instructions carefully before using the unit. Follow all the safety instructions listed below. Keep these operating instructions handy for future reference.
- Read these instructions.
- Keep these instructions.
- Heed all warnings.
- Follow all instructions.
- Do not use this apparatus near water.
- Clean the contaminated area on the product surface with a soft, dry cloth or a damp cloth. (Do not use a detergent or cosmetic products that contain alcohol, solvents or surfactants or oil constituents as they may deform or cause damage to the product.)
- Do not block any ventilation openings, Install in accordance with the manufacturer’s instructions.
- Do not install near any heat sources such as radiators, heat registers, stoves, or other apparatus (including amplifiers) that produce heat.
- Do not defeat the safety purpose of the polarized or grounding-type plug. A polarized plug has two blades with one wider than the other. A grounding type plug has two blades and a third grounding prong. The wide blade or the third prong are provided for your safety. if the provided plug does not fit into your outlet, consult an electrician for replacement of the obsolete outlet.
- Protect the power cord from being walked on or pinched particularly at plugs, convenience receptacles, and the point where they exit from the apparatus.
- Only use attachments/accessories specified by the manufacturer.
- Use only with the cart, stand, tripod, bracket, or table specified by the manufacturer, or sold with the apparatus. When a cart is used, use caution when moving the cart/ apparatus combination to avoid injury from tip-over.
- Unplug this apparatus during lightning storms or when unused for long periods of time.
- Refer all servicing to qualified service personnel. Servicing is required when the apparatus has been damaged in any way, such as power-supply cord or plug is damaged, liquid has been spilled or objects have fallen into the apparatus, the apparatus has been exposed to rain or moisture, does not operate normally, or has been dropped.
Standards Approvals
- Any changes or modifications in construction of this device which are not expressly approved by the party responsible for compliance could void the user’s authority to operate the equipment.
- This device complies with part 15 of the FCC Rules. Operation is subject to the following two conditions: (1) This device may not cause harmful interference, and (2) this device must accept any interference received, including interference that may cause undesired operation.
- This equipment has been tested and found to comply with the limits for a Class A digital device, pursuant to part 15 of the FCC Rules. These limits are designed to provide reasonable protection against harmful interference when the equipment is operated in a commercial environment.
This equipment generates, uses, and can radiate radio frequency energy and, if not installed and used in accordance with the instruction manual, may cause harmful interference to radio communications. Operation of this equipment in a residential area is likely to cause harmful interference in which case the user will be required to correct the interference at his own expense.
BEFORE START
You have to keep in mind the following notices :
- Hanwha Techwin retains the copyright on this manual.
- This manual cannot be copied without Hanwha Techwin’s prior written approval.
- We are not liable for any or all losses to the product incurred by your use of a non-standard product or violation of instructions mentioned in this manual.
- Contact the retailer for troubleshooting help.
SAFETY INSTRUCTIONS
Power
- Do not use a damaged power cord or plug or a damaged or loose power outlet.
- Otherwise, this may result in electric shock or fire.
- Do not touch the power plug with wet hands when removing or plugging the plug into the outlet.
- Otherwise, this may result in electric shock
- Make sure to connect the power cord to a grounded power outlet.
- Otherwise, it may result in electric shock or personal injury.
- Ensure that the power plug is plugged into the power outlet firmly and correctly.
- Otherwise, this may result in fire.
- Do not forcefully bend or pull the power plug and do not place any heavy material on it.
- Otherwise, this may result in fire.
- Do not connect multiple appliances to the same power outlet.
- Otherwise, this may cause fire due to overheating.
- Do not disconnect the power cord while using the product.
- Otherwise, this may result in damage to the product due to electric shock.
- To disconnect the apparatus from the mains, the plug must be pulled out from the mains socket, therefore the mains plug shall be readily operable.
- Otherwise, this may cause electric shock or fire.
- Use only the power cord provided by our company. Do not use the provided power cord of another product.
- Otherwise, this may result in fire or electric shock.
- Connect the power plug to a wall outlet that can be easily reached.
- When a problem occurs with the product, you must unplug the power plug to cut the power off completely. You cannot cut the power off completely using only the power button on the product.
Installation
- Ensure that at least two persons lift and move the product.
- Otherwise, it may be dropped and cause personal injury, and/ or damage theproduct.
- When installing the product in a cabinet or rack, make sure that the front end of the bottom of the product does not project out.
- Otherwise, it may fall or cause personal injury.
- Use a cabinet or rack of a size appropriate to the product.
- Do not place candles, mosquito repellant, cigarettes and any heating appliances near the product.
- Otherwise, this may result in fire.
- Keep heating appliances as far away from the power cord or the product as possible.
- Otherwise, this may result in electric shock or fire.
- Do not install it in a badly ventilated location such as a bookcase or closet.
- Otherwise, this may result in fire due to an increase in the internal temperature.
- When putting the product down, make sure to put it down softly.
- Otherwise, this may result in damage to the screen display.
- Do not place the front of the product on the floor.
- Otherwise, this may result in damage to the screen display.
- Ensure that an authorized installation company installs the wall mount.
- Otherwise, it may fall and cause personal injury.
- Make sure to install the specified wall mount.
- Install your product in a well ventilated location. Ensure that there is a clearance of more than 4 inches (10 cm) from the wall.
- Otherwise, it may result in fire due to an increase in the internal temperature.
- Ensure that the packaging vinyl is kept away from children.
- Otherwise, it may result in serious harm (suffocation) if children play with it.
- If the height of your monitor is adjustable, do not place any object or part of your body on the stand when lowering it.
- This may cause damage to the product or the person carrying it.
Clean
- Do not spray cleaner directly onto the surface of the product.
- Otherwise, this may result in the discoloration and distortion of the structure and the screen surface may peel off.
- When cleaning the power plug pins or dusting the power outlet, clean it with a dry cloth.
- Otherwise, it may result in fire.
- When cleaning the product, make sure to disconnect the power cord.
- Otherwise, it may result in electric shock or fire.
- When cleaning the product, disconnect the power cord and clean it with a soft, dry cloth.
- (Do not use chemicals such as wax, benzene, alcohol, thinner, mosquito repellant, lubricant, or cleaner.) These may change the appearance of the product surface and peel off the indication labels on the product.
- Since the product housing is easily scratched, make sure to use the specified cloth only.
- When cleaning the product, do not spray water directly onto the main body of the product.
- Ensure that water does not enter the product and that it is not wet.
- Otherwise, this may result in electric shock, fire or a malfunction.
Others
- The product is a high voltage product. Do not disassemble, repair or modify the product yourself.
- Otherwise, this may result in electric shock or fire. If the product needs to be repaired, contact a Service Center.
- If there is a strange smell or a strange sound or smoke is coming from the product, disconnect the power plug immediately and contact a Service Center.
- Otherwise, this may result in electric shock or fire.
- Do not place this product in a location exposed to moisture, dust, smoke, water, or in a car.
- Otherwise, this may result in electric shock or fire.
- When you drop the product or the case is broken, turn the power off and disconnect the power cord. Contact a Service Center.
- Otherwise, this may result in electric shock or fire.
- Never touch the power cord during a thunderstorm because it could be extremely dangerous.
- Otherwise, this may result in electric shock or fire.
- Do not try to move the monitor by pulling only the wire or the signal cable.
- Otherwise, it may fall and result in electric shock, damage to the product or fire due to damage to the cable.
- Do not lift or move the product back and forwards or right and left while only holding the power cord or signal cables.
- Otherwise, it may fall and result in electric shock, damage to the product or fire due to damage to the cable.
- Make sure that the ventilating opening is not blocked by a table or curtain.
- Otherwise, it may result in fire due to an increase in the internal temperature.
- Do not place any containers containing water, vases, flowerpots, medicines as well as any metal on the product.
- If water or a foreign material enters the product, disconnect the power cord and contact a Service Center.
- This may result in a product malfunction, electric shock, or fire.
- Do not use or keep combustible spray or flammable material near the product.
- Otherwise, this may result in an explosion or fire.
- Do not insert any metal, such as chopsticks, coins, pins and steel, or flammable objects, such as matches or paper, inside the product (through the ventilating openings, input and output terminals, etc).
- If water or foreign material enters the product, disconnect the power cord and contact a Service Center.
- Otherwise, this may result in electric shock or fire.
- When using a fixed screen for a long time, an afterimage or stain may occur.
- If you are not going to use the product for an extended period of time, set it to sleep mode.
- To avoid eyestrain, do not sit too close to the product.
- Do not install it in an unstable location such as an unstable rack or uneven surface or a location exposed to vibrations.
- Otherwise, it may fall and cause personal injury and/or damage the product.
- If you use the product in a location exposed to vibrations, it may damage the product and result in fire.
- If you have to move the product, turn off the power and disconnect the power plug and all the cables connected to the product.
- Otherwise, it may result in electric shock or fire.
- Ensure that children do not hang onto the product or climb up onto the product.
- The product may fall and cause personal injury or death.
- If you do not use the product for a long period of time, disconnect the power cord from the power outlet.
- Otherwise, this may result in overheating or fire due to dust, and may result in fire due to electric shock or leakage.
- Do not place any heavy items or toys or confectionery, such as cookies etc. that may attract the attention of children and to the product.
- Your children may hang onto the product causing it to fall and this may result in personal injury or death.
- Do not place the product in a location exposed to direct sunlight or near any heat such as a fire or heater.
- This may reduce the lifetime of the product, and may result in fire.
- Do not drop any objects onto the product or cause any impact to the product.
- Otherwise, this may result in electric shock or fire.
- Do not use a humidifier near the product.
- Otherwise, this may result in electric shock or fire.
- When there is a gas leak, do not touch the product or the power plug; ventilate immediately.
- If a spark occurs, it may cause an explosion or fire.
- If the product has been turned on for a long time, the display panel becomes hot. Do not touch it.
- Keep the small accessories in a location out of the reach of children. Be careful when adjusting the angle of the product or the height of the stand.
- This may result in personal injury as your hand or fingers may become caught.
- Also, if you tilt the product too far, it may fall and cause personal injury.
- Do not install the product in a location low enough for children to reach.
- Otherwise, it may fall and result in personal injury.
- Since the front part of the product is heavy, install the product on a level and stable surface.
- Do not put any heavy objects on the product.
- This may result in personal injury and/or damage to the product.
PACKAGE CONTENTS
Please unwrap the product, and place the product on a flat place or in the place to be installed. Please check the following contents are included in addition to the main unit.
- Accessory category and quantity may differ depending on sales region.

NAMES AND FUNCTIONS OF EACH PART
Front


Back


Anti-theft Lock
- The locking device shape and locking method depend on the manufacturer. Please refer to the user guide provided with your anti-theft locking device for details.
- The following images are for reference only. Real-life applications may differ.
To lock an anti-theft locking device
- Fix the cable of your anti-theft locking device to a heavy object such as a desk.
- Put one end of the cable through the loop on the other end.
- Insert the locking device into the anti-theft lock slot at the back of the product.
- Lock the locking device.
- An anti-theft locking device can be purchased separately.
- Refer to the instruction manual supplied with the lock for detailed information on how to use it.
- You can purchase a lock at most stores specializing in electronics, or via the Internet.
INSTALLATION
Please take note of the followings before using this product.
- Do not use the product outdoor.
- Do not spill water or liquid in the connection part of the product.
- Do not impose the system to excessive shock or force.
- Do not pull out the power plug forcefully.
- Do not disassemble the product on your own.
- Do not exceed the rated input/output range.
- Use a certified power cord only.
- For the product with an input ground, use a grounded power plug.
BEFORE INSTALLING THE PRODUCT
- Ventilation requirement
If the product is installed in a poorly ventilated area, it might be damaged due to the temperature rising inside the product.
Ensure there is enough space around the product before installation. - Vertical wall mount condition
- A. Minimum 40 mm
- B. Ambient temperature Measuring point <35°C

- Installation conditions for standing monitors

ASSEMBLING THE STAND
Before assembling the product, make sure that its screen is facing down when placing it on a flat and safe surface. Place the product on a soft cloth or product wrapping paper to protect it before installation.
- Assemble the base and neck of the stand.

- Align the grooves on the neck with the grooves of the monitor, and attach them together.

For detaching the stand,
- Press the button behind the monitor to detach the stand from the monitor.

- Push the fixing hook on the stand base to detach the neck from the stand base.

INSTALLING WALL MOUNT PARTS
Installing Wall Mount Kits
The wall mount kit (sold separately) allows you to hang the product on a wall. For more information on wall mounting, refer to the owner’s manual supplied with the wall mount parts. When installing the wall mount, seek the help of a technician. Hanwha Techwin is not responsible for any damage to the product or injury to the user or others caused by any accident due to a user’s attempt to install the product.
Wall Mount Kit Specifications (VESA)
- Install the wall mount kit on a solid wall perpendicular to the floor.
- Please refer to the nearest store when installing on other materials.

- Installing on an inclined wall may cause the product to fall, which can result in serious injury.
- When using a VESA mount, select a product that can hold 4 times the weight of the monitor.
- When you purchase our wall mount kit, you will find a detailed installation guide and all parts required for assembly.
- Do not use screws that are longer than the standard dimensions or that do not conform to the VESA standard screw specifications. Using screws that are too long may damage the inside of the product.
- For wall mount parts that do not conform to the VESA standard screw specifications, the screw length may vary depending on the wall mount specifications.
- Do not over-tighten the screws. The product may be damaged, or may fall, resulting in injury. Hanwha Techwin is not responsible for any damage to the product or injury to the user or others caused by any accident due to a user’s attempt to install the product.
- Hanwha Techwin is not responsible for damage to the product or injury to the user caused by using non-compliant or non-VESA wall mount parts, or by the customer not following the product installation instructions.
- When hanging on a wall, two people should always lift the product.
- The standard dimensions of the wall mount kit are shown in the table below. [Unit: mm]

Connecting with Other device
THINGS TO CHECK BEFORE CONNECTION
- Check before connecting
- When connecting, refer to the instruction manual of the product to be connected. The number and position of external devices may differ depending on the product.
- Do not connect the power until all connections are complete. Connecting the power supply during connection may damage the product.
- Check the type of terminal behind the product you want to connect.
CONNECTING WITH EXTERNAL DEVICES
- Connect the power cable after all cables have been connected. Disconnect the power cable before connecting external devices.
- You can connect the product to external devices in various ways. Select the correct connection method for your external devices.
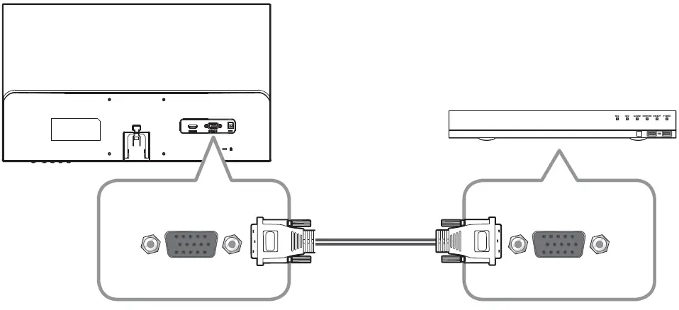
VGA (D-SUB) cable connection method

HDMI cable connection method

The screen adjustment menu can be set.
SCREEN (OSD) MENU SETTINGS
You can adjust menu settings by using the panel keys on the monitor.
- Press the [ 1 ] button to display the main menu.
- Press the < / > buttons to select the main menu, and then press the [ 1 ] button.
- Press the < / > buttons to select the sub-menu, and then press the [ 1 ] button.
- Press the < / > buttons to adjust the adjustment value.
- Press the [ 2 ] button to exit.
NOTE
- To return to the previous screen, press the [ 2 ] button.
- If you do not press any buttons for a certain period of time, the OSD menu screen will disappear.
- You can set the time up to 60 seconds in <OSD settings>; <OSD Timer>.
VIDEO SETTINGS
Sets the screen brightness, color, etc.
- Press the [ 1 ] button to enter the main menu.
- Press the < / > button to select [
] icon, and then press the [ 1 ] button.
- Contrast: Adjusts the difference in brightness between the object and the environment.
- Brightness: Adjusts the brightness of the screen.
- Color Temp.: The color temperature can be adjusted and used depending on the monitor color. You can select from Cool, Normal, Warm, User.
- User: Red/Green/Blue values can be adjusted manually.

- User: Red/Green/Blue values can be adjusted manually.
- Auto Adjust: Adjust the screen’s up and down / left and right ratio automatically. (Only available in VGA mode.)
- Color Adjust: Adjust the light and color of the monitor automatically. (Only available in VGA mode.)
SCREEN SETTINGS
The screen’s size and position can be adjusted. (The menu for screen settings is only available in VGA mode.)
- Press the [ 1 ] button to enter the main menu.
- Press the < / > button to select [
] icon, and then press the [ 1 ] button.
- H.Position: Adjusts the position of the screen to the left or right.
- V.Position: Adjusts the position of the screen up or down.
- Clock: Adjusts the clock when it is too high.
- Phase: Adjusts the focus.
OSD SETTINGS
Sets up OSD values.
- Press the [ 1 ] button to enter the main menu.
- Press the < / > button to select [
] icon, and then press the [ 1 ] button.
- Language: Select the screen language. The initial value is set to <English>.
- OSD H.Pos: Moves the screen of the menu to the left or right.
- OSD V.Pos: Moves the screen position of the menu up or down.
- OSD Timer: The menu screen disappears if the screen does not change for a certain period of time.
- Transparency: Sets the transparency of the menu screen.
SYSTEM SETTINGS
Configures the system.
- Press the [ 1 ] button to enter the main menu.
- Press the < / > button to select [
] icon, and then press the [ 1 ] button.
- Mode: Select a screen mode appropriate for your viewing environment.
- PC: A screen mode for PCs.
- Game: A screen mode appropriate for games.
- Movie: A screen mode appropriate for movies.
- Signal Source: You can select an input mode.(VGA/HDMI)
- Aspect Ratio: You can select a screen size you want.
- 16:9: Screen ratio is 16:9.
- Auto: The optimal aspect ratio changes to 4:3 or 16:9 depending on the input signal.
- 4:3: Screen ratio is 4:3.
- DCR: If you set the DCR (dynamic contrast) to <On>, the dynamic contrast ratio will be automatically adjusted.
- Overdrive: The liquid crystal’s reaction time can be reduced by running it at a higher voltage over a shorter time.
- Mode: Select a screen mode appropriate for your viewing environment.
RESET
Resets the monitor settings to default.
Appendix
PRODUCT OVERVIEW

TROUBLESHOOTING

Hanwha Techwin cares for the environment at all product manufacturing stages, and is taking measures to provide customers with more environmentally friendly products. The Eco mark represents Hanwha Techwin’s devotion to creating environmentally friendly products, and indicates that the product satisfies the EU RoHS Directive.
Correct Disposal of This Product (Waste Electrical & Electronic Equipment)
(Applicable in the European Union and other European countries with separate collection systems) This marking on the product, accessories or literature indicates that the product and its electronic accessories (e.g. charger, headset, USB cable) should not be disposed of with other household waste at the end of their working life. To prevent possible harm to the environment or human health from uncontrolled waste disposal, please separate these items from other types of waste and recycle them responsibly to promote the sustainable reuse of material resources. Household users should contact either the retailer where they purchased this product, or their local government office, for details of where and how they can take these items for environmentally safe recycling. Business users should contact their supplier and check the terms and conditions of the purchase contract. This product and its electronic accessories should not be mixed with other commercial wastes for disposal.
Correct disposal of batteries in this product
(Applicable in the European Union and other European countries with separate battery return systems.) This marking on the battery, manual or packaging indicates that the batteries in this product should not be disposed of with other household waste at the end of their working life. Where marked, the chemical symbols Hg, Cd or Pb indicate that the battery contains mercury, cadmium or lead above the reference levels in EC Directive 2006/66. If batteries are not properly disposed of, these substances can cause harm to human health or the environment. To protect natural resources and to promote material reuse, please separate batteries from other types of waste and recycle them through your local, free battery return system.
Copyright
©2022 Hanwha Techwin Co., Ltd. All rights reserved.
Trademark
Each of trademarks herein is registered. The name of this product and other trademarks mentioned in this manual are the registered trademark of their respective company.
Restriction
Copyright of this document is reserved. Under no circumstances, this document shall be reproduced, distributed or changed, partially or wholly, without formal authorization.
Disclaimer
Hanwha Techwin makes the best to verify the integrity and correctness of the contents in this document, but no formal guarantee shall be provided. Use of this document and the subsequent results shall be entirely on the user’s own responsibility. Hanwha Techwin reserves the right to change the contents of this document without prior notice.
Design and specifications are subject to change without prior notice.






























