Brother PT-P300BT Label Printer
Unpacking the P300BT
Before using your machine, check that the package contains the following components. If any component is missing or damaged, contact your local Brother dealer.

Installing Batteries or Connecting the AC Adapter
This label printer requires six (6) AAA alkaline batteries or six (6) fully-charged AAA Ni-MH batteries, not included. Alternatively, use the optional AC Adapter and plug your machine into an AC socket.

- Hold your machine as shown in the illustration. Open the Battery Cover by pressing the mark on its side (1) and pulling in the direction of the arrow (2).
- Insert six batteries as shown in the illustration inside the case. Alternate the positive and negative poles, making sure the negative poles touch the coil spring in the battery slot.
CAUTION
USING A COMBINATION OF DIFFERENT BATTERIES (SUCH AS ALKALINE WITH Ni-MH) MAY RESULT IN AN EXPLOSION. DISPOSE OF USED BATTERIES ACCORDING TO THE INSTRUCTIONS
CAUTION
- Remove the batteries if you do not intend to use your machine for an extended period of time.
- Dispose of batteries at an appropriate collection point, not in the general waste stream. Be sure to observe all applicable federal, state, and local regulations.
- When storing or discarding a battery, wrap it with cellophane tape 2.
Note: Do not use together old and new batteries. Replace all six batteries at the same time.
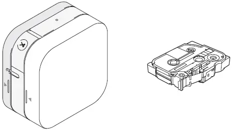
Inserting the Tape Cassette

- Make sure your Tape Cassettes display the TZe mark (TZO). Use only tape widths of 3.5 mm, 6 mm, 9 mm, or 12 mm. If there is a stopper on the T Ze Tape Cassette, remove it before installation
- Insert the Tape Cassette following the drawing marked inside the case. Confirm that the tape is aimed at the green Tape Outlet and gently press the Tape Cassette into your machine until it locks into place.
- Make sure that there is no slack in the tape. To fix any slack, pull the end of the tape out of the Tape Guide.
- When inserting or removing the Tape Cassette, make sure that the tape does not catch on the silver pin (3) or the Print Head.
- Insert the two hooks at the rear of the Cassette Cover into the slots on your machine (4). Push the Cassette Cover making sure it locks into place (5).
Connecting the AC Adapter
If you use the optional AC Adapter:

- Insert the AC Adapter Cord into the AC Adapter Socket on the side of the machine.
- Insert the AC Adapter into an electrical socket.
Press the power button

Pairing Your Machine with Your Mobile Device
On your mobile device:
- In Settings, access the Bluetooth option, and turn it ON.
- When the list of discovered Bluetooth devices appears, tap P300BT**** (where **** is the last four digits of your label printer’s serial number. Alternatively, you can find your machine number on the sticker below the Power Button). The unit’s serial number is located where the T Ze Tape Cassette is set inside the Cassette Cover.

If asked to enter PlN Code, enter “0000“.

Note:
- Pairing instructions may differ slightly, depending on the mobile device you are using.
- If your machine is not discovered by your mobile device, your machine may already be connected to another device. If so, locate the mobile device paired with your machine, turn off Bluetooth on that device, and then turn your machine off and then on again.
- If your machine is moved too far from your mobile device, it may disconnect.
- If this happens, repeat these steps near the label printer to pair them again. If using a Smart Cover on your tablet, ensure that the cover remains open while you are creating or printing labels. Closing the Smart Cover may interrupt data communication, and your labels will not print.
APP Store/ Google Play
iPad/iPhone/iPod touch
Download P-touch Design&Print 2 or iPrint&LabeI from the App Store.
Android
Download P-touch Design&Print 2 or iPrint&LabeI from Google Play.

Scan the barcode for more info.

FAQ’s
The average lifespan of a printer is around 3-5 years. With proper upkeep and maintenance, some printers can last longer, but eventually, your machine will need an upgrade.
Yes, You can check the printer’s usage log by printing a printer information report from your printer.
Cleaning the four color print heads (black, cyan, magenta, and yellow), adjusting the vertical alignment, and/or replacing the ink cartridges may improve the print quality.
Your Brother Printer could be listed as “Offline” because it is not turned on, it has errors such as empty toner, it is not set as the default printer, or its USB cord or its Network has a connection problem.
Just like computers, printers have volatile memory (RAM) that is removed when you turn the printer off. Volatile memory requires power to store information.
All Brother laser printers include a black toner cartridge that is equally respected and boasts consistently crisp prints at a low operating cost.
If your Brother laser printer has a problem, you can rely on us for fast, local, and guaranteed onsite repairs and maintenance at your home or business. To find your local repair and maintenance price, select your Brother laser printer model from the list and enter your postcode.
Press or select the following: Select [General Setup]. Press OK. Select [Maintenance]. Press OK. Select [Print Head Cleaning]. Press OK. Select [Black only], [Colour only], or [All]. Press OK. Select [Normal], [Strong], or [Strongest]. Press OK.
You can connect up to 10 mobile devices to the printer via Bluetooth®, but you can only print using one connected device at a time. To print using a different connected device, first unpair the last-used device by turning the printer off and then on again.
Turn off the printer and unplug the power cord. Remove the Paper Cassette from the printer. Wipe the printer body with a soft cloth to remove dust. Clean the Paper Guide with a dry soft cloth. Install the Paper Cassette into the printer.
highlight the text you want to be inserted into your label. click the text you want to be inserted into your label (click on the button with the letter “P” on the toolbar to pull highlighted information into the label creation software) print the text you want to be inserted into your label.
Print labels from your PC, Mac, smartphone, or tablet using USB, Ethernet, Wi-Fi, and Bluetooth. Or alternatively use it in standalone mode by selecting and printing labels previously designed and uploaded to the memory, using the integrated backlit LCD display.
They use direct thermal or thermal transfer technology so there’s never a need to replace ink. Brother label makers are compatible with specific label cartridges.
Press the [Font] key. Press the [Cursor] key to select an item you want to change (Font/Size/Width/Style), and then press the [OK] key. Press the [Cursor] key to select the settings, and then press the [OK] key.
If you are specifically looking for a desktop labeler, the Brother P-Touch PT- D610BTVP Business Professional Connected Label Maker is our top choice. We want to be clear that we tested an older model, the Brother PTD600 PC-Connectable Labeler.
Download this PDF Link: Brother PT-P300BT Label Printer Quick Start Guide



















