JY-SA10L Spray Paint Pressure Pot Tank

Product Information: Powder Coating Machine
This is a user manual for the JY-SA10L powder coating machine.
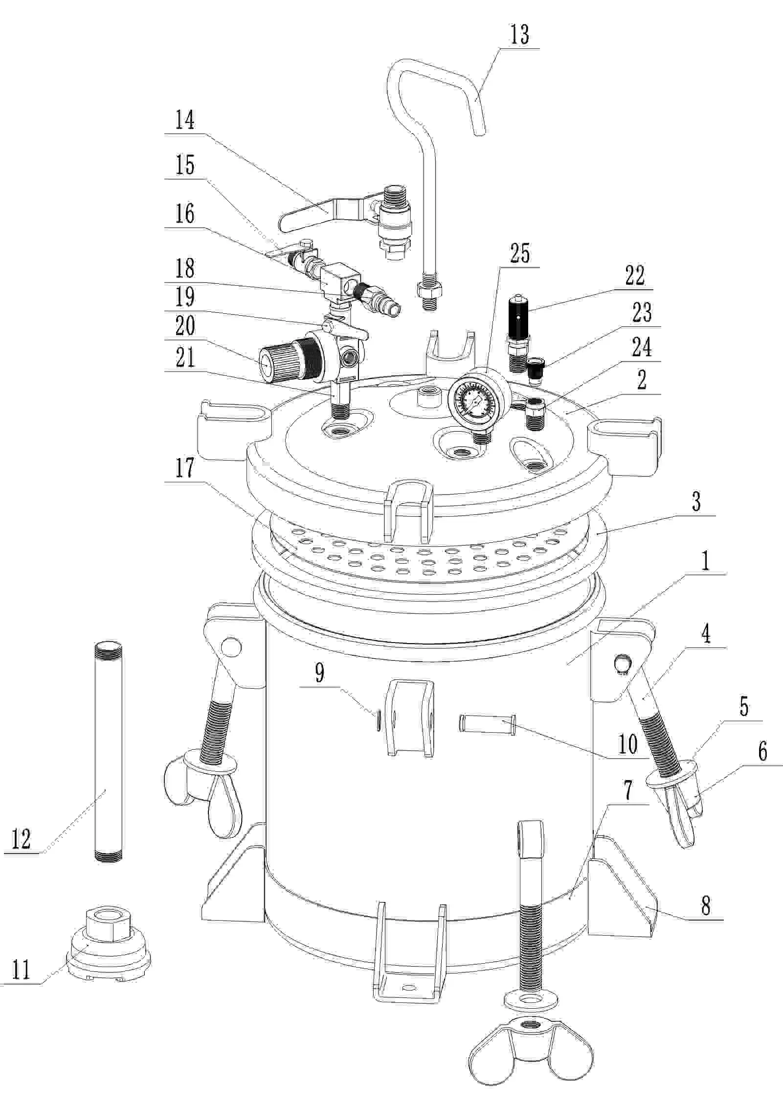
The machine is designed for powder coating and can be used for operations such as spraying, painting, and coating. The product comes with a pressure barrel body, barrel lid, sealing rings, M16 union bolts, M16 gasket, M16 butterfly nut, barrel base, movable wheel mount, circlips, fixed pins, paint tips, suction tube, handle, discharge valve, outlet valve, tee connector, flat base, air intake fittings, inlet valve, intake regulator, 2 points connector, relief valve, vent valve plunger, bleed valve, and pressure gauge. The machine has different thread specifications based on North American Standards, European Standards, and Australian Standards.
Product Usage Instructions
Before operating the powder coating machine, read the user manual carefully. VEVOR reserves the right to interpret the user manual. The appearance of the product may vary based on the product received. Please note that any technology or software updates on the product will not be informed separately.
Safety Instructions and Precautions
It is important to follow the safety instructions and precautions to avoid serious injury:
- Read the user manual before using the product.
- Do not use the product for operations such as drilling or welding that may damage the pressure barrel.
- Use the product as intended only.
- Inspect the product before every use and do not use if parts are loose or damaged.
- Do not pour strong acidic or alkaline liquids into the product.
- Remove the bolt positioned for the package to prevent collision before use.
Product Assembly
Refer to the schematic diagram of the decomposition to assemble the product. The product comes with different parts with serial numbers and descriptions. Follow the instructions to assemble the product correctly.
Thread Specifications
The powder coating machine has different thread specifications based on North American Standards, European Standards, and Australian Standards. Refer to the list of user thread specifications to select the appropriate thread for the air intakes, air outlet, and discharge port.
Contact Technical Support
If you have any product questions or need technical support, contact [email protected] for assistance.
NEED HELP? CONTACT US!
Have product questions? Need technical support? Please feel free to contact us:
Email: [email protected]
This is the original instruction, please read all manual instructions carefully before operating. VEVOR reserves a clear interpretation of our user manual. The appearance of the product shall be subject to the product you received. Please forgive us that we won’t inform you again if there are any technology or software updates on our product.
SAFETY INSTRUCTION AND PRECAUTIONS
WARNING:
Read this material before using this product. Failure to do so can result in serious injury. SAVE THIS MANUAL
Assembly precautions
- Assemble only according to these instructions. Improper assembly can create hazards.
- Wear ANSI-approved safety goggles and heavy-duty work gloves during assembly.
- Keep assembly area clean and well lit.
- Keep bystanders out of the area during assembly.
- Do not assemble when tired or when under the influence of alcohol, drugs or medication.
- Product capabilities apply to properly and completely assembled product only.
- Assemble on a flat, level, hard and smooth surface capable of safely supporting a fully loaded Pressure Paint Pot.
- This product is not a toy. Do not allow children to play with or near this item. Children or persons with physical disabilities are prohibited from using this product, and people who do not know how to use it safely are prohibited from operating this product
- This product 10L allows the paint to be pressurized to 70PSI, and the maximum operating pressure must not exceed 75PSI, otherwise it will cause the risk of injury to personal safety。
- The safety valve on the pressure barrel is used to protect the normal pressure in the pressure barrel, avoid overpressure of a safety device, before the product leaves the factory has been set within the allowable pressure range, in the normal state of use, do not remove at will, do not adjust at will.
- Do not do any form of modification of the product, do not do any dangerous operations such as drilling, welding, etc., which may produce a tempering effect, resulting in damage to the pressure barrel, affecting the service life of the product。
- Use as intended only.
- Inspect before every use; do not use if parts are loose or damaged.
- Is strictly forbidden to pour strong acidic and alkaline liquid into this product to avoid corrosive tank and cause personal injury。
- This bolt is positioned for the package to prevent collision and is removed before use。

Schematic diagram of the decomposition

| serial number | DESCRIPTION | quantity |
| 1 | Pressure barrel body | 1 |
| 2 | Barrel lid | 1 |
| 3 | Sealing rings | 1 |
| 4 | M16 union bolts | 4 |
| 5 | M16 gasket | 4 |
| 6 | M16 butterfly nut | 4 |
| 7 | Barrel base | 1 |
| 8 | Movable wheel mount | 4 |
| 9 | Circlips | 4 |
| 10 | Fixed pins | 4 |
| 11 | Paint tips | 1 |
| 12 | Suction tube | 1 |
| 13 | handle | 1 |
| 14 | Discharge valve | 1 |
| 15 | Outlet valve | |
| 16 | Tee connector | 1 |
| 17 | Flat base | 1 |
| 18 | Air intake fittings | 1 |
| 19 | Inlet valve | 1 |
| 20 | Intake regulator | 1 |
| 21 | 2 points connector | 1 |
| 22 | relief valve | 1 |
| 23 | Vent valve plunger | 1 |
| 24 | Bleed valve | 1 |
| 25 | Pressure gauge | 1 |
List of user thread specifications
| serial number | SKU name | valve | Thread specifications |
| 1 | North American Standards | Air intakes | American style 1/4″ self-locking quick plug tubing fitting |
| Air outlet (including opening and closing valve) | American 1/4″, threaded NPS, 18 teeth | ||
| Discharge port (with opening and closing valve) | American 3/8″, threaded NPS, 18 teeth | ||
| 2 | European standards | Air intakes | European style 1/4″ self-locking quick plug tubing fitting |
| Air outlet (including opening and closing valve) | European 1/4″, thread G, 19 teeth | ||
| Discharge port (with opening and closing valve) | European 3/8″, thread G, 19 teeth | ||
| 3 | Australian standards | Air intakes | Japanese style 1/4″ self-locking quick plug tubing fitting |
| Air outlet (including opening and closing valve) | European 1/4″, thread G, 19 teeth | ||
| Discharge port (with opening and closing valve) | European 3/8″, thread G, 19 teeth |
Preface
This paint barrel is composed of air pressure regulating valve, safety valve, vent valve, discharge port and four movable wheels (optional). All parts are made of the best materials, and have passed strict quality control, and the appearance is treated with baking paint, so it can achieve the purpose of durability
Notes
After spraying with this product, it must be thoroughly cleaned to extend the service life of the product。
How to use
Before use, please confirm that there can be no residual pressure in the barrel, if there is residual pressure, the operator can use the vent valve vent plunger pump to completely drain it to ensure safety。
- Loosen the butterfly nut, and after the union bolt, open the bucket lid,
- Pour in the spray material
- Close the bucket lid and tighten the butterfly nuts one by one in a diagonal fashion。

- Close all valves, the sprayer inlet is connected to the barrel outlet (14), and the sprayer inlet is connected to the barrel outlet valve (15)

- Connect the air intake connection(18), open the intake valve(19)

- Adjust the intake pressure regulator and rotate clockwise to adjust to the required working pressure, or in a counterclockwise direction if you want to reduce the pressure in the pressure barrel。

- Open the outlet valve(15)Open the discharge valve(14)

How to use vacuum
Before use, please confirm that there can be no residual pressure in the pressure barrel, if there is residual pressure, the operator can use the vent valve vent plunger pump to completely discharge it to ensure safety。
- Loosen the butterfly nut, and after the union bolt, open the bucket lid
- Cover the bucket lid and tighten the butterfly nuts one by one in a diagonal fashion

- Close the discharge valve (14), tighten the vent valve plunger (23), connect the vacuum machine to the intake joint (18), open the intake valve (19)

- When the clockwise rotation air regulator (20) reaches -7.5 PSI, close the intake valve at the same time(19)

Maintenance
- After use, cut off the air source. Open the vent valve plunger on the lid to completely release the air in the barrel, then loosen the butterfly nut, open the lid, pour out the residual paint in the barrel, and clean all parts that have been touched by the paint with an appropriate amount of solvent.
- Pour the cleaning solvent into the bucket, close the lid to lock it, open the intake valve, and operate the sprayer until the clean solvent appears。
- Safety valves must be kept clean at all times。
Air leakage remedy
Note: If you find air leakage during use, please apply the glue evenly along here, and then close the lid of the barrel; tighten the screws while the pressure reaches 15PSI; The time is about 10 seconds, so that the glue completely penetrates the leakage, close the intake valve, open the pressure relief plunger, and stand still for 6-8 hours before continuing to use the glue after it is completely solidified.

Order of operations;1-2,3-4

Before use, please confirm that there can be no residual pressure in the barrel, if there is residual pressure, the operator can use the vent valve vent plunger pump to completely drain it to ensure safety。
- Loosen the butterfly nut, and after the union bolt, open the bucket lid。
- After the epoxy resin is molded, it is placed in the tank。
- Barrel lid, tighten the butterfly nuts one by one in a diagonal fashion。
- Close the outlet connection(18), open the intake valve(19)。
- Adjust the intake pressure regulating valve, rotate clockwise to adjust to the required working pressure of 0.35M, if you want to reduce the pressure in the barrel, rotate in a counterclockwise direction, wait for the resin to solidify completely, and take out after pressure relief.
Troubleshooting
| Fault | The cause of the failure | Exclusion method |
| The pointer of the pressure gauge connected to the air supply does not move |
|
|
| Paint barrel lid leakage |
|
|
| No paint | 1. The discharge valve is not open | 1. Open the discharge valve |
| Poor paint effect |
|
|
| Items | Description | |
| 1 | Name | Powder Coating Machine |
| 2 | Model | JY-SA10L |
| 3 | Parameter | Capacity:10L,P(Max):70psi/0.482Mpa, VAC:-7.25psi/-0.05Mpa |
| 4 | Package Size | 450x310x310mm |
| 5 | G.W. | 12.8KG |
Technical Support and E-Warranty Certificate
www.vevor.com/support



























