BLUETOOTH SPEAKER
mysound Circula Gray ID: BT-S039
mysound Circula Red ID: BT-SO40
mysound Circula Blue ID: BT-SO41
USER MANUAL
Thank you for purchasing Rombica device. Please read this user manual before the operation and save it for the future
GENERAL INFORMATION
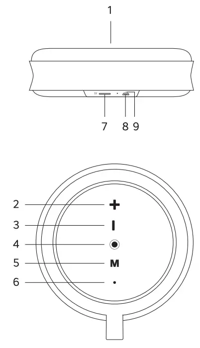
- Dynamic
- Forward/Volume+ button Short Press — play next song Long press — increasing volume
- Back/Volume- button Short Press — play previous song Long press — decreasing volume
- Play/Pause/Power button Short Press — play/pause Long press — power on/power off Quick double press — call back to last caller (Bluetooth mode) Short press during incoming call — receive incoming call (Bluetooth mode) Long press during incoming call — reject incoming call (Bluetooth mode)
- Mode button Short Press — switch working mode
- Reset
- microSD slot
- Micro-USB port to charge built-in battery
- LED indicator

SPECIFICATION
Power: DC 5V, from battery
Bluetooth version: v5.0
Frequency range: 100 Hz — 18 kHz
Speaker power: 5 W
Speaker diameter: 40 mm
Passive radiator: built-in
Battery: 1200 mAh / 3.7 V
Storage media devices support: microSD up to 32 GB (MP3, WAV audio files)
Interfaces: microSD slot, micro-USB, BT, mic
In the box: speaker, micro-USB cable, carabiner, manual
OPERATION OF THE DEVICE
POWER ON
Press and hold Play/Pause/Power button. Sound notification and turned-on LED indicator will confirm power on
POWER OFF
Press and hold Play/Pause/Power button. Sound notification and turned-off LED indicator will confirm power off
PAIRING VIA BLUETOOTH
- Turn on the speaker. Make sure that the speaker is in Bluetooth mode
- Open Bluetooth settings on your smartphone/PC, enable Bluetooth and search for new devices. When Bluetooth speaker will be found, confirm pairing
- After successful pairing both the Bluetooth speaker and your device, you can control playback by Bluetooth speaker buttons
TRUE WIRELESS STEREO MODE
If you have two Rombica Mysound Circula speakers you can use them together with True Wireless Stereo mode.
- Turn on both Rombica Mysound Circula speakers
- Make sure that speakers are in Bluetooth mode
- Long press Mode button (5) on one of the speakers to create a TWS-pair. Sound notification will confirm successful pairing. If two speakers already were in TWS-pair before -They will automatically connect each other after you turn on both of speakers
- Pair speakers with your personal device same way as in paragraph “Pairing via Bluetooth”. If both speakers are in TWS-pair, but there is no Bluetooth pairing between speakers and your external device during 10 minutes – both speakers will automatically turn off
- To cancel TWS-connection between two speakers long press Mode button on speaker that you want to disconnect. Sound notification will confirm successful disconnecting
PHONE CALLS
You could receive incoming calls with Bluetooth speaker if it paired to smartphone/tablet PC. You can talk using built-in mic and dynamic. Short press Play/Pause/Power button to receive the incoming call. Press button again to end the call. Long press Play/Pause/Power button is rejecting incoming call
MICROSD AUDIO PLAYBACK
Insert microSD card into slot (7). Bluetooth speaker will automatically switch to “microSD Audio Playback” mode. If microSD card is inserted already, you could use Mode button to select mode “microSD card audio playback”. Use Bluetooth speaker buttons to control music playback
BATTERY CHARGING
Before use, fully charge Bluetooth speaker within 8 hours. New battery requires 2-3 full charge-discharge cycles to reach full capacity. Use (supplied) cable and connect it to the Bluetooth speaker by micro-USB side. Connect USB cable to the PC or wall charger (wall charger is not supplied). LED indicator is red while charging and turns off when the battery is fully charged
STORAGE CONDITIONS
Keep the device in a dry, well-ventilated place, far from heaters and direct sunlight Keep the device out of• reach of children. Do not bite or lick the device, as it may cause damage or explode the device. Children or persons with disabilities should not use the device without supervision of the responsible person
SAFETY INFORMATION
- Before charging be sure that voltage of the power is 5V. The recommended adapter is 5V / 500 mA
- If device is not used during long time, charge it at least once per month
- In cause of breaking do not try to open and repair device by yourseff. Use service center
- Avoid influence of the high humidity, dust and dirt. Use dry soft lint-free cloth to clean device. Not allowed to use washing or cleaning liquids
- Do not store, use or charge device near heat sources and flammable objects, during low or high ambient temperature. Charing can be done only under adult supervision. Recommended temperature is 5 to 35 °C
- Not allowed to drop or hit device
- Do not insert foreign objects to the device interfaces
- Turn off device after use
- Never pull the cord to disconnect cable, pull the plug
- Bluetooth speaker is not intended for the commercial use
- Standard battery life is 500 charge-discharge cycles. After exceeding 500 cycles the effective capacity of the battery can be reduced. Effective capacity also depends on the ambient temperature
- Do not cover working device by cloth or other material

TECHNICAL CHARACTERISTICS AND APPEARANCE MAY BE CHANGED WITHOUT PRIOR NOTICE
Do not dispose with household waste! Required to dispose this electrical device at designated recycling collection point for electrical devices. It ensures that device is recycled professionally and prevents the release of the harmful substance into the environment. Make sure that device is uncharged before disposal



















