SAVOCA 14596 LED Ceiling 12w CCT Internal Ceiling Light

INSTALLATION
- Before Installation turn off the power at the mains circuit.

- Take off the bracket by pressing the push release.

- Twist terminal block cover anticlockwise and pull to remove it.

- Secure the bracket to the ceiling.

- For emergency luminaires. Non-emergency models skip to 6.
● Remove the screws and O-rings
● Twist the cover anticlockwise and pull to remove it.
● Loosen the screws retaining the light source PCB and lift it to remove.
● Fill in the battery installation date, and connect the battery cable (disconnected for storage) then replace the light source PCB back to original position and secure the screws. (24 hour charge time required)
● Refit the cover.
● Twist the cover clockwise to fit and align the protrusions of the cover and the housing.
● Refit the screws and O-rings.
- CCT Selection:
Slide the switch to choose between 3000K warm white, 4000K cool white and 6500K daylight colour options (see illustration below).
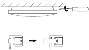
- Hang the fixture on the bracket.

● Route mains cable(s) into position.
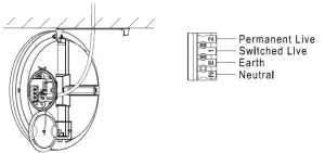
- Connect the mains switched live, permanent live (if present) and neutral to the push terminal connector.

● Refit the power cover (twist clockwise to secure and secure with screw.
- Push fitting into position, press until you hear the bracket lock into position .

● Secure the push button release with a screw (optional) for tamper resistance.
- Sensor Function luminaires
- Setting
| (1) Detection area (2,3) Hold-time (8) Stand-by diming level (6,7) Stand-by period (4,5) Daylight threshold |

Detection area
In this area, movement will be detected and able to trigger the sensor. 100% detection area is also known as the strong, sensitvity.
Hold-time
The period of light keeping 100% brightness after moving objects leave the detection area.
Daylight threshold
Definition of the ambient brightness; only when the ambient brightness is lower than the preset specific lux amount, the sensor will work; when it’s preset as ·disable·, the sensor works everytime it detects motion regardless the ambient brightness.
Stand-by period
The period of light keeping low output before it’s completely switched off. When it’s preset as “∞”, the light always keep at low output if no movement in the detection area and doesn’t turn off.
Stand-by dimming level
The definition of low output in the standby period.
- Application
- Automatically ON/OFF function:
The Stand- by period is set to 0s.
The daylight threshold is set to 2lux, 10lux, 50lux.
With sufficient daylight, even when motion detected, light remains OFF.
With insufficient daylight, when motion detected, light ON.
After t he last detection and the present hold time elapsed, light OFF. - No daylight function
The daylight threshold is set to “Disable”.
Light on when detect movement, After people leave, Light off after stand- by period. Stand-by period is set to +oo, The light will always remain ON.
When motion is detected, the sensor will switch on the light to brighteness.
After people leave the detection area, light remains 100% brightness within hold time.
After the last detection and the present hold time elapsed, light OFF. - Function Demo – Dimmable control/Corridor function.
The Stand- by period is set to 10s, 10min.
The daylight threshold is set to 21ux, l0lux, 50lux .
With sufficient daylight, even when motion detected, light remains OFF.
With insufficient daylight, when motion detected, light ON.
After last detection, the light will be dimmed down to the stand-by dimming level (l0% or 30%) after holdtime.
After the stand-by period, light OFF.
♦ Emergency Function luminaires
- Ensure to attach the battery connection cable.
- Mark the battery with the installation date.
- Allow 24 hours initial charge time.
- Emergency function time 3 hours.
- Batteries must be replaced when they can no longer support 3 hour operation.
Tel: +44 (0)1274 657 088
Fax: +44 (0)1274 657 087
Web: www.cromptonlamps.com
















































