AL-KO HT 4260 Powerful Cordless Hedge Trimmer


Symbols
![]() | HT 4260 Art.-Nr. 127440 | HT 4245 Art.-Nr. 127510 |
![]() | 600 mm | 450 mm |
![]() | 28 mm | 28 mm |
![]() | 3,6 kg | 3,5 kg |
![]() | IPXO | IPXO |
| 1200 min-1 (Eco-Mode) 1500 min-1 (Power-Mode) | |
![]() | DIN EN ISO 3744 | |
![]() | DIN EN 28662-1 | |
![]() |
|
![]() | 36 V / 42 V max |
![]() | 7,5 Ah |
![]() | 270 Wh |
![]() | -5 °C – +60 °C |
![]() |
|
![]() | 230 V AC |
![]() | 42 V |
![]() | 3 A |
![]() | 0 °C – +40 °C |
ABOUT THESE OPERATING INSTRUCTION

- The German version is the original operating instructions. All additional language versions are translations of the original operating instructions.
- It is essential to read through these operating instructions carefully before start-up. This is essential for safe working and trouble-free handling.
- Always safeguard these operating instructions so that they can be consulted if you need any information about the appliance. Only pass on the appliance to other persons together with these operating instructions.
- Comply with the safety and warning information in these operating instructions.
Legends and signal words
![]() | DANGER! Denotes an imminently dangerous situation which will result in fatal or serious injury if not avoided. |
![]() | WARNING! Denotes a potentially dangerous situation which can result in fatal or serious injury if not avoided |
![]() | CAUTION! Denotes a potentially dangerous situation which can result in minor or moderate injury if not avoided. |
| IMPORTANT! Denotes a situation which can result in material damage if not avoided. |
![]() | NOTE Special instructions for ease of understanding and handling. |
PRODUCT DESCRIPTION

These operating instructions describe a handguided cordless hedge trimmer.
Intended use
This hedge trimmer is exclusively intended for trimming hedges, shrubs and bushes.
The hedge trimmer must only be used with the following components:
- Rechargeable battery belt system BTA 42 – Item no. 127442 Lithium-ion rechargeable batteries – Item no. 127390 Charging unit – C150 Li, Item no. 127391 Any other use, as well as unauthorised conversions or add-ons, are regarded as contrary to the intended use and will result in invalidation of the warranty as well as loss of conformity (CE mark); the manufacturer will thus decline any responsibility for damage and/or injury suffered by the user or third parties
Possible foreseeable misuse
- The safety devices are not allowed to be removed or defeated, e.g. by attaching the On/ Off Switch to the grip bars.
- Do not use the appliance in an explosion risk area.
- Do not use the appliance in rainy weather.
- Do not use the appliance for trimming wet hedges and bushes. The tool is designed neither for commercial use in public parks and sports facilities, nor for use in farming and forestry
Safety and protective devices
![]() | WARNING! Risk of injury Defective and disabled safety and protective devices can lead to serious injury.
|
Overload protection
![]() | CAUTION! Beware of property damage If the clippings are too thick or there is a hard object, the blade blocks and the motor switches off automatically.
|
Two-hand operation
The hedge trimmer can only be operated with two hands at the same time
Symbols on the appliance
| Symbol | Meaning |
![]() | Read the operating instructions before starting operation. |
![]() | Wear eye protection |
![]() | Wear ear protection |
![]() | Wear mask |
![]() | Protect the appliance from rain and moisture! |
Scope of supply
After unpacking check that all the parts have been delivered.
![]() | NOTE The rechargeable battery and the charging unit are not included. |

| No. | Component |
| 1 | 1 HT 4260 hedge trimmer |
| 2 | Protective cover for the cutting blade |
| 3 | Operating instructions |
Product overview (01)
The product overview provides an overview of the appliance.
| No. | Component |
| 1 | Cutting blade |
| 2 | Hand guard |
| 3 | Front grip bar with safety switch |
| 4 | Locking mechanism for adjustable handle |
| 5 | Rear handle with On/Off switch and connection socket for connecting cable |
| 6 | Rechargeable battery* |
| 7 | Charger with mains plug* |
| 8 | Rechargeable battery belt system with connecting cable* |
| 9 | Protective cover for the cutting blade |
| 10 | Operating instructions |
*Not included in the scope of delivery, but can be purchased under the following item numbers:
- Rechargeable battery belt system BTA 42 – Item no. 127442
- Lithium-ion rechargeable batteries – Item no. 127390
- Charging unit – C150 Li – Item no. 127391
SAFETY INSTRUCTIONS

General Power Tool Safety Warnings
![]() | WARNING! Read all safety warnings and all instructions. Failure to follow the warnings and instructions may result in electric shock, fire and/or serious injury.
|
The term “power tool” in the warnings refers to your mains-operated (corded) power tool or battery-operated (cordless) power tool.
Work area safety
- Keep work area clean and well lit. Cluttered and dark areas invite accidents.
- Do not operate power tools in explosive atmospheres, such as in the presence of flammable liquids, gases or dust. Power tools create sparks which may ignite the dustor fumes.
- Keep children and bystanders away while operating a power tool. Distractions can cause you to lose control.
Electrical safety
- Power tool plugs must match the outlet. Never modify the plug in any way. Do not use any adapter plugs with earthed(grounded) power tools. Unmodified plugs
- and matching outlets will reduce risk of electric shock. Avoid body contact with earthed or grounded surfaces such as pipes, radiators, ranges and refrigerators. There is an increased risk of electric shock if your body is earthed or grounded.
- Do not expose power tools to rain or wet conditions. Water entering a power tool will increase the risk of electric shock.
- Do not abuse the cord. Never use the cord for carrying, pulling or unplugging the power tool. Keep cord away from heat, oil, sharp edges or moving parts. Damaged or entangled cords increase the risk of electric shock.
- When operating a power tool outdoors, use an extension cord suitable for outdoor use. Use of a cord suitable for outdoor use reduces the risk of electric shock.
- If operating a power tools in a damp location is unavoidable, use a residual current device (RCD) protected supply. Use of an RCD reduces the risk of electric shock. 3.1.3
Personal safety
- Stay alert, watch what you are doing and use common sense when operating a power tool. Do not use a power tool while you are tired or under the influence of drugs, alcohol or medication. A moment of inattention while operating power tools may result in serious personal injury.
- Use personal protective equipment. Always wear eye protection. Protective equipment such as a dust mask, non-skid safety shoes, hard hat, or hearing protection used for appropriate conditions will reduce personal injuries.
- Prevent unintentional starting. Ensure the switch is in the off-position before connecting to power source and/or battery pack, picking up or carrying the tool. Carrying power tools with your finger on the switch or energizing power tools that have the switch on invites accidents.
- Remove any adjusting key or wrench before turning the power tool on. A wrench or a key left attached to a rotating part of the power tool may result in personal injury. Do not overreach. Keep proper footing and balance at all times. This enables better control of the power tool in unexpected situations.
- Dress properly. Do not wear loose clothing or jewellery. Keep your hair, clothing and gloves away from moving parts. Loose clothes, jewellery or long hair can be caught in moving parts.
- If devices are provided for the connection of dust extraction and collection facilities, ensure these are connected and properly used. Use of these devices can reduce dustrelated hazards.
Power tool use and care
- Do not force the power tool. Use the correct power tool for your application. The correct power tool will do the job better and safer at the rate for which it was designed.
- Do not use the power tool if the switchdoes not turn it on and off. Any power tool that cannot be controlled with the switch is dangerous and must be repaired.
- Disconnect the plug from the powersource and/or the battery pack from the power tool before making any adjustments, changing accessories, or storing power tools. Such preventive safety measures reduce the risk of starting the power tool accidentally.
- Store idle power tools out of the reach of children and do not allow persons unfamiliar with the power tool or these instructions to operate the power tool. Power tools are dangerous in the hands of untrained users.
- Maintain power tools. Check for misalignment or binding of moving parts, breakage of parts and any other condition that may affect the power tool’s operation. If damaged, have the power tool repaired before use. Many accidents are caused by poorly maintained power tools.
- Keep cutting tools sharp and clean. Properly maintained cutting tools with sharp cutting edges are less likely to bind and are easier to control.
- Use the power tool, accessories and tool bits etc. in accordance with these instructions, taking into account the working conditions and the work to be performed. Use of the power tool for operations different from those intended could result in a hazardous situation.
Battery tool use and care
- Recharge only with the charger specified by the manufacturer. A charter that is suitable for one type of battery pack may create a risk of fire when used with another battery pack.
- Use power tools only with specifically designated battery packs. Use of any other battery packs may create a risk of injury and fire.
- When battery pack is not in use, keep it away from other metal objects, lie paperclips, coins, keys, nails, screws or other small metal objects, that can make a connection from one terminal to another. Shorting the battery terminals together may cause burns or a fire.
- Under abusive conditions, liquid may be ejected from the battery; avoid contact. If contact accidentally occurs, flush with water. If liquid contacts eyes, additionally seek medical help. Liquid ejected form the battery may cause irritation or burns.
Service
- Have your power tool serviced by a qualified repair person using only identical replacement parts. This will ensure that the safety of the power tool is maintained. 3.2 Hedge trimmer safety warnings
- Keep all parts of the body away from the cutter blade. Do not remove cut material or hold material to be cut when blades are moving. Make sure the switch is off when clearing jammed material. A moment of inattention while operating the hedge trimmer may result in serious personal injury.
- Carry the hedge trimmer by the handle with the cutter blade stopped. When transporting or storing the hedge trimmer always fit the cutting device cover. Proper handling of the hedge trimmer will reduce possible personal injury from the cutter blades.
- Hold the power tool by insulated gripping surfaces only, because the cutter blade may contact hidden wiring. Cutter blades contacting a “live” wire may make exposed metal parts of the power tool “live” and could give the operator an electric shock.
Vibration load
![]() | WARNING! Danger due to vibration The actual magnitude of the vibration emissions during the use of the appliance may deviate from that stated by the manufacturer. Observe the following influencing factors before or during use:
|
- Only operate the tool at the motor speed required for the respective work. Avoid using the maximum speed in order to reduce noise and vibrations.
- The noise and vibrations of the tool may increase due to improper use and maintenance. This leads to health damage. In this case, immediately switch off the tool and have it repaired by an authorised service workshop.
- The degree of stress due to vibration depends on the work to be performed or on the use of the tool. Estimate the stress and plan appropriate work breaks. This considerablyreduces stress due to vibration over the entire working time.
- Extensive use of the tool exposes the operator to vibrations, which can lead to circulatory issues (“white fingers”). To avoid this risk, wear gloves and keep your hands warm. If any symptoms of “white fingers” occur, immediately consult a physician. These symptoms include: Numbness, loss of feeling, tingling, itching, pain, reduced muscular strength, changes in the colour or condition of the skin. Normally these conditions affect the fingers, hands or pulse. The risk increases at low temperatures.
- Take long breaks during your working day so you can recover from the noise and the vibrations. Plan your work in such a way that the use of appliances that generate strong vibrations is spread over several days.
- If you notice an unpleasant sensation or discolouration of the skin on your hands when using the tool, stop work immediately. Take sufficient work breaks. Without sufficient breaks, a hand/arm vibration syndrome can occur.
- Minimise your risk of being exposed to vibrations. Maintain the tool according to the instructions in the operating instructions.
- If the tool is used frequently, contact your dealer to purchase anti-vibration accessories (e.g. handles).
- Avoid working with the tool at temperatures below 10 °C. Define how the vibration load can be limited in a work plan.
Noise pollution
A certain level of noise exposure from this appliance is inevitable. Carry out noisy work at approved and specified time periods. Observe rest periods as necessary and restrict the duration of the work to a minimum. For your personal protection and protection of persons in the vicinity, appropriate hearing protection must be worn.
Safety information regarding the rechargeable battery
This section mentions all the basic safety information to be heeded when using the rechargeable battery. Read these instructions.
- Only use the rechargeable battery as designated, i.e. for AL-KO rechargeable batterydriven appliances. Only charge the rechargeable battery with the AL-KO charging unit provided.
- Only unpack the new rechargeable battery from the original packaging when it is to be used.
- Fully charge the rechargeable battery beforeusing it for the first time and always use the specified charger. Comply with the details given in these instructions for use for charging the rechargeable battery.
- Do not use the rechargeable battery in environments where there is a potential risk of explosion and/or fire.
- Do not expose the rechargeable battery to moisture and humidity when in use with the appliance.
- Protect the rechargeable battery from heat, oil and fire to prevent it being damaged so no vapours and electrolyte liquids can escape. There is a danger of explosion!
- Do not subject the rechargeable battery to impacts or throw it.
- Do not use the rechargeable battery when soiled or wet. Before use, clean and dry the rechargeable battery with a dry, clean cloth.
- When the battery pack is not in use, keep it away from other metal objects to prevent bridging the contacts (e.g. paper clips, coins, keys, nails, screws). Do not use sharp objects (e.g. a screwdriver) to work on the battery. This can cause an internal short circuit which can lead to overheating, fire or explosion of the battery.
- Do not open, dismantle or crush the rechargeable battery. There is a danger of electric shock and short-circuit.
- An improperly used and damaged rechargeable battery can cause vapours and electrolyte liquid to escape. Vent the room adequately and in the case of any disorders, consult a doctor. If accidental contact with electrolyte liquid occurs, flush with water and thoroughly rinse the eyes immediately. Then consult a doctor.
- This rechargeable battery must not be used by unauthorised persons unless they are supervised by a person responsible for their safety or have been instructed on how to use the rechargeable battery. Unauthorised persons include, for example:
- Persons (including children) with limited physical, sensory or mental aptitude.
- Persons who have no experience and/or knowledge of the rechargeable battery.
- Children must be supervised and instructed so they do not play with the rechargeable battery.
- Do not leave the rechargeable battery permanently in the charger. For prolonged storage, remove the rechargeable battery from the charger.
- When not in use, remove the rechargeable batteries from the operated appliances.
- Dry the unused rechargeable battery and store in a closed place. Protect from heat and direct sunlight. Unauthorised persons and children must not have access to the rechargeable battery
Safety information regarding the charging unit
This section mentions all the basic safety and warning information to be heeded when using the charger. Read these instructions.
- Only use the appliance as designated, i.e. for charging the intended rechargeable batteries. Only charge original rechargeable batteries from AL-KO in the charging unit.
- Before each use, inspect the entire appliance – and especially the mains cable and the rechargeable battery compartment – for damage. Only use the appliance when it is inproper working order.
- Do not use the appliance in environmentswhere there is a potential risk of explosion and/or fire.
- Only operate the appliance indoors and do not expose it to moisture and humidity.
- Always place the charging unit on a well ventilated and non-inflammable surface because it heats up during the charging process. Keep the ventilation slots clear and do not cover the appliance.
- Before connecting the charging unit, make sure that the mains voltage matches the voltge stated in the “Technical data”.
- Only use the mains cable for connecting the charging unit, not for any other purpose. Do not carry the charging unit by the mains cable and do not remove the power plug from the power outlet by pulling on the mains cable.
- Protect the mains cable from heat, oil and sharp edges to prevent it being damaged.
- Do not use the charging unit and rechargeable battery when soiled or wet. Before using the appliance, clean and dry the rechargeable battery.
- Do not open the charging unit or rechargeable battery. There is a danger of electric shock and short-circuit.
- For your own safety, have your appliance repaired by qualified specialist personnel only using original spare parts.
- This appliance must not be used by unauthorised persons unless they are supervised by a person responsible for their safety or have been instructed on how to use the appliance. Unauthorised persons include, for example:
- Persons (including children) with limited physical, sensory or mental aptitude
- Persons who have no experience and/or knowledge of the appliance.
- Children must be supervised and instructed so they do not play with the appliance.
- Dry the unused appliance and store in a closed place. Unauthorised persons and children must not have access to the appliance.
Safety instructions relating to operation
![]() | WARNING! Risk due to electromagnetic field This power tool produces an electromagnetic field during operation. Under certain circumstances, this field may impair active or passive medical implants.
|
- Note that the user is responsible for accidents and damage that may befall other persons or their property.
- Use the appliance only for the purposes for which it is intended. Any non-intended use can lead to injury and property damage.
- Switch on the appliance only when there are no other persons or animals in the working area.
- Maintain a safe distance to persons or animals, or switch off the appliance if persons or animals approach.
- Before cutting, check the hedges and bushes for concealed objects – e.g. wires, wire fences, electrical cables, garden equipment, bottls – and remove them.
- Move and transport the appliance so that persons and animals cannot touch the cutting blade. Before transport, push the protective cover over the cutting blade.
- During the work, do not hold the branches to be cut off.
- Before removing jammed branches, switchoff the appliance and wait until the cutting blade has come to a standstill.
- Remove the rechargeable battery from the appliance and push the protective cover over the cutting blade for:
- Testing, adjustment work and cleaning work
- Working on the cutting blade
- Leaving the appliance
- Transport
- Storage
- Maintenance and repair work
- Danger
START-UP
Charging the rechargeable battery

![]() | CAUTION! Danger of fire during charging! Due to heating of the charger, there is a danger of fire if it is placed on an inflammable surface and is not adequately ventilated.
|
![]() | NOTE The rechargeable battery and the charging unit are not included. |
![]() | NOTE Fully charge the rechargeable battery before using it for the first time. The rechargeable battery can be charged in any charge status. Interrupting charging does not damage the rechargeable battery. |
![]() | NOTE When charging, the rechargeable battery is protected from overcharging due to automatic detection of the charge status and thus can remain connected to the charging unit for some time, but not permanently. |
- Connect the rechargeable battery (01/6) and charging unit (01/7), as well as the charging unit to the mains voltage. The charging process begins. The LED on the charging unit lights green, the charge status is displayed on the rechargeable battery.
- Observe the charge status displays on the rechargeable battery. The charging process takes approx. 2.5 hours until fully charged. The charging process ends automatically when the rechargeable battery is fully charged.
- Disconnect the rechargeable battery from the charging unit and the charging unit from the mains voltage.
OPERATION

![]() | WARNING! Risk of injury due to detaching appliance parts Appliance parts detaching during operation can lead to serious injury.
|
Connecting the rechargeable battery belt system (02) to (05)
Connect the rechargeable battery belt system according to the illustration (02) to (05).
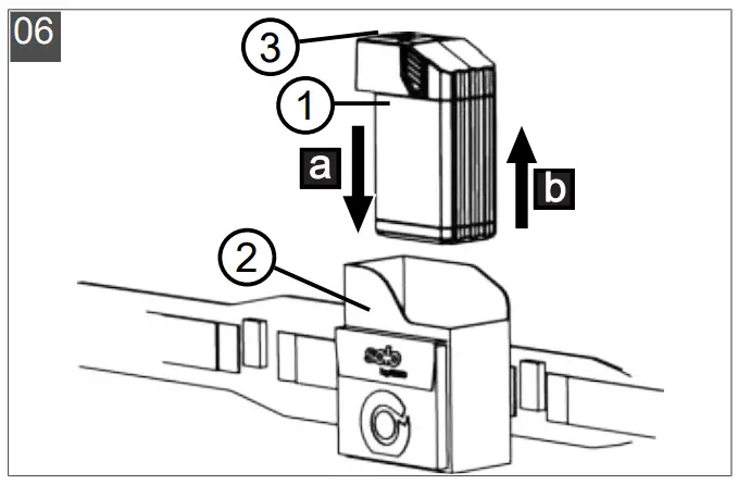
Inserting the rechargeable battery (06)
Inserting the battery
- Push in (06/a) the rechargeable battery (06/1) into the rechargeable battery belt system (06/2) until it locks.
Pull out the rechargeable battery
- Press and hold the unlock button (06/3) on the rechargeable battery (06/1).
- Pull out (06/b) rechargeable battery (06/1).
Establishing the voltage supply (07, 08)
Mounting the connecting cable
- Align the first connector of the connecting cables (07/1) to the guiding pin and guide slotof the rechargeable battery belt system connector (07/2), join, and turn slightly clockwise until the locking and unlocking switch (07/3) audibly engages.
- Align the second connector of the connecting cables (08/1) to the guiding pin and guide slot of the connection socket, push (08/a) into the connection socket of the appliance (08/2), and turn slightly clockwise until the locking and unlocking switch (08/3) audibly engages.
Dismounting the connecting cable
- Pull the locking and unlocking switch (07/3) backwards (07/b), turn the connector slightly to the left and pull out (07/c).
- Pull the locking and unlocking switch (08/3) backwards (08/b), turn the connector slightly to the left and pull out (08/c) of the connection socket of the appliance (08/2).
Turning the rear handle (11)
Turning the handle
- Press the unlock button (11/1).
- Turn the handle to the left or right by 90 ° (11/ a) until it engages.
- Release the unlock button (11/1)
Turning the handle back
- Press the unlock button (11/1).
- Turn the handle back to the initial position until it engages.
- Release the unlock button (11/1).
Starting the hedge trimmer (09)
- Stand securely.
- Hold the front handle (09/1) with one hand and the rear handle (09/2) with the other hand.
- Press the safety switch on the front handle (09/a), then press the on/ off switch on the rear handle (09/b). The appliance starts.
- Keep both buttons pressed while working. When a button is released, the appliance switches off.
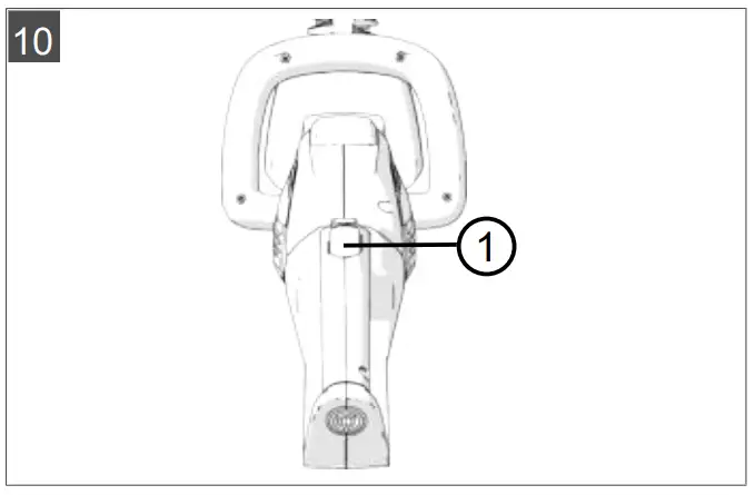
Eco Mode / Power Mode (10)
The appliance is equipped with an Eco Mode/Power Mode mode. Select between the Eco Mode (approx. 1200 min-1) and the Power Mode (approx. 1500 min-1) by pressing the button (10/1).
If the Power Mode is switched on, the green LED display lights. If the appliance is switched off and then switched on again, it starts with the previously selected setting.
WORKING BEHAVIOUR AND WORKING TECHNIQUE (12)

![]() | WARNING! Increased risk of falling There is a greater risk of falling if work is carried out from an elevated position (e.g. ladder).
|
- Cut the hedge regularly and only at the permitted times.
- Only cut off the thin branches and new growth on the surface of the hedge; do notcut too deep.
- Always cut the two sides of a hedge first, followed by the top. This prevents cut material from falling into areas that you have not yet trimmed.
- Hedges should always be trimmed into a trapezoidal shape (tapering toward the top).This prevents the leaves on the lower branches from being shaded out (12).
- Make sure the motor is stopped before you remove any cuttings.
- When leaving/transporting the appliance:
- Switch off the appliance.
- Fit the protective cover.
- Remove the battery.
- After use, remove the battery and check the appliance for damage.
MAINTENANCE AND CARE

![]() | WARNING! Danger of cutting injuries Danger of cutting injuries when reaching into sharp-edged, moving appliance parts and into cutting tools.
|
![]() | NOTE Repair work is only allowed to be carried out by expert workshops or our service centres. |
- Do not get the appliance wet or expose it to moisture.
- After each use, clean the housing and cutting blades with a brush or cloth. Do not use water and/or aggressive cleaning agents or solvents – risk of corrosion and damage to the plastic parts.
- Remove the battery and check for damage after each use.
- Clean the cutting blade and spray with rustproofing oil.
- Regularly check the cutting blade. Contact an AL-KO service centre under the following circumstances:
- Defective cutting blade
- Blunt cutting blade
- Excessive wear
- Check all screws for tightness.
- Check the electrical contacts on the appliance for corrosion, clean with a fine wire brush if necessary and then spray with a contact spray.
TRANSPORT

Before transporting, carry out the following measures:
- Switch off the tool.
- Remove the rechargeable battery from the appliance.
- Pack the battery properly
![]() | NOTE The nominal energy of the rechargeable battery is more than 100 Wh. Therefore, observe the following transport instructions. |
The li-ion rechargeable battery contained in theappliance is subject to the hazardous goods law, but can be transported under simplified conditions:
- The rechargeable battery can be transported on public roads by the private user without further conditions provided it is packaged for retail sale and the transport serves personal purposes.
- Commercial users who carry out the transport in connection with their main activity (e.g. delivery from and to building sites, or demonstrations) can also take advantage of this simplification.
In both cases, it is essential to take the mandatory precautions mentioned above to prevent any leakage of the contents. In other cases, it is essential to comply with the regulations of the hazardous goods law. In the case of non-compliance, severe penalties can be imposed on the sender and possibly the transporter.
Additional notes on transport and shipment
- Only transport or send the li-ion rechargeable battery in an undamaged condition.
- For transporting the rechargeable battery, only use the original cardboard box or a suitable hazardous goods cardboard box (not required for rechargeable batteries with a nominal energy less than 100 Wh).
- Tape off exposed rechargeable battery contacts to avoid a short circuit.
- Secure the rechargeable battery against shifting in the packaging to avoid damage to the rechargeable battery.
- Ensure the correct marking and documentation of the shipment for transport or shipping (e.g. by parcel service or freight forwarding).
- Check in advance that transport with the selected service provider is possible and indicate the shipment.
We recommend involving a hazardous goods specialist in preparation of the shipment. Also heed any further national regulations.
STORAGE

Storage of the appliance
- Thoroughly clean the appliance and its accessories after each use and – if present – attach all covers.
- Store the appliance in a dry place protected against frost.
- Keep out of the reach of children and unauthorized persons.
Carry out the following jobs before intervals in work lasting for longer than 30 days:
- Clean the cutting blade and spray with rustproofing oil.
- Thoroughly clean the appliance and store it in a dry place.
Storing the battery and charger
![]() | DANGER! Danger of explosion and fire! Persons will be fatally or severely injured if the rechargeable battery explodes because it was stored in front of naked flames or heat sources.
|
![]() | NOTE When charging, the rechargeable battery is protected from overcharging due to automatic detection of the charge status and thus can remain connected tothe charging unit for some time, but not permanently. |
- Store the rechargeable battery in a dry, frost-free place at a storage temperature between 0°C – +35 °C and with a charge state of approx. 40 – 60 %.
- Due to a risk of short-circuit, do not store the battery near metallic or acid-containing objects.
- The battery must be recharged after a certain storage period. Please also comply with the rechargeable battery operating instructions.
DISPOSAL

Information on the German Electrical and Electronic Equipment Act (ElectroG)
Electrical and electronic appliances do not belong in household waste, but should be collected and disposed of separately.- ‘Used batteries or rechargeable batteries that
are not installed permanently in the old appliance must be removed before disposal. Their disposal is regulated by the battery law. - Owners or users of electrical and electronic appliances are obliged by law to return them after use.
- The end user bears personal responsibility for deleting his personal data from the old appliance to be disposed of.
The symbol of the crossed-through rubbish bin means that electrical and electronic appliances may not be disposed of in the household rubbish. Electrical and electronic appliances can be handed in at the following places at no charge:
- Public service disposal or collection points (e.g. municipal building yards)
- Points of sale of electrical appliances (stationary and online) provided traders are obliged to take them back or offer this voluntarily.
These statements only apply to appliances that are installed and sold in the countries of the European Union and are subject to European Directive 2012/19/EU. Different provisions may apply to the disposal of electrical and electronic appliances in countries outside the European Union.
Information on the German Battery Act (BattG)
Used batteries and rechargeable batteries do not belong in household waste, but should be collected and disposed of separately.- For safe removal of batteries or rechargeable batteries from the electrical appliance and for information on their type or chemical system, follow the further information within the operating or installation instructions.
- Owners or users of batteries and rechargeable batteries are obliged by law to return them after use. Return is limited to the handover of customary household quantities.
Used batteries can contain harmful substances or heavy metals that can cause damage to the environment and human health. Reuse of the used batteries and use of the resources contained therein contributes to the protection of these two essential commodities. The symbol of the crossed-through rubbish bin means that batteries and rechargeable batteries may not be disposed of in household rubbish. In addition, if the symbol Hg, Cd or Pb appears under the rubbish bin, this stands for the following:
- Hg: Battery contains more than 0.0005 % mercury
- Cd: Battery contains more than 0.002 % cadmium
- Pb: Battery contains more than 0.004 % lead Rechargeable batteries and batteries can be handed in at the following places at no charge:
- Public service disposal or collection points (e.g. municipal building yards)
- Points of sale of batteries and rechargeable batteries
- Disposal points of the common take-back system for the used batteries of appliances
- Disposal point of the manufacturer (if not a member of the common take-back system)
These statements apply only to rechargeable batteries and batteries that are sold in the countries of the European Union and that are subject to European Directive 2006/66/EU. Different provisions can apply to the disposal of rechargeable batteries and batteries in countries outside the European Union.
AFTER-SALES / SERVICE

In the event of questions of warranty, repair or spare parts, please contact your nearest ALKO Service Centre. These can be found on the Internet at: www.al-ko.com/service-contacts
HELP IN CASE OF MALFUNCTION

![]() | CAUTION! Risk of injury Sharp-edged and moving appliance parts can lead to injury.
|
![]() | NOTE If you encounter any malfunctions that are not listed in this table or that you cannot rectify yourself, please contact our customer service |
| Malfunction | Cause | Remedy |
| Engine does not run. | Rechargeable battery is flat | Charge the rechargeable battery. |
| Rechargeable battery missing or rechargeable battery not seated correctly | Insert the rechargeable battery correctly. | |
| Power supply is interrupted. |
| |
| The motor protection switch has switched off the motor due to overload. | Wait until the motor protection switch enables the motor again | |
| Motor keeps cutting out |
| Contact an AL-KO service centre |
| Cutting blade becomes hot when running. Generation of smoke. | No oil on the cutting blade. |
|
| Contact an AL-KO service centre. | |
| Cutting blade is blunt. | Contact an AL-KO service centre | |
| Branches are not cleanly cut. Branches are often jammed in the cutting blade. | The sliding play of the cutting blade is too great | Contact an AL-KO service centre |
| Motor running, but the cutting blade does not move | Appliance faults | Contact an AL-KO service centre. |
| Appliance vibrates unusually | Appliance faults | Contact an AL-KO service centre. |
| Rechargeable battery operating time is significantly shorter. | The service life of the rechargeable battery has expired | Replace the rechargeable battery. Only use genuine accessories from the manufacturer |
| Rechargeable battery cannot be charged. | Rechargeable battery contacts are dirty. | Contact an AL-KO service centre. |
| Rechargeable battery or charging unit is defective. | Order spare parts. Contact an AL-KO service centre | |
| Rechargeable battery is too hot. | Allow the battery to cool down. |
GUARANTEE
We will resolve any material or manufacturing faults on the appliance during the legal warranty period for claims relating to faults, in accordance with our choice either to repair or replace. The legal warranty period is determined by the legislation of the country in which the appliance was purchased.
Our warranty promise applies only if:
■ These operating instructions are heeded
■ The appliance is handled correctly
■ Original spare parts have been used
The warranty becomes void in the case of:
■ Unauthorised repair attempts
■ Unauthorised technical modifications
■ Non-intended use The guarantee excludes:
■ Paint damage that can be attributed to normal wear and tear
■ Wear parts that are marked with a frame xxxxxx (x) on the spare parts card
The guarantee period commences with purchase by the first end user. The date on the proof of purchase is decisive. In the event of a guarantee claim, please take this guarantee declaration and the original proof of purchase, and contact your dealer or the nearest authorised customer service centre. This statement does not affect the purchaser’s statutory claims for defects against the vendor.
TRANSLATION OF THE ORIGINAL EU DECLARATION OF CONFORMITY
We hereby declare that this product in its marketed form conforms to the requirements of the harmonised EU Directives, EU safety standards and the product-specific standards
| Product Battery hedge trimmer | Manufacturer AL-KO Geräte GmbH Ichenhauser Str. 14 D-89359 Kötz Germany | Duly authorised person for technical file Andreas Hedrich Ichenhauser Str. 14 D-89359 Kötz Germany |
| Serial number G2033022 | ||
| Type HT 4260 HT 4245 | EU directives 2006/42/EC 2014/30/EU 2000/14/EC 2011/65/EU | Harmonised standards EN 60745-1:2009+A11:2010 EN 60745-2-15:2009+A1:2010 EN 55014 1:2006+A1:2009+A2:2011 EN 55014-2:2015 |
| Sound power level EN ISO 3744 measured/guaranteed 93.1 dB(A) / 95 dB(A) | Declaration of conformity 2000/14/EC Appendix V |
Kötz, 16.05.2018
Dr. Wolfgang Hergeth
Managing Director










Art.-Nr. 127390



Art.-Nr. 127391











Electrical and electronic appliances do not belong in household waste, but should be collected and disposed of separately.


















