NEBO Columbo 100 Flashlight Instruction Manual
All copyrighted and copyrightable materials, including, without limitation, the logo, design, text, graphics, pictures, copy writing and the selection and arrangement (”Materials”) thereof all ALL RIGHTS RESERVED Copyright ©2022 Alliance Sports Group LP.
The COLUMBO 100 features a 100 lumen LED, 3 light modes, 4x adjustable zoom, steel pocket clip, and a waterproof (IP67) anodised aircraft-grade aluminium body.
Specs
| MODES | LUMENS | HOURS | METERS |
| HIGH | 100 | 1.5 | 56 |
| LOW | 35 | 4.5 | 33 |
| STROBE | 100 | 1.5 | 56 |
3 Light Modes
- Waterproof (IP67)
- 4x Adjustable Zoom Steel Pocket Clip
- Anodised Aircraft-Grade Aluminium
EASY TOUCH
Half press button to quickly cycle through the light modes, fully press to activate.
4X ZOOM
Twist to adjust the light beam from flood light to spot light.
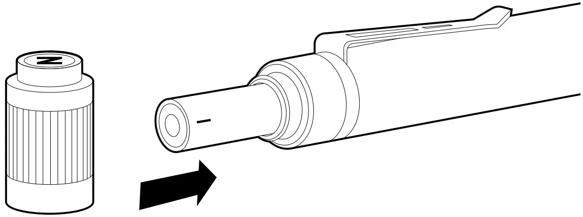
1 AAA BATTERY INCLUDED
To replace, unscrew the end cap to access the battery compartment and swap your old battery for a new one.

















