Paul Neuhaus Pino LED Table Lamp Instructions
Instructions
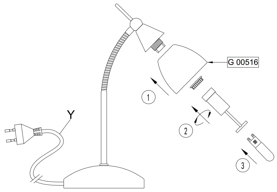
![]() | 828957/828958/828959 | |
| 230V 50Hz | ||
| 1xG9 3W | ||


Paul Neuhaus GmbH
Olakenweg 36 • 59457 Werl
Germany
![]()
Paul Neuhaus Pino LED Table Lamp Instructions
![]() | 828957/828958/828959 | |
| 230V 50Hz | ||
| 1xG9 3W | ||


Paul Neuhaus GmbH
Olakenweg 36 • 59457 Werl
Germany
![]()
Download manual
Here you can download full pdf version of manual, it may contain additional safety instructions, warranty information, FCC rules, etc.