Paul Neuhaus 828957 Pino LED Table Lamp

POWER ON/OFF

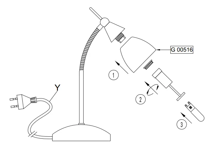
INSTALLATION INSTRUCTIONS


Paul Neuhaus GmbH Olakenweg 36 59457 Werl Germany





Paul Neuhaus GmbH Olakenweg 36 59457 Werl Germany
Download manual
Here you can download full pdf version of manual, it may contain additional safety instructions, warranty information, FCC rules, etc.