acer CP314-1H-P9G7 Chromebook Spin 314 Convertible Laptop User Manual
Important
This manual contains proprietary information that is protected by copyright laws. The information contained in this manual is subject to change without notice. Images provided herein are for reference only and may contain information or features that do not apply to your computer. Acer Group shall not be liable for technical or editorial errors or omissions contained in this manual.
Register your Acer product
Go to www.acer.com/register-product, and sign in or sign up your Acer ID to register your product.
Once it is done, you can review it under “My Products” page.
Model number: ________________________________
Serial number: _________________________________
Date of purchase: ______________________________
Place of purchase: ______________________________
Google and Google Play are trademarks of Google LLC.
GETTING STARTED
Turn on your Chromebook
On the Chromebook, press the power button. A “Welcome” screen will appear when the Chromebook first boots up.
Select your language settings
Use the “Language” drop-down list to choose your default language setting. If there is more than one way to type in your language, you may be prompted to select a keyboard input method as well.
Connect to a network
Select a network from the “Connect to network” list to connect to the
Internet. If network access is protected, you will need an access password to connect to it.
Accept the Terms of Service
Once connected to a network, accept the Terms of Service. Your Chromebook will then download any available system updates, so you automatically get the latest Chrome OS features.
First-time sign-in
Create a new Google Account
You can create a new Google Account if you don’t already have one.
Select Create a Google Account to set up a new account. A Google Account gives you access to useful web services developed by Google, such as Gmail, Google Drive, and Google Calendar.
Browse as a guest
You can also use the Chromebook without a Google Account by selecting Browse as a Guest.
YOUR ACER CHROMEBOOK TOUR
Front view

| # | Icon | Item | Description |
| 1 | Webcam | Web camera for video communication. A light next to the webcam indicates that the webcam is active. | |
| 2 | Microphones | Internal microphones for sound recording. | |
| 3 | Screen | Displays computer output, supports touch or non-touch option. |
Keyboard view

| # | Icon | Item | Description |
| 1 | Power button | Turns the computer on and off. | |
| 2 | Keyboard | For entering data into your computer. | |
| 3 | Speakers | Deliver stereo audio output. | |
| 4 | Touchpad / click button | Touch-sensitive pointing device which functions like a computer mouse. Pressing down anywhere on the pad functions like the left button of a mouse. Pressing down anywhere with two fingers functions like the right button of a mouse. |
Function keys
The Chromebook uses function keys or key combinations to access some hardware and software controls, such as screen brightness and volume. The dedicated function keys each have a specific function.
| Icon | Function | Description |
| Previous | ||
| Reload | ||
| Full-screen | ||
| Next window | ||
| Screenshot | ||
| Brightness down | ||
| Brightness up | ||
| Mute | ||
| Volume down | ||
| Volume up | ||
| Launcher |
Common keyboard shortcuts
You can use shortcuts to complete some tasks more quickly.
| Keyboard shortcuts | Description |
| Ctrl + | Takes screenshot. |
| Alt + | Toggles caps lock. |
| Alt + | Projects your screen. |
Note: For a complete list of keyboard shortcuts, press Ctrl + Alt + /
Touchpad
The built-in touchpad is a pointing device that senses movement on its surface. This means the cursor responds as you move your fingers across the surface of the touchpad.
| Action | Gesture |
| Click | Press down on any part of the touchpad. |
| Two-finger tap (or alt-click) | Tapping the touchpad with two fingers or pressing (and holding) Alt on the keyboard and tapping the touchpad with one finger both equal a “right-click” on a computer mouse. |
| Two-finger swipe | Place two fingers on the touchpad and move them up and down to scroll vertically, left and right to scroll horizontally. |
| Drag and drop | Select the item you want to move with one finger. With a second finger, move the item. Release both fingers to drop the item. (This gesture works for files, not windows or icons.) |
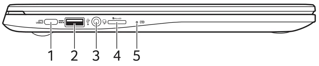
Left view

| # | Icon | Item | Description |
| 1 | USB Type-C port with DC-in | Connects to the provided USB Type-C power adapter and to USB devices with a USB Type-C connector. Supports DisplayPort™ over USB-C™. | |
| 2 | USB port | Connects to USB devices. | |
| 3 | ![]() | Headset/speaker jack | Connects to audio devices (e.g., speakers, headphones), or a headset with microphone. |
| 4 | MicroSD card slot | Insert a microSD card into this slot. | |
| 5 | Battery indicator | Indicates the computer’s battery status. Charging: The light shows amber when the battery is charging. Fully charged: The light shows blue when in AC mode. |
Right view

| # | Icon | Item | Description |
| 1 | USB port | Connects to USB devices. | |
| 2 | USB Type-C port with DC-in | Connects to the provided USB Type-C power adapter and to USB devices with a USB Type-C connector. Supports DisplayPort™ over USB-C™. | |
| 3 | Kensington lock slot | Connects to a Kensington-compatible security lock. |
USB 3.2 Gen 1 information
- USB 3.2 Gen 1 compatible ports are blue.
- Compatible with USB 3.2 Gen 1 and earlier devices.
- For optimal performance, use USB 3.2 Gen 1-certified devices.
- Defined by the USB 3.2 Gen 1 specification (SuperSpeed USB).
USB Type-C information
- Supports DisplayPort™ audio/video output.
- Delivers up to 3 A at 5 V DC for USB charging.
- DC-in: requires power adapter or power source providing 45 W at 5~20 V.
For optimal performance, please use a certified Acer power adapter or USB Power Delivery device.
FREQUENTLY ASKED QUESTIONS
Chromebooks use apps from the Google Play Store and on the web. There are apps to be productive, get creative, enjoy movies and shows, play games and more.
You can get more apps from the Google Play Store
or the web.
Chromebooks work with Microsoft® Office.
Whether it’s Word, Excel® or PowerPoint®, you can easily find the apps on the web.
All your files are stored in the Files app
.
Find the app by clicking the Launcher icon and searching “Files”
.
Transfer your local files using a compatible storage device. Your Chromebook works with most external storage devices (e.g.: USB thumb drives, removable hard drives).
You can also upload your files, photos, and videos to Google Drive. After setting up your Chromebook with your Google Account, you’ll be able to access your files on Drive.
You’ll use your Google Account to sign in to your Chromebook. It is the same account you use for Google services such as Gmail and Drive. Your Chromebook uses your account information to automatically sign you into apps and services.
If you want to set up parental controls for your child, it’s important that you sign in using your child’s personal Google Account. If they don’t already have one, you can create one during the sign-in process on your Chromebook. You will be able to add your child’s school account after you complete device onboarding.
Get help or more information
For information on: | Refer to: |
Chromebook Help | Open the Explore app |
Chrome OS |
© 2022. All Rights Reserved.
Acer Chromebook Spin 314 / Acer Chromebook Enterprise Spin 314
Covers: CB314-3H / CB314-3HT / C934 / C934T
This revision: February 2022


on your Chromebook.


















