Midea MRC05M4AWW 5.0 Cu. Ft. Chest Freezer User Manual
FREEZER SAFETY
YOUR SAFETY AND THE SAFETY OF OTHERS ARE VERY IMPORTANT
To prevent injury to the user or other people and property damage, the instructions shown here must be followed. Incorrect operation due to ignoring of instructions may cause harm or damage, including death.
The level of risk is shown by the following indications.
WARNING: This symbol indicates the possibility of death or serious injury.
CAUTION: This symbol indicates the possibility of injury or damage to property.
WARNING: This symbol indicates the possibility of dangerous voltage constituting a risk of electrical shock is present that could result in death or serious injury.
IMPORTANT SAFETY INSTRUCTIONS
WARNING
GENERAL APPLIANCE SAFETY
- Read all safety warnings, instructions, illustrations and specifications provided with this appliance. Failure to follow all instructions listed below may result in electric shock, fire and/or serious injury.
- Save all warnings and instructions for future reference
ELECTRICAL SAFETY
- Plug into a grounded 3 prong outfit.
- Do not remove ground plug.
- Do not use an adapter.
- Unplug the power cord by holding the plug, never by pulling the cord.
- DO NOT turn the appliance on or off by plugging or unplugging the power cord.
- DO NOT use an extension cord.
- Unplug the freezer before cleaning or defrosting.
Grounding requirement
- This freezer must be grounded. This freezer is equipped with a grounding plug. The plug must be inserted into an outlet that is properly installed and grounded.
- Improper use of the grounding plug can result in a risk of electric shock. Consult a qualified electrician or service person if the grounding instructions are not completely understood or if doubt exists as to whether the freezer is properly grounded.
LOCATION SAFETY
- This freezer is intended to be used in household and similar environments.
- Install in accordance with the manufacturer’s instructions.
- This freezer should not be recessed or built-in an enclosed cabinet. It is designed for freestanding installation only.
WARNING – Keep ventilation openings, in the freezer, clear of obstruction. - DO NOT install near any heat sources, such as radiators, heat registers, stoves, other cooking appliances or in direct sunlight.
- DO NOT store or use gasoline or any flammable liquids inside or in the vicinity of this freezer.
USE AND CARE SAFETY
- Flammable refrigerant used. Follow handling instructions carefully. Risk of fire or explosion due to puncture of refrigerant tubing.
- Flammable refrigerant used. Do not use mechanical devices to defrost freezer. Do not puncture refrigerant tubing.
- Do not place heavy objects or other appliances such as microwave ovens, toasters etc. on the lid of the freezer.
- This appliance is not intended for use by persons (including children) with reduced physical, sensory or mental capabilities, or lack of experience and knowledge, unless they have been given supervision or instruction concerning use of the appliance by a person responsible for their safety.
- Children should be supervised to ensure that they DO NOT play with the appliance.
- DO NOT touch the interior of the freezer with wet hands. This could result in frostbite.
- Clean only with a damp cloth. Use nonflammable cleaner.
SERVICE SAFETY
- Disconnect power before servicing.
- Flammable refrigerant used. To be repaired only by trained service personnel. Do NOT puncture refrigerant tubing.
- Refer all servicing to qualified service personnel. Do not repair or replace any part of this appliance unless specifically recommended in this manual. Servicing is required when the appliance has been damaged in any way, such as the power supply cord or plug is damaged, liquid has been spilled or objects have fallen into the appliance, the appliance has been exposed to rain or moisture, does not operate normally, or has been dropped.
- If the supply cord is damaged, it must be replaced by the manufacturer, its service agent, or similarly qualified person, in order to avoid a hazard.
- If component part is damaged, it must be replaced by the manufacturer, its service agent or similarly qualified persons in order to avoid a hazard.
- Replace all parts and panels before operating.
SAVE THESE INSTRUCTIONS
THIS APPLIANCE IS FOR HOUSEHOLD USE ONLY
State of California Proposition 65 Warnings:
WARNING: Cancer and Reproductive Harm –www.P65Warnings.ca.gov.
PROPER DISPOSAL
WARNING
Suffocation Hazard
Before you throw away your old freezer:
- Remove the door or lid so that children cannot hide or get trapped inside your old appliance.
- Leave any shelves in place so that children may not easily climb inside.
- Failure to follow these instructions can result in death or brain damage.
IMPORTANT: Flammable gas and refrigerant used. It is the consumer’s responsibility to comply with Federal and Local regulations when disposing of this product. Refrigerants must be evacuated by a licensed, EPA certified refrigerant technician in accordance with established procedures.
OPERATION REQUIREMENTS
LOCATION REQUIREMENTS
WARNING
Explosion and Fire Hazard
- Keep flammable materials and vapors, such as gasoline, away from appliance.
- Failure to do so, can result in death, explosion or fire.
This freezer is designed to be freestanding only, and should not be recessed or built-in.
- Place your freezer on a floor that is level and strong enough to support the freezer when it is fully loaded.
- Place your freezer where there is access to the required electrical connection. See “Electrical Requirements.”
- Your freezer is designed for use in a location where the temperature will not exceed 110 °F (43 °C). Temperatures 32 °F and below will NOT affect operation.
- Locate the freezer away from direct sunlight and sources of heat, such as a stove, heater or radiator.
NOTE: Direct sunlight may affect the acrylic coating and heat sources may increase electrical consumption. - Avoid locating the freezer in areas with high humidity.
- Adequate air circulation is required for efficient operation. Maintain the recommended clearance to ensure adequate air circulation.
RECOMMENDED CLEARANCE
a: 8″ (20 cm) Between sides and back of cabinet and walls
b: 20.9″ (53 cm) Above the freezer
ELECTRICAL REQUIREMENTS
WARNING
Electrical Shock Hazard
- Plug into a grounded 3 prong outlet.
- Do not remove the ground prong from the power cord plug.
- Do not use an adapter.
- Do not use an extension cord.
- Failure to do so can result in death, fire or electrical shock
IMPORTANT: A 115 Volt, 60 Hz., AC only, 15-amp fused, grounded electrical supply is required.
- Use an electrical outlet that accepts the grounding prong.
NOTE: The power cord is equipped with a 3-prong (grounding) plug which mates with a standard 3-prong (grounding) electrical outlet. - We recommend that the freezer be plugged into an electrical circuit serving ONLY this appliance.
- Use an electrical outlet that cannot be turned off with a switch or pullchain.
- DO NOT use an extension cord.
a: 3-prong plug
b: 3-prong receptacle
c: Receptacle box cover
PARTS AND FEATURES
a: Lid handle
b: Storage basket
c: Power cord
d: Temperature control (with power indicator)
e: Casters (4)
f: Drainage hole
SPECIFICATIONS
| Model | MRC05M4AWW | MRC07M4AWW |
| Dimension (WxDxH) | 24.7 ” x 22.1″ x 33.5″ (62.8 x 56.2 x 85.0 cm) | 32.0″ x 22.1″ x 33.5″ (81.2 x 56.2 x 85.0 cm) |
| Weight | 59.5 lbs. (27 kg) | 66.1 lbs. (30 kg) |
| Power requirements | 115 V ~ 60 Hz | |
| Power cord length | 67″ (170 cm) | |
INSTALLATION
UNPACK
WARNING
Fire or Explosion Hazard
- Do not puncture refrigerant tubing.
- Follow handling instructions carefully.
- Flammable refrigerant used.
- Failure to do so can result in death, explosion or fire.
IMPORTANT: Remove ALL exterior and interior packing materials including the foam packing between the exterior condenser and the freezer cabinet.
MOVE TO FINAL LOCATION
WARNING
Fire or Explosion Hazard
- Do not puncture refrigerant tubing.
- Follow handling instructions carefully.
- Flammable refrigerant used.
- Failure to do so can result in death, explosion or fire.
IMPORTANT: If the freezer has been in a horizontal position for any period of time, wait 24 hours to allow the refrigerant to settle before plugging in the freezer.
Two casters are included to allow you to move the freezer easily.
- When moving the freezer, tape the lid closed.
NOTE: Tilting the freezer more than 45° could damage the compressor and the sealed system. - When moving the freezer, DO NOT turn it upside down or on its side.
BEFORE USE
WAITING PERIOD
- Before connecting the freezer to power, wait 30 minutes for the refrigerant to settle.
NOTE: This reduces the possibility of a malfunction in the cooling system from improper handling during transportation.
CLEANING
- Wash the freezer interior using a soft cloth dampened with a baking soda solution (2 tablespoons baking soda mixed with 1 quart of warm water).
- Using a soft cloth, thoroughly dry all surfaces.
FREEZER USE
GENERAL
- The storage life of frozen foods varies and the recommended storage time should not be exceeded.
- Pre-packed, commercially frozen food should be stored in accordance with the frozen food manufacturer’s instructions for a three-star frozen food storage compartment or home freezer.
- DO NOT put bottled food or drinks in the freezer.
WARNING
Electrical Shock Hazard
- Plug into a grounded 3 prong outlet.
- Do not remove the ground prong from the power cord plug.
- Do not use an adapter.
- Do not use an extension cord.
- Failure to do so can result in death, fire or electrical shock.
- Plug in the freezer. The Power Indicator on the control should illuminate.
- Set the Temperature Control dial to MAX. Wait 30 minutes, and then open the freezer lid to determine if the freezer is cooling.
- Allow the freezer to continue to cool for 2 to 3 hours before adding fresh or frozen food.
NOTE: If the room temperature is warm, allow the freezer to cool for at least 4 hours before adding food. - Place food into the freezer as quickly as possible to prevent cold air from escaping the freezer.
POWER FAILURE
In the event of a power failure, food that is completely frozen will remain good for several hours.
- Do not open the lid.
- Do not add fresh food to the freezer.
ENERGY SAVING TIPS
- Allow hot foods to cool to room temperature before placing them in the freezer. Foods that freeze too slowly may lose quality or spoil.
- Wrap foods properly and wipe containers dry before placing them in the freezer. This cuts down on frost build-up inside the freezer.
- Do not line freezer storage shelves or baskets with aluminum foil, wax paper or paper toweling. Liners interfere with cold air circulation, making the freezer less efficient.
- Organize and label food to reduce door openings and extended searches. Remove as many items as needed at one time, and then close the door as soon as possible.
- Do NOT add a large amount of unfrozen food to the freezer at one time. This will lower the cooling efficiency of the freezer.
- Overloading the freezer forces the compressor to run longer.
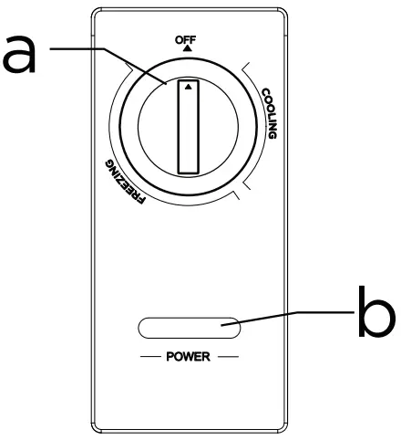
CONTROL
The Power Indicator on the Control will illuminate to let you know that the freezer is connected to a power supply
a: Temperature control dial
b: Power indicator
SET TEMPERATURE
The temperature control, located near the lower, right-hand corner of the freezer, has three positions FREEZING , COOLING and OFF.
- Cooling temperature range: 32°F ~ 50 °F (0°C ~ 10 °C)
- Freezing temperature range: 10°F ~ 11 °F (-12°C ~ -24 °C)
- OFF: Turns off cooling/freezing
IMPORTANT: Setting the control to the Off position does NOT disconnect power to the freezer.
FREEZER CARE
Your freezer is designed for year-round use and requires minimal cleaning and maintenance. To keep your freezer running efficiently and odor free, we recommend that you clean the freezer regularly.
CLEANING
WARNING
Electrical Shock Hazard
- Unplug your appliance or disconnect power before cleaning.
- Failure to do so can result in death, electric shock or personal injury.
WARNING
Explosion Hazard
- Use nonflammable cleaner.
- Failure to do so can result in death, explosion or fire.
IMPORTANT: To prevent damage to the finish, DO NOT use gasoline, benzene, thinner or other solvents, and DO NOT use abrasive cleaners
- Unplug the freezer from the electrical outlet.
- Remove all food.
- Wash the baskets with a mild detergent solution.
- Wash the freezer interior using a soft cloth dampened with a baking soda solution (2 tablespoons baking soda mixed with 1 quart of warm water).
- Clean the gasket around the lid. Gently wipe the gasket using a soft cloth dampened with a mild detergent solution.
NOTE: Gaskets must be kept clean and pliable to assure a proper seal. - Using a soft cloth, thoroughly dry all surfaces.
- Plug in or reconnect power.
DEFROSTING
WARNING
Fire or Explosion Hazard
- Do not puncture refrigerant tubing.
- Follow handling instructions carefully.
- Flammable refrigerant used.
- Failure to do so can result in death, explosion or fire.
Your freezer must be defrosted manually. For most efficient operation and to minimize energy consumption, defrost the freezer whenever the frost becomes 1/4″ (6 mm) thick.
IMPORTANT: Do NOT use boiling water to defrost the freezer.
- Turn the temperature control to the OFF position, and unplug the freezer.
- Open the freezer lid and remove all food items. While defrosting, store the food where it will remain frozen.
NOTE: Defrosting usually takes a few hours. Keep the lid open to speed the defrosting process. - Place a collection tray (not provided) beneath the drainage hole to collect the water as the ice melts and drains.
- Remove the plug from the drainage hole. Monitor the collection tray and empty it regularly to avoid overflow.
- When defrosting is complete, wipe the freezer interior dry with a soft cloth and replace the plug into the drainage hole.
WARNING
Electrical Shock Hazard- Plug into a grounded 3 prong outlet.
- Do not remove the ground prong from the power cord plug.
- Do not use an adapter.
- Do not use an extension cord.
- Failure to do so can result in death, fire or electrical shock.
- Plug into a grounded 3 prong outlet.
- Reset the temperature control to MAX, and wait 2 to 3 hours for the freezer to cool.
- Return the frozen food to the freezer and set the temperature control to the desired setting.
MOVING
IMPORTANT: When moving your freezer, DO NOT tilt it beyond 45° from upright.
- Unplug your freezer from the wall outlet.
- Remove all food.
- Securely tape down all loose items inside your freezer.
- Tape the door shut.
STORAGE
IMPORTANT: Do not store freezer in a location that is accessible to children.
- Unplug your freezer from the electrical outlet.
- Remove all food.
- Clean the freezer.
- Tape wood or rubber blocks under the edge of the lid to allow air to circulate inside the freezer. This helps avoid possible formation of condensation, mold or odor.
TROUBLESHOOTING
IMPORTANT: DO NOT try to repair your freezer yourself. Doing so invalidates the warranty
| PROBLEM | POSSIBLE CAUSE | SOLUTION |
| The freezer does not operate | The freezer is unplugged. | Make sure that the freezer power cord is fully plugged into the electrical outlet. |
| The fuse on the circuit is blown or the circuit breaker is tripped. | Check the house fuse / circuit breaker box and replace the fuse or reset the circuit breaker. | |
| Power failure. | If a power failure occurs, the freezer turns off. Wait until the power is restored. | |
| The Temperature control is set to OFF. | Turn the temperature control dial to MAX or MIN. | |
| The freezer lid does not close completely | Food packages are interfering with the lid. The lid seals (gaskets) are dirty. | Move or remove some food items. Clean the lid gaskets. |
| Food in the freezer is not cold | The lid has been opened too often or was not closed properly. | Make sure the lid is closed properly. |
| A large amount of food was recently added. | Allow time for the recently added food to cool, and then check again. | |
| The lid is not closed completely. | Check the seal (gasket) and food distribution to make sure the lid will close completely. | |
| The freezer has been disconnected for a period of time. | Allow 4 hours for the freezer to cool completely before adding food. | |
| The temperature control is set too warm. | Set the temperature control to a colder setting. | |
| The freezer makes unusual noises or vibrations | The freezer cabinet is touching a wall. Metal parts undergo expansion and contraction. | Move the freezer away from the wall. This is normal. |
| Refrigerant circulating throughout the system may produce an airflow sound. | This is normal. | |
| Compressor may generate a buzzing sound, especially when starting up or shutting down. | This is normal. | |
| The solenoid valve or electric switch may clatter. | This is normal. | |
| Moisture is building up in the interior of the freezer | The lid has been opened too often or was not closed properly. The freezer is located in a humid area. | Make sure that the lid is closed properly.
Move the freezer to a drier location. |
| The weather is hot and humid. | This is normal. | |
| The freezer lid does not close completely | Food packages are interfering with the lid closure. The lid gaskets are dirty. | Move or remove some food items. Clean the lid gaskets. |
| The compressor turns on and off frequently. | The room temperature is hotter than normal. There is a thick layer of frost in the freezer. | This is normal. Defrost the freezer. See “Defrosting.” |
| A large amount of food was recently added. | Allow time for the recently added food to cool, and then check again. | |
| The lid is not closed completely or was opened too often. | Check the seal (gasket) and food distribution to make sure the lid will close completely. | |
| The freezer has been disconnected for a period of time. | Allow 4 hours for the freezer to cool completely before adding food. | |
| The thermostat was not set correctly. | Set the thermostat to the correct setting. | |
| Freezer has an odor | Freezer needs cleaning. | Clean the freezer. See, “Cleaning.” |
| Improperly wrapped food is giving off an odor. | Wrap food tightly or seal before storing it in the freezer. |
Midea Refrigerator Warranty
Your product is protected by this warranty:
Warranty service must be obtained from Midea Consumer Services or an authorized Midea servicer.
Warranty
- One year full warranty from original purchase date.
Midea, through its authorized servicers will:
- Pay all costs for repairing or replacing pads of this appliance which prove to be defective in materials or workmanship.
Consumer will be responsible for:
- Diagnostics, removal, transportation and reinstallation cost required because of service.
- Costs of service calls that are a result of items listed under NORMAL RESPONSIBILITIES OF THE CONSUMER”
Nlidea replacement parts shall be used and will be warranted only for the period remaining on the original warranty.
NORMAL RESPONSIBILITIES OF THE CONSUMER**
This warranty applies only to products in ordinary household use, and the consumer is responsible for the items listed below:
- Proper use of the appliance in accordance with instructions provided with the product.
- Routine maintenance and cleaning necessary to keep in good working condition.
- Proper installation by an authorized service professional in accordance with instructions provided with the appliance and in accordance with all local plumbing, electrical and / or gas codes.
- Proper connection to a grounded power supply of sufficient voltage, replacement of blown fuses, repair of loosened connections or defects in house wiring.
- Expenses for making the appliance accessible for servicing.
- Damages to finish after installation.
EXCLUSIONS
This warranty does not cover the following:
- Failure caused by damage to the unit while in your possession (other than damage caused by defect or malfunction), by its improper installation, or by unreasonable use of the product, including without limitation, failure to provide reasonable and necessary maintenance or to follow the written Installation and Operating Instructions.
- Products purchased “as-is” or refurbished are not covered by this warranty.
- Food loss caused by refrigerator or freezer failure.
- Service calls to repair or replace consumables such as water filters, light bulbs, air filters, etc., or handles, knobs and other cosmetic parts.
- Product that has been transferred from its original owner.
- Interior or exterior rust on the unit.
- Damages caused by services performed by persons other than authorized Midea servicers; use of parts other than Midea replacement parts obtained from persons other than Midea customer service; or external causes such as abuse, misuse, inadequate power supply or acts of God.
- Service calls resulting from improper installation of your product.
- Service calls to instruct you on the use of your product.
- Surcharges including, but not limited to, any after hour, weekend, or holiday service calls, tolls, ferry trip charges, or mileage expense for service calls to remote areas, including the state of Alaska.
- If the unit is put to commercial, business, rental, or other use or application other than for consumer use, we make no warranties, express or implied, including but not limited to, any implied warranty of merchantability or fitness for particular use or purpose.
- Product that has been removed outside the USA or Canada.
- Products without original serial numbers or products that have serial numbers which have been altered or cannot be readily determined.
Note: Some states do not allow the exclusion or limitation of incidental or consequential damages. So this limitation or exclusion may not apply to you.
IF YOU NEED SERVICE
Keep your bill of sale, delivery slip, or some other appropriate payment record. The date on the bill establishes the warranty period should service be required. If service is performed, it is your best interest to obtain and keep all receipts. This written warranty gives you specific legal rights. You may also have other rights that vary from state to state. Service under this warranty must be obtained by following these steps, in order:
- Contact Midea Consumer Services or an authorized Midea servicer at 1-866-646-4332 MIDEA.
- If there is a question as to where to obtain service, contact our Consumer Relations Department.



















