
KitchenAid KRFF577 36 Inch Width Standard Depth French Door Refrigerator

DESCRIPTION

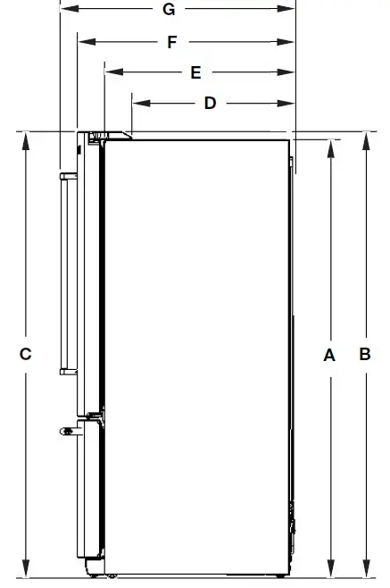
| Description | Inches | mm | |
| A | Width of RC door | 177⁄8 | 453.9 |
| B | Width of FC door | 3515⁄16 | 912.6 |
| C | Space between RC doors | 3/8 | 9.18 |
| D | Height of RC door | 4411⁄16 | 1135.4 |
| E | Height of FC door | 2111⁄16 | 551.5 |
| F | Space between RC and FC doors | 1/2 | 12 |
| G | Height of door handles | 319⁄16 | 802.4 |
| H | Height of Top Handle to Floor | 639⁄16 | 1614 |
| I | Height of grille | 31⁄8 | 79.1 |
| J | Height to bottom of the dispenser | 391⁄4 | 996.1 |
| K | Width of Dispenser | 913⁄16 | 249.9 |
| L | Height of Dispenser | 9 | 229.4 |
| M | Water line location distance from side | 21⁄2 | 63.5 |
| N | Water line location distance from bottom | 83⁄16 | 207.7 |
Because Whirlpool Corporation policy includes a continuous commitment to improve our products, we reserve the right to change materials and specifications without notice. Dimensions are for planning purposes only. For complete details, see Installation Instructions packed with product. Specifications subject to change without notice.

Electrical Requirements
WARNING
Electrical Shock Hazard
- Plug into a grounded 3 prong outlet.
- Do not remove ground prong.
- Do not use an adapter.
- Do not use an extension cord.
- Failure to follow these instructions can result in death, fire, or electrical shock.
![]() | Power chord | ||
| Type | Length | ||
| Inches | mm | ||
| Standard | 755⁄8 | 1920 | |
Electrical: A 115 V, 60 Hz AC only, 15 A or 20 A fused, grounded electrical supply is required. It is recommended that a separate circuit serving only your refrigerator be provided. Use an outlet that cannot be turned off by a switch. Do not use an extension cord.
Water: A cold water supply with water pressure of between 30 psi and 120 psi (207 kPa and 827 kPa) is required to operate the water dispenser and ice maker. If you have questions about your water pressure, call a licensed, qualified plumber.
Because Whirlpool Corporation policy includes a continuous commitment to improve our products, we reserve the right to change materials and specifications without notice. Dimensions are for planning purposes only. For complete details, see Installation Instructions packed with product. Specifications subject to change without notice.
DIMENSION

| Description | Inches | mm | |
| A | Depth without doors | 293⁄4 | 755.27 |
| B | Depth with doors | 3315⁄16 | 861.37 |
| C | Depth with handles | 365⁄8 | 930.77 |
| D | Space required for water lines and power chord | 2 | 50.8 |

| Description | Inches | mm | |
| A | Width from RC side of refrigerator to handle – door fully open 135° | 137/8 | 352.63 |
| B | Width from side RC side of refrigerator to handle – door open 90° | 4 | 100.9 |
| C | Depth with RC doors open 90° | 487/8 | 1240.87 |
| D | Space required for water lines and power chord | 2 | 50.8 |

| Description | Inches | mm | |
| A | Depth with FC door fully open | 545/8 | 1387.92 |
| B | Space required for water lines and power chord | 2 | 50.8 |

| Description | Inches | mm | |
| A | Height of recessed refrigerator | 6811/16 | 1744.6 |
| B | Height to top of hinges | 6915/16 | 1776.6 |
| C | Total Height | 701/16 | 1780.4 |
| D | Depth to back of hinges | 253/8 | 643.77 |
| E | Depth without doors | 293/4 | 755.27 |
| F | Depth with doors | 3315/16 | 861.37 |
| G | Depth with handles | 365/8 | 930.77 |
| Interior dimensions | Width Inches (mm) | Height Inches (mm) |
| Refrigerator | 329/16″ | 401/8″ |
| Compartment | (827.2) | (1019.4) |
| Freezer | 311/8″ | 1715/16″ |
| Compartment | (790.4) | (454.8) |
Location Requirements

Explosion Hazard
Keep flammable materials and vapors, such as gasoline, away from refrigerator. Failure to do so can result in death, explosion, or fire.
To ensure proper ventilation for your refrigerator, allow for 1/2″ (1.27 cm) of space on each side and at the top. Allow for 1″ (2.54 cm) of space behind the refrigerator. If your refrigerator has an ice maker, allow extra space at the back for the water line connections. When installing your refrigerator next to a fixed wall, leave a 2″ (5.08 cm) minimum space on each side (depending on your model) to allow the doors to swing open.
NOTES:
- This refrigerator is intended for use in a location where the temperature ranges from a minimum of 55°F (13°C) to a maximum of 110°F (43°C). The preferred room temperature range for optimum performance, which reduces electricity usage and provides superior cooling, is between 60°F (15°C) and 90°F (32°C). It is recommended that you do not install the refrigerator near a heat source, such as an oven or radiator.
- Normal minimum cabinet cut-out width required for product installation is 36″ (91.44 cm). However, if the product is placed against an extended wall and the ability to remove the crisper pans is desired, an additional 18″ (45.72 cm) of cabinet width is required, so a total cabinet opening width of 54″ (137.16 cm) is recommended.
Refrigerator Compartment Features

| Refrigerator Compartment Features | |||
| Description | A Width Inches (mm) | B Height Inches (mm) | C Depth Inches (mm) |
| Pantry | 327/16″ | 55/8″ | 203/16″ |
| (823.2) | (142.8) | (512.7) | |
| Crisper Drawer | 325/16″ | 77/8″ | 183/4″ |
| (821.3) | (199.6) | (475.9) | |
| Shelf Plater | 3113/16″ | 27/16″ | 153/16″ |
| (350.8) | (61.1) | (386) | |

| Refrigerator Compartment Features | |||
| Description | A Width Inches (mm) | B Height Inches (mm) | C Depth Inches (mm) |
| Tuck Shelf | 155/8″ | 31/2″ | 19″ |
| (397) | (88.9) | (482.3) | |
| Shelf | 151/2″ | 33/8″ | 193/16″ |
| (394) | (85.4) | (487.2) | |

| Refrigerator Compartment Features | |||
| Description | A Width Inches (mm) | B Height Inches (mm) | C Depth Inches (mm) |
| Pan Lower | 297/8″ | 111/16″ | 217/8″ |
| (759.4) | (281.6) | (555.9) | |
| Pan Upper | 297/8″ | 81/8″ | 195/8″ |
| (759.4) | (206.7) | (498.5) | |



















