BLACK DECKER BD17212 38 Steel Round Fire Pit Instruction Manual
SAFETY ALERT SYMBOLS AND WORDS
This instruction manual uses the following safety alert symbols and words to alert you to hazardous situations and your risk of personal injury or property damage.
DANGER: Indicates an imminently hazardous situation which, if not avoided, will result in death or serious injury.
WARNING: Indicates a potentially hazardous situation which, if not avoided, could result in death or serious injury.
CAUTION: Indicates a potentially hazardous situation which, if not avoided, may result in minor or moderate injury.
(Used without word) Indicates a safety related message.
NOTICE: Indicates a practice not related to personal injury which, if not avoided, may result in property damage.
WARNING: Read all safety warnings and all instructions. Failure to follow the warnings and instructions may result in electric shock, fire and/or serious injury.
WARNING:
DO NOT allow children or pets near the fire pit without supervision.
DO NOT touch surface of fire pit while in use.
FOR OUTDOOR USE ONLY! Burning wood and charcoal indoors can kill you. It gives off carbon monoxide, which has no odor.
NEVER burn in vehicles, tents, garages, other enclosed areas or indoors.
CARBON MONOXIDE HAZARD.
NEVER LEAVE FIRE UNATTENDED!
NEVER place a storage cover on fire pit when in use. Ensure the fire pit has cooled before placing a storage cover over the fire pit.
DO NOT use under overhead cables or power lines.
DO NOT pour water into the fire pit when it is burning, this will cause rusting.
WARNING: To reduce the risk of injury, read the instruction manual.
WARNING
This product and the fuels used to operate this product (charcoal or wood), and the products of combustion of such fuels, can expose you to chemicals including carbon black, which is known to the State of California to cause cancer, and carbon monoxide, which is known to the State of California to cause birth defects or other reproductive harm. For more information go to www.p65Warnings.ca.gov.
HARDWARE


Package Contents

- A Mesh Ring
- B Wood Grate
- C Fire Bowl
- D Table
- E Heat Shield
- F Legs
- G Base
- H Feet
- I Poker
ASSEMBLY INSTRUCTIONS
Before beginning assembly of product, make sure all parts are present. Compare parts with package contents list and hardware contents list. If any parts are missing or damaged, donot attempt to assemble the product. Contact customer service for replacement parts.
Estimated Assembly Time: 30 minutes Tools required for assembly (not included): Phillips Screwdriver
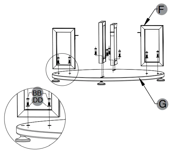
- Screw in the 4 feet (H) to the base (G) of the fire pit.

- Using 8 washers (DD) and 8 M6x45 mm bolts (BB), attach the legs (F) to the base (G).

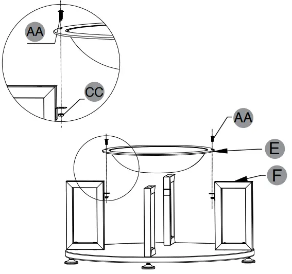
- Attach the heat shield (E) to the legs and base assembly, using 2 M6x20 mm bolts (AA) and 2 M6 nuts (CC) secured tightly.

- Flip the base assembly upside down and align with the holes on the bottom side of the table (D). Attach the base assembly to the table (D) with 8 washers (DD) and 8 M6x45 mm bolts (BB). Tighten securely with a Phillips screwdriver.

- Turn the table right side up. Place the fire bowl (C) inside the table. Then, place the wood grate (B) inside the fire bowl (C).

- Place the mesh ring (A) onto the table. Please make sure the metal tabs on the mesh ring are inserted into the holes on the tabletop.

- Your fire pit is now ready for use. Keep the poker (I) nearby to tend to your fire.

OPERATION
To Light
- Make sure all debris is removed from the fire pit.
- Place dry logs into the center of the fire bowl. Add dry kindling of your choice to the base of your wood stack.
- Use a long match to light the kindling.
Tending The Fire
- Use a fire poker to shift embers/wood logs to allow for additional airflow.
- Wait until the fire is going strong to add any additional wood. While adding wood, be careful not to smother the fire and leave plenty of room for oxygen between the logs.
To Extinguish
- Allow fire to burn itself out.
- Do not use water to put out your fire, it will cause damage to your fire pit.
- Once the fire pit has completely cooled down, turn it over to remove any remaining ash.
- Store your unit in a cool and dry location when not in use.
MAINTENANCE
WARNING:
Allow fire pit to cool completely before moving or performing maintenance.
- To extend the life of your fire pit, clean it after each use.
- To protect the fire pit finish, use a soft cloth to wipe the fire pit and poker.
- Do not attempt to clean while hot.
- Store in a cool, clean, dry place.
- Use gloves in lieu of bare hands while handling.
- Place a storage cover over the fire pit once it has cooled.
- For best results, use only wood that is completely dry.
WARRANTY
If within one year from the date or original purchase, this item fails due to a defect in material or workmanship, we will replace or repair at our option, free of charge.
To order parts or to obtain warranty service, call 1-877-447-4768, 8:00AM-4:30PM, CST, Monday-Friday.
This warranty does not cover defects resulting from improper or abnormal use, misuse, accident, or alteration. Failure to follow all instructions in the owner’s manual will also void this warranty. The manufacturer will not be liable for incidental or consequential damages, or common erosion of outdoor products. Some states do not allow the exclusion or limitation of incidental or consequential damages, so the above limitation may not apply to you. This warranty gives you specific legal rights, and you may also have other rights which vary from state to state.
REPLACEMENT PARTS
For replacement parts, call our customer service department at 1-877-447-4768, 8:00 a.m. –4:30 p.m.,CST, Monday – Friday.


| Replacement parts Model | BD17212 Item | Description Mesh Ring | Part No.30-07-451-B |
| BD17212 | |||
| BD17212 | B | Wood Grate | 30-07-452-B |
| BD17212 | C | Fire Bowl | 30-07-453-B |
| BD17212 | D | Table | 30-07-454-B |
| BD17212 | E | Heat Shield | 30-07-455-B |
| BD17212 | F | Legs | 30-07-600-B |
| BD17212 | G | Base | 30-07-456-B |
| BD17212 | H | Feet | 30-07-457-B |
| BD17212 | I | Poker | 30-07-459-B |
| BD17212 | AA-EE | Hardware Pack | 30-09-590 |
BLACK & DECKER, BLACK+DECKER
The BLACK & DECKER and BLACK+DECKER logos and product names and the orange and black color scheme are trademarks of The Black & Decker Corporation, used under license. All rights reserved.
Product Manufactured by:
GHP Group Inc.
6440 W Howard St., Niles, IL 60714
U.S. & Canada Only

























