SCARLETT SC-VC80H08 Wired Vacuum Cleaner

DESCRIPTION

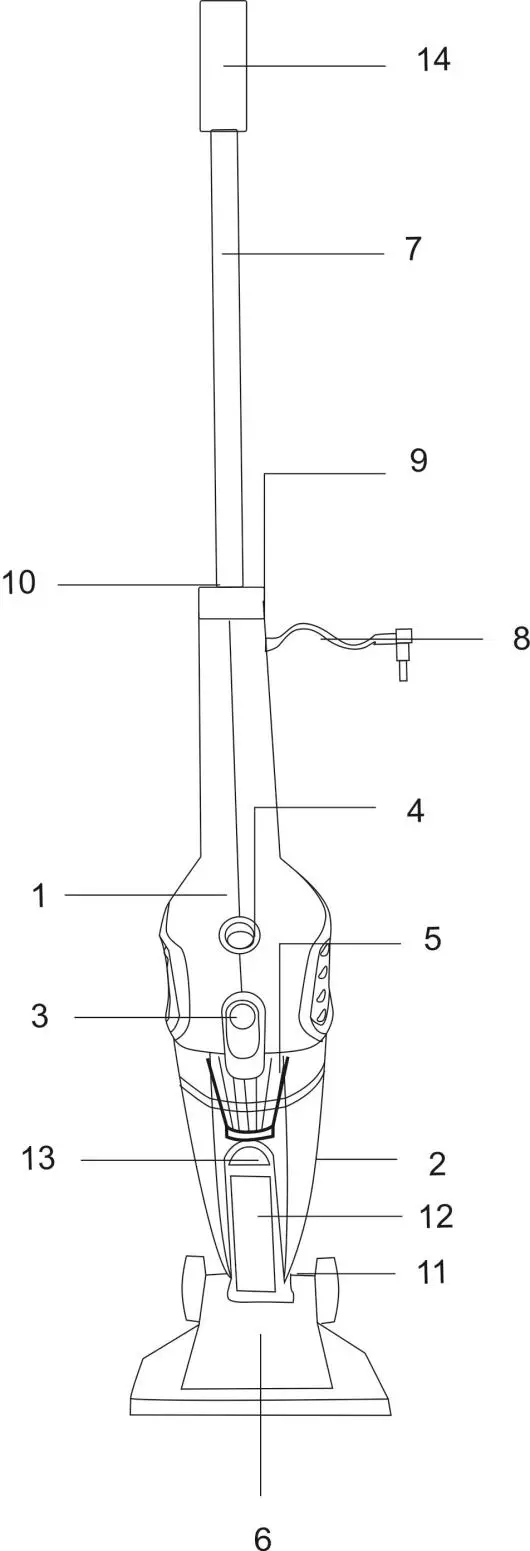
- Body
- Dust Bowl
- Dust Bowl Release button
- On/off switch
- HEPA filter
- Floor brush
- Metal stick
- Cord and plug
- Clip
- Hole for tube
- Hole for brush
- Crevice nozzle
- Crevice nozzle release button
- Handle
|
220-240 V ~ 50 Hz ll |
600 W |
1.5 / 1.9 kg | 1015 | mm |
| 160
230 | ||||
IMPORTANT SAFEGUARDS
- Read this instruction manual carefully to prevent any unit damage or injure when using. Mishandling can cause a damage to the product, a material damage of health harm to user.
- When using this appliance, basic precautions should always be followed:
- Before the first use of the appliance check that the voltage indicated on the rating label corresponds to the mains voltage in your home.
- For home use only. Do not use for industrial purposes.
- Do not use the appliance outdoors and on wet surfaces.
- To prevent risk of electric shock and fire, do not immerse the appliance in water or any other liquids. If it has happened DO NOT TOUCH the appliance, unplug it immediately and check in a service center.
- Do not handle the plug with wet hands. Never switch off the appliance by pulling the cord.
- Do not let the cord hang over sharp edges or touch hot surfaces.
- Always unplug the appliance from the power supply when not in use and before servicing.
- In case of power cord is damaged, its replacement should be done by the manufacture or service department or the other high-skill person to avoid any danger.
- To avoid deforming of plastic components of the appliance or fire accident, never leave the appliance exposed to direct sun light or near any heater.
- The appliance is not intended for use for physically, sensory or mental disabled person (including children) or for person with lack of life experience or knowledge, if only they are under supervision or have been instructed about the use of the unit by responsible person.
- Children must be under control in order not to be allowed to play with the appliance.
- Do not put any object into air outlets. Do not use with outlet blocked. Keep free of dust, hair and anything that may reduce airflow.
- Be careful when cleaning on stairs.
- Before start using the vacuum cleaner, please remove all large or sharp objects from the floor in order to prevent damage of the unit.
- CAUTION: To avoid voltage overload do not plug the unit and other powerful electrical appliances to the power supply at the same time.
- Never use the vacuum cleaner without filters.
- Do not use the appliance on wet surfaces. This unit does not absorb water.
- If you have cleaned the carpet with liquid detergent, let the carpet dry up completely before vacuuming it.
- Never use the appliance without dust bin. Replace the dust bin without delay if it is damaged.
- Do not attempt to repair, adjust or replace parts in the appliance. Repair the malfunctioning appliance in the nearest service center.
- If the product has been exposed to temperatures below 0ºC for some time it should be kept at room temperature for at least 2 hours before turning it on.
- The manufacturer reserves the right to introduce minor changes into the product design without prior notice, unless such changes influence significantly the product safety, performance, and functions.
- The manufacturing date is indicated on the unit and/or on packing as well as in accompanying documents in the following format XX.XXXX where first two figures XX is the month of production, and the following four figures XXXX is the year of production.
VACCUUM CLEANER ASSEMBLY
- The device can be used for removing dust from furniture, cars, crevices, curtains, decorative surfaces and rooms.
- Unpack the device.
- Take the metal stick and insert and connect the metal stick into the opening.
- Insert and connect the floor nozzle at the lower opening of the main body of the hand vacuum cleaner.

OPERATION
- Connect the plug of the device to the wall power socket.
- Press ON/OFF switch to activate the vacuum cleaner. To deactivate it press ON/OFF switch once again.
- Use a vacuum cleaner without metal stick for cleaning of easy-available surfaces, car, and furniture.
- To disassemble the metal stick from the body of vacuum cleaner, open the clip and pull the stick upward.
- The model includes a crevice nozzle for removing dust from hard-to-reach places. Remove brush and push crevice nozzle release button for disassembling it.
- WARNING!
- Be sure to clean the container after each cleaning.
- Never use the vacuum cleaner without an installed filter and with a damaged or dirty filter. Otherwise, dust will fall into the motor and cause damage to the vacuum cleaner.
- Don’t use the vacuum cleaner if the container is filled to the mark “MAX”. When the container is filled, dirty air clogs up the vacuum cleaner filter and the engine can overheat and disable.
- Don’t use the vacuum cleaner for cleaning of material debris such as cement, whitewash, plaster, metal shavings and etc. These particles cause to the engine damage.
- Don’t wash vacuum cleaner parts in a dishwasher or a construction machine.
CLEANING AND MAINTENANCE
- Switch off your vacuum cleaner and disconnect the plug of the device from wall socket.
- Remove floor brush from the body of the vacuum cleaner by pulling it downward.
- If a crevice nozzle was used, fold it and hold on a body.
- Disconnect the metal stick.
- Disconnect dust bowl from the vacuum cleaner. Press the dust bowl release button to do it. Empty the dust bowl.
- Dustbowl can be opened without disassembling the dust bowl from the body of vacuum cleaner. For that press the dust bin lower lid release button. We recommend emptying dust bowl after each usage.

- Clean outer surface of the vacuum cleaner body with soft cloth with small amount of detergents that do not contain abrasives. NOTE: It is forbidden to submerge the device and the plug into the water of any flood.
FILTER CLEANING
- Filter should be rinsed clean at least twice a year or when it becomes visibly dirty.
- Grasp the filter assembly from its center and remove the filter from the dust bowl by pulling it on.

- Rinse the filter under cool tap water and dry it.
- It is forbidden to dry the filter on radiators or by using other heating devices.
- Refit the filter into the vacuum cleaner.
- The filter should be checked regularly for signs of damage preferably after each cleaning.
- NOTE: Do not switch the vacuum cleaner on without refitted filter as it may cause motor damage.
STORAGE
- Store the vacuum cleaner vertically.
- There are special hooks on the handle of device for cord storage.
www.scarlett.ru
www.scarlett-europe.com
References
Scarlett
Scarlett
Официальный Ñайт техники Scarlett - Ð±Ñ‹Ñ‚Ð¾Ð²Ð°Ñ Ñ‚ÐµÑ…Ð½Ð¸ÐºÐ°, техника Ð´Ð»Ñ ÐºÑƒÑ…Ð½Ð¸ и Ð´Ð»Ñ Ð´Ð¾Ð¼Ð°, климатичеÑкое оборудование
Официальный Ñайт техники Scarlett - Ð±Ñ‹Ñ‚Ð¾Ð²Ð°Ñ Ñ‚ÐµÑ…Ð½Ð¸ÐºÐ°, техника Ð´Ð»Ñ ÐºÑƒÑ…Ð½Ð¸ и Ð´Ð»Ñ Ð´Ð¾Ð¼Ð°, климатичеÑкое оборудование
Dictionary





















