SCARLETT SC-VC80R12 Robotic Vacuum Cleaner

DESCRIPTION

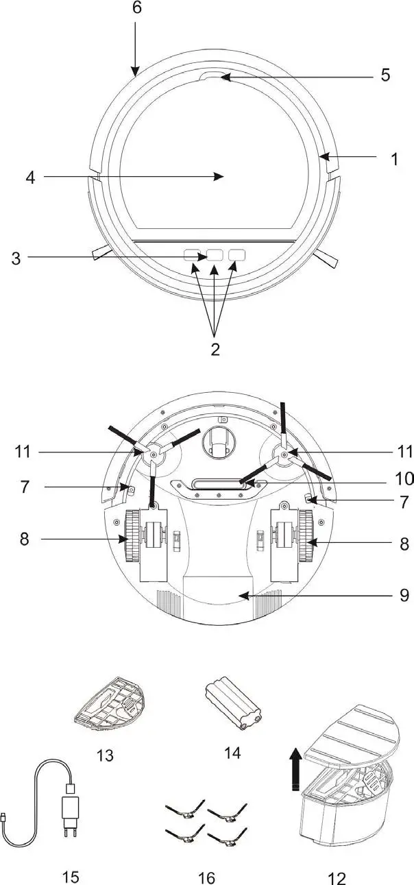
- Body
- Control button
- Indicator light
- Upper cover
- Upper cover hand
- Adapter plug outlet
- Anti-drop sensor
- Front small wheel
- Battery cabinet
- Intake
- Side brush holes
- Inner dust bin
- Filter
- Rechargeable battery
- Adapter and power cord
- Side brushes 4 pcs.
| AC/DC АС 220-240 V~ 50 Hz 0.6 A DC 5 V 1 A II 5 V 1 A |
15 W |
1.8 / 1.95 kg | 75 | mm |
| 280
280 | ||||
IMPORTANT SAFEGUARDS
- Read this instruction manual carefully to prevent any unit damage or injure when using.
- When using this appliance, basic precautions should always be followed:
- Before the first use of the appliance check that the voltage indicated on the rating label corresponds to the mains voltage in your home.
- For home use only. Do not use for industrial purposes.
- To reduce the risk of electric shock, do not use it outdoors or on wet surfaces. Do not immerse unit or cord in any liquids.
- To avoid deforming of plastic components of the appliance or fire accident, never leave the appliance exposed to direct sun light or near any heater.
- The appliance is not intended for use for physical, sensory or mental disabled person (including children) or for person with lack of life experience or knowledge if only they are under supervision or have been instructed about the use of the unit by a responsible person.
- Children must be under control in order not to be allowed to play with the appliance.
- Never use the vacuum cleaner without filters.
- Do not attempt to repair, adjust or replace parts in the appliance. Repair the malfunctioning appliance in the nearest service center.
- If the product has been exposed to temperatures below 0ºC for some time it should be kept at room temperature for at least 2 hours before turning it on.
- In case of power cord is damaged, its replacement should be done by the manufacturer or service department or another high-skill person to avoid any danger.
- The manufacturer reserves the right to introduce minor changes into the product design without prior notice, unless such changes influence significantly the product safety, performance, and functions.
- The manufacturing date is indicated on the unit and/or on packing as well as in accompanying documents in the following format XX. XXXX where first two figures XX is the month of production, and the following four figures XXXX is the year of production.
- Use this product in temperatures from +5 °С to +40 °С
- Do not sit on top of this product or attach an object on top of it. Beware of children or pets while the product is in operation.
- Never use the product to clean up combustible or highly volatile liquids such as gasoline.
- While the product is in operation, make sure all doors leading outside are closed.
- The charging adaptor is for indoor use only.
- Do not recharge the product if the battery cord or plug is damaged.
- Never touch the charger, plug or cable with damped hands.
- Please take out the battery when it is not in use for a long time.
- The battery is to be disposed of safety
- The appliance should be used only with the power supply supplied with the appliance.
- The instrument must be powered only by a safe, ultra-low voltage marked on the instrument.
RECHARGING BATTERY
- Observe the polarity and put the battery into the vacuum cleaner to the battery cabinet.
- Connect one end of the adapter cord to the power socket on the vacuum cleaner and another one to the wall power socket. The charging indicator will pulse red. When the battery is charged, the indicator is solid green.
- When the product runs out of power, LED indicator will turn red
- To ensure the best performance and life span of the battery, please charge the product for 2hrs continuously PREPARATION
- Mini Robotic Vacuum Cleaner is equipped with functions suitable for cleaning up floor surfaces of home and office, such as wood, tile, and linoleum
- Please remove foam packing before starting using.
- The device is not suitable for plush/deep-pile carpets.
- Clear up all items lying around the room that could catch in the brushes or nozzle or which could obstruct the device while cleaning. Be particularly sure to not leave any plastic bags on the floor.
- Make sure that the device is not able to come into contact with cables, cords or tassels, e.g. of curtains, table cloths or carpets. If necessary, fold the edges of carpets with tassels under the carpet.
- Remove all items that could be knocked over (e.g. vases, small lamps, decorative items).
- There should be at least 40 cm of distance between two objects (e.g. wall and shelf) in order for the device to pass through.
- The device could get stuck under pieces of furniture if it does not have the necessary clearance. Block the path e.g. with flower pots that are heavy enough to prevent being knocked off.
- Put side brush at its place on the bottom and then push to fix it. And vice visa—to pull up, side brush will be taken out.
NOTE - The brushes are not suitable for long-pile carpets
MAINTENANCE
CONTROL BUTTONS
POWER BUTTON
- Press the POWER button, the device will start moving automatically. The light indicator will turn on and flashes green during operation. Green and red indicators will be on in standby mode.
- The device work in bow shaped in this mode, if the device meets many obstacles, it starts to clean on the edge trajectory
- Press the power button again to turn off the vacuum cleaner.
SPIRAL CLEANING MODE BUTTON
- Press spiral mode cleaning button, the device will move in spiral trajectory from starting point and back. This mode is most suitable for heavily dirty areas.
START/PAUSE button
- Press the start/stop button once to stop the cleaning, click again to resume the cleaning
- SLEEP MODE
- The device turns on sleep mode after 5 minutes pause, press any control button to restart working.
CARE AND CLEANING
DUST BIN CLEANING
- Pull up the upper cover directly.
- Take out the dust bin out of the vacuum cleaner.
- Open the lid of dust bin by putting your finger into the dust bin groove and gripping to take it out
- Take out the inner filter
- Empty the dirt in the dust bin
- Rinse the dustbin with tap water. Do not wash it in the washing machine, dish-washing machine or another machine.
- Periodically clean the filter with a soft bristle brush.
- Reinstall the filter and the dust bin lid once they get dried.
- Put back the dust bin into the cleaner
ATTENTION: - After repeated use for some time, dirt and dust might accumulate around the intake of the product, to ensure its best cleaning efficiency and constant airflow it should be cleaned periodically Vacuum cleaner or cord should never be immersed in water or any liquids.
- WARNING!
- Be sure to clean the container after each cleaning.
- Never use the vacuum cleaner without an installed filter and with a damaged or dirty filter. Otherwise, dust will fall into the motor and cause damage to the vacuum cleaner.
- Don’t use the vacuum cleaner if the container is filled to the mark “MAX”. When the container is filled, dirty air clogs up the vacuum cleaner filter and the engine can overheat and disable.
- Don’t use the vacuum cleaner for cleaning of material debris such as cement, whitewash, plaster, metal shavings and etc. These particles cause to engine damage.
- Don’t wash vacuum cleaner parts in a dishwasher or a construction machine.
BATTERY REMOVAL
- The battery must be removed from the appliance before its disposal.
- When removing the battery, the appliance must be disconnected from the power supply.
STORAGE
- Fulfil all the steps from parts CARE AND CLEANING.
- Store the unit in dry cool place or in the original box.
TROUBLESHOOTING
- If all solutions given above don’t work for you, please re-set the robot by switching on the power button
| Problem | Possible Cause | Solution |
| Red LED stays after power on | 1. Battery Low condition 2. Main body is picked up | 1. Recharge the battery 2. Re-place the robot on the floor |
| Vacuum on but can not collect dirt and hair | 1. The dust bin is full 2. The filter is not installed correctly | 1. Clean the dust bin 2. Re-install the filter correctly |
| The product is moving backward after being started | 1. The product is on dark color floor 2. Anti-drop sensor light was covered | 1. Put the robot on the light color floor. 2. Clean the anti-drop sensor light. |
| LED indicators to flash in blue after 2hrs charging | The power supply might be cut off during charging | The robot can be operated if the the battery has been fully charged for 2hrs |
| The side brushes are crooked, not good to sweep | Being used for a long time | If it becomes crooked, please scald it in hot water to recover it to its original shape |
| The product cannot start | 1. Battery is not installed properly 2. Battery low 3. The robot is under protection status | 1. To install the battery correctly 2. To have the battery fully charged(turn off the cleaner first) 3. To re-set the robot |
The symbol on the unit, packing materials and/or documentation means used electrical and electronic units should not be toss in the garbage with ordinary household garbage. These units should be pass to a special receiving point.
The symbol on the unit, packing materials and/or documentation means the battery used in this product not be toss in the garbage with ordinary household garbage.
For additional information about the actual system of garbage collection, address to the local authority.
Valid utilization will help to save valuable resources and avoid negative work on the public health and environment which happens with incorrect using garbage.



















