TOOL CRAFT 2386385 Low Voltage Pressurized Water Pump
Operating Instructions
Intended use
The product is a professional self-priming 2-chamber diaphragm pump. It has an automatic pressure switch that will automatically start/stop the pump when a tap or valve is opened/closed. Only for use with fresh water or salt water.Some applications include:
- Yacht, caravan pressurized water systems
- Sprayer fixtures (vehicle mounted, electric)
- Cleaning machines, humidifier, water purification
- Food beverage filling and liquid transfer
- Solar water systems
For safety and approval purposes, you must not rebuild and/or modify this product. If you use the product for purposes other than those described above, the product may be damaged. In addition, improper use can result in short circuits, fires, or other hazards. Read the instructions carefully and store them in a safe place. Make this product available to third parties only together with its operating instructions.This product complies with the statutory national and European requirements. All company names and prod-uct names are trademarks of their respective owners. All rights reserved.
Delivery contents
- Pump
- 3x fittings
- Filter
- Operating instructions
Up-to-date operating instructions
Download the latest operating instructions at www.conrad.com/downloads or scan the QR code shown. Follow the instructions on the website.
- The symbol with the exclamation mark in the triangle is used to indicate important information in these operating instructions. Always read this information carefully.
- This product is constructed according to protection class III.
- Not for use where flammable vapors are present.
- The arrow symbol indicates special information and advice on operation.
Safety instructions
Read the operating instructions carefully and especially observe the safety information. If you do not follow the safety instructions and information on proper handling in this manual, we assume no liability for any resulting personal injury or damage to property. Such cases will invalidate the warranty/guarantee.
- The device is not a toy. Keep it out of the reach of children and pets.
- Do not leave packaging material lying around carelessly. This may become dangerous playing material for children.
- Protect the appliance from extreme tempera-tures, strong jolts, flammable gases, steam and solvents.
- Do not place the product under any mechanical stress.
- If it is no longer possible to operate the product safely, take it out of operation and protect it from any accidental use. Safe operation can no longer be guaranteed if the product:
- is visibly damaged,
- is no longer working properly,
- has been stored for extended periods in poor ambient conditions or
- Please handle the product carefully. Jolts, im-pacts or a fall even from a low height can dam-age the product.
- Consult an expert when in doubt about the op-eration, safety or connection of the appliance. Maintenance, modifications and repairs must only be completed by a technician or an author-ised repair centre.
- If you have questions that remain unanswered by these operating instructions, contact our technical support service or other technical personnel.
- Also observe the safety and operating instructions of any other devices which are connected to the product.
- Do not use the pump for petrol/gasoline, petroleum products, solvents, thinners or ANY other flammable liquid.
- Not for use where flammable vapors are present.
Installation
- Observe the direction of flow (arrow marking on the underside) indicating the outlet port.
- Do not adjust the bypass or pressure switch without professional assistance.
- Always disconnect the power supply when installing or servicing electrical parts.
Materials
Some of the following items may be required for installation but are not included.
- 2x (at least) pieces of flexible, reinforced hose piping, with collapsing strength of twice the inlet port collapsing pressure. Hose must be minimum 10 mm (3/8”) inner diameter.
- 4x stainless steel hose clamps and screws.
- 4x screws to fasten the pump to the mounting surface.
- 1x electrical cutoff switch.
- 1x fuse
- 1x screwdriver
- 1x strong cutting implement for tubing
- Teflon tape or sealant
Installation notes
- • The pump can be mounted in any position.
- If mounted vertically, the pump head should be pointing down to avoid leakage into the motor casing if there is a malfunction.
- Secure the feet, but do not compress them. Overtightening the securing screws may reduce their ability to dissipate noise and vibration.
- Inlet hose must be a minimum ø10 mm (inner) re-inforced hose. Main distribution line from pump outlet should also be ø10 mm (inner) with branch and individual supply lines to outlets no smaller than ø10 mm (inner).
- Plumb the system using high pressure (2x pump rating), braided, flexible tubing to minimize vibra-tion/ noise.
- Do not apply inlet pressure >2 bar. It is recommended to avoid inlet pressure.
- Avoid kinks or fittings which can cause excessive restrictions.
- The fittings must be secured to avoid leakage.
- Use clamps at both ends of hose to prevent air leaks into the water line.
- If a check valve is installed in the plumbing, it must have a cracking pressure ≤0.14 bar.
- Wire the pump on its own dedicated circuit.
- Red wire (+) connects to battery (+).
- Black wire (-) connect to battery (-).
- Install in an easy-to-access location with a switch to control electricity to the pump.
- Switch the pump off when not used for extended periods or when the tank is empty.
- The electrical circuit should be protected with an over-current protection device (e.g. fuse) along the positive lead.
- The pump circuit should not include any other electrical loads.
- Use the correct wire size for the length required. See “c) Wiring information”.
- After installation, check the voltage is correct:
- Check voltage at the motor.
- Voltage should be checked when the pump is
- If using rigid piping, attach a short length of hose between the pipe and the pump to avoid noise and vibration.
- It is not recommended to use metal fittings. Use the provided plastic fittings if possible.
Wiring information
Observe the recommended lengths to wire size.
| Length (meters) | Ø mm2 (AWG) |
| 0 – 15 | 1.50 (16) |
| 15 – 19 | 2.50 (14) |
| 19 – 30 | 4.00 (12) |
| 100 – 130 | 5.50 (10) |
Pressure switch adjustment
- Consult a professional technician if the pressure switch need to be adjusted.
- Improper adjustment may damage the pump.
- The factory default settings are configured for optimal operation of the pump.
- If an application requires different settings:
- Rotate screw clockwise: increase pressure
- Rotate screw counter-clockwise: decrease pressure.
- If the switch pressure is set is too high, it will effectively be deactivated. If the pressure is too low relative to the cut-off pressure of the pressure switch, it will not allow the pump to turn off.
Maintenance and storage
- Regularly inspect electrical wiring and connections.
- Do not use any aggressive cleaning agents, rubbing alcohol or other chemical solutions as they can cause damage to the housing and malfunction.
- Before storage, especially before or cold weather (winter), it is important to prepare the pump:
- Disconnect, drain, and store the pump where it will not freeze.
- Open all the ports to allow air into the pump so the water can drain out.
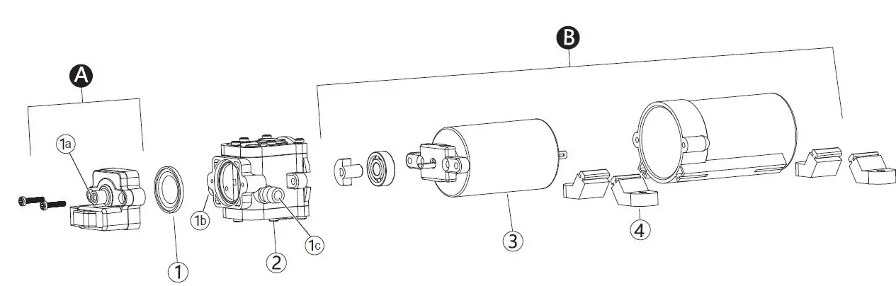
Parts overview
| A | Pressure switch | 2 | Pump head assembly |
| B | Motor assembly | 3 | Motor |
| 1 | Pressure switch diaphragm | 4 | Rubber feet |
| 1a | Pressure adjuster | ||
| 1b | Inlet port (suction) | ||
| 1c | Outlet port (discharge) |
Troubleshooting
| Problem | Suggestions |
| Pulsating flow. Pump cycles ON and OFF. | • Check lines for kinks. • Plumbing lines or fittings may be too small. • Clean faucets and filters. • Check fittings for tightness (prevent air leaks). |
|
No pump discharge – failure to prime but motor operates. | • Restricted inlet or discharge line. • Air leak in inlet line. • Punctured pump diaphragm. • Initial current supply (amps) not high enough to start the motor. • Debris clogging the valves. • Crack in the pump housing. |
|
Motor does not switch ON. | • Loose or incorrect wiring. • No power supplied to the pump circuit. • Blown fuse or thermal protection triggered. – Blown fuse: replace the fuse with one that is of the same type and speci- fication. – Thermal protection triggered: switch power off, allow pump to cool down, remove the conditions triggering therrmal protection, then switch pump back on. • Failed pressure switch. • Damaged motor. |
|
Pump does not switch on when all fixtures are closed. | • Punctured diaphragm. • Discharge line leak. • Defective pressure switch. • Clogged valves in pump head. – Try pouring water into the inlet to separate (unstick) the valve and the valve seat • Insufficient voltage. |
|
Low flow / low pressure. | • Air leak at pump inlet. • Accumulated debris inside pump or housing. • Worn pump bearing (possibly accompanied by loud noise). • Punctured diaphragm. • Damaged motor. |
|
Noisy | • Check if the mounting feet are screwed in too tightly. • If the mounting surface is flexible it may be vibrating. • Check for loose parts, screws. • If the pump is plumbed with rigid piping, it may transmit noise. |
Disposal
Electronic devices are recyclable waste and must not be disposed of in household waste. At the end of its service life, dispose of the product in accordance with applicable regulatory guidelines. You thus fulfill your statutory obligations and contribute to the protection of the envi-ronment.
Technical data
- Input voltage / current……………………….12 V/DC, 4 A
- Fuse……………………………………………….8 A
- Protection class……………………………….III
- Ingress protection…………………………….IPX5
- Pressure setting……………………………….2.4 bar
- Inlet pressure…………………………………..max. 2 bar
- Run dry safe……………………………………yes
- Duty cycle……………………………………….intermittent
- Adjustable pressure switch………………..yes
- Adjustable bypass……………………………no
- Self-priming……………………………………..yes
- Thermal protection……………………………yes
- Ignition protected……………………………..no
- Pump type………………………………………diaphragm
- Priming…………………………………………..1.8 m suction lift
- Fluid medium…………………………………..fresh water, salt water
- Fluid medium temp…………………………..max. 60 ºC
- Discharge head……………………………….max. 20 m
- Wire lead………………………………………..length: 33 cm, ø1 mm² (18 AWG)
- Flow rate…………………………………………max. 258 l/h
- Hose connection………………………………ø10 mm (3/8”)
- Operating/Storage temp…………………… 0 to +40 ºC
- Dimensions (W x H x D)……………………98 x 62 x 169 mm
- Weight……………………………………………600 g





















