SILVER MONKEY UT-400 Mount

PARTS INCLUDED

Safety information
- Adjust the mount with the installed device only.
- Make sure that the weight of the device does not exceed the weight defined in the specification.
- Check that the screws are tightly fastened.
- The wall must be able to sustain the device on the bracket according to its allowable load.
- Proper tools and at least two people are required for safe installation.
- Mounting requires extreme caution. If the bracket with the device falls, it can cause injury, permanent damage to health or even death.
- Keep the device out of the reach of children. They may swallow some parts.
- Use the device only in accordance with the operating instructions.
- If the device stops working properly – contact us.
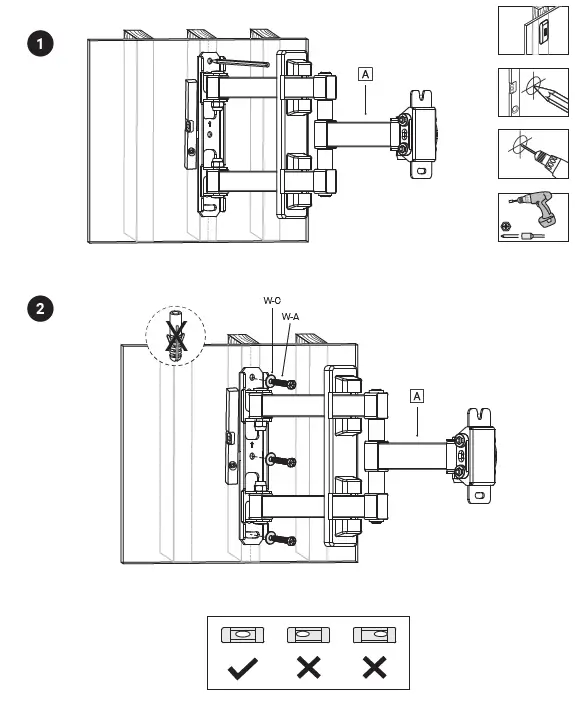
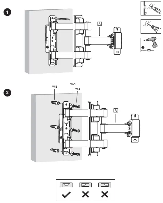
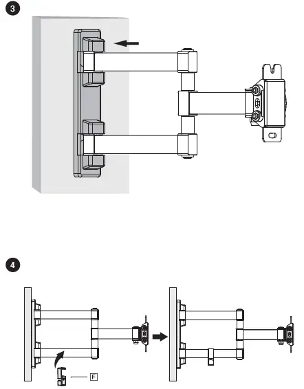
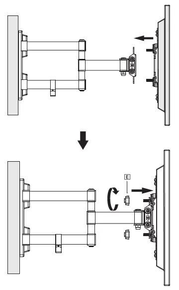
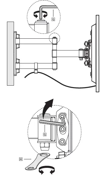
INSTALLATION INSTRUCTIONS








Specification
TV Wall Mount
- TV size 13” – 42”
- VESA compatibility 75×75, 100×100, 200×100, 200×200
- Maximum load 20 kg
- Rotation range +90° ~-90°
- Distance from the wall 60 – 364 mm
Warranty and technical support
Your product is covered by a 24-month manufacturer’s warranty. For more information go to www.silvermonkey.com/support. If you have questions about using the product – contact us at [email protected]. Manufacturer: Silver Monkey sp. z o.o., ul. Twarda 18, 00-105 Warszawa, Poland.


















