GENERALAire GF-RMB15R Elite Steam Remote Wall Blower

WARNINGS
BEFORE INSTALLING OR HANDLING THE REMOTE BLOWER PLEASE CAREFULLY READ AND FOLLOW THE INSTRUCTIONS AND SAFETY STANDARDS DESCRIBED IN THIS MANUAL AND ON THE LABELS ATTACHED TO THE REMOTE BLOWER.
CAUTION: ALWAYS DISCONNECT THE MAIN POWER TO THE HUMIDIFIER BEFORE OPENING OR SERVICING THE HUMIDIFIER OR REMOTE BLOWER!
IMPORTANT: BEFORE beginning installation: Check for shipping damage to cartons. Mark the shipping waybill ac cordingly. Open cartons and check for any hidden damage. Mark the shipping waybill accordingly. Check packing slip to ensure all items have been received. Notify Canadian General Filters Ltd. of any shortage or damaged parts. You must notify Canadian General Filters Ltd within 5 working days of any shortages. This product is to be installed only in a residential setting. The conditions of the environment and the power supply voltage must comply with the spe cified values listed on the data label in the humidifier. All other uses and modifications made to the humidifier that are not authorized by the manufacturer are considered incorrect, and the manufacturer assumes no liability for the consequences of any such unauthorized use and will void the warranty. Please note that the humidifier contains powered electrical devices and hot surfaces. All service and/ or maintenance operations must be performed by qualified personnel who are aware of the necessary precau-tions and are capable of performing the operations correctly. Disconnect the humidifier from the main power supply before accessing any internal parts. The humidifier must be installed in accordance with all local and national standards.
WARNING: Your humidifier requires water to operate. Do NOT mount it above materials or machinery that could be damaged if a leak occurs. Canadian General Filters Ltd. assumes no responsibility for consequential or inconsequential damage as a result of any leaks.
Disposal
Disposal of the parts of the humidifier: the humidifier is made up of metallic and plastic parts. All parts must be disposed of according to the local standards on waste disposal. Warranty on materials: 2 years (from the date of production, excluding the consumable parts).
- MODELS
- Remote Wall Blowers are designed to distribute steam directly into the living space needing addi-tional humidity. The remote wall blowers operate at different voltages
- GF-RMB35 230VAC ~1 for use with DS35 and DS25.
- GF-RMB15 110VAC ~1 for use with DS15P and DS15.
- Remote wall blowers may only be installed in a vertical wall distributing steam horizontally.
- Remote Wall Blowers are designed to distribute steam directly into the living space needing addi-tional humidity. The remote wall blowers operate at different voltages
- OPERATION
- When demand for humidity is made, the Elite Steam Humidifier will start. The control module will recognize the demand for steam and supply power to the RMB and the Steam Cylinder. The RMB Blower will run and distribute the steam into the room. The RMB grill is designed to blow steam outward and slightly down to avoid condensation on the ceiling. A cleanable filter is located behind the grill to protect the RMB from large particles. When the demand for humidification ends, power to the steam cylinder is stopped. The blower continues to run for 30 seconds to distribute any remaining steam.
- CHOOSING LOCATION
- Choose a location that will be near the Elite Steam humidifier. Try to keep the length of the steam hose to a minimum. The RMB must be mounted above the Elite Steam humidifier. The RMB will create condensate that must drain back to the humidifier by gravity.
NOTES:- The RMB must be in the wall, and connected to the humidifier by the steam hose supplied.
- The RMB must be mounted a least 12 inches above the humidifier.
- Pockets and traps in the hoses must be avoided. Condensate will accumulate in low areas and prevent steam movement. The steam hose must not have sharp bends or twists.
- The dimensions in Fig 3.1 and 3.2 are minimum distances to prevent the humidified air from coming in contact with people, electrical equipment, ceilings and cold surfaces before the steam has been completely absorbed. Choose the location with care as the steam is hot and can cause burns.

- Choose a location that will be near the Elite Steam humidifier. Try to keep the length of the steam hose to a minimum. The RMB must be mounted above the Elite Steam humidifier. The RMB will create condensate that must drain back to the humidifier by gravity.
- WALL OPENING
- The RMB housing will fit in a standard 2×6 wall with 1/2” drywall. If installing in a 2×4 wall then the rear drywall must also be removed and the housing will protrude out the back of the wall. Figure 4.1 below shows the wall opening dimensions for the RMB housing.
Notes:- The RMB housing has flanges on the front that must be mounted on the outside face of the drywall.
- When installing in new construction use a piece of return air angle to mark the wall where the RMB unit will go to prevent the drywall from being installed over the location for the RMB housing.

- The RMB housing will fit in a standard 2×6 wall with 1/2” drywall. If installing in a 2×4 wall then the rear drywall must also be removed and the housing will protrude out the back of the wall. Figure 4.1 below shows the wall opening dimensions for the RMB housing.
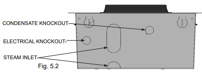
- HOUSING KNOCKOUTS
- Determine if the steam hose will be entering the housing from the back or bottom. Remove the knockouts for the steam hose, condensate hose and electrical connections.


- Determine if the steam hose will be entering the housing from the back or bottom. Remove the knockouts for the steam hose, condensate hose and electrical connections.
- INSTALLATION
- Insert the RMB housing into the wall and bend the four securing tabs around the back of the drywall. Secure the RMB housing to the wall using predrilled holes located on the four one-inch flanges of the RMB unit. Use #8 drywall screws (four required) to penetrate the wall and pass through the slot in the securing tab behind the drywall.
Note:
The four one-inch flanges on the face of the RMB unit must be on the outside of the drywall. Failure to locate the flanges on the outside face of the drywall may result in water leakage and household damage.
- Insert the RMB housing into the wall and bend the four securing tabs around the back of the drywall. Secure the RMB housing to the wall using predrilled holes located on the four one-inch flanges of the RMB unit. Use #8 drywall screws (four required) to penetrate the wall and pass through the slot in the securing tab behind the drywall.
- ELECTRICAL CONNECTIONS
- The RMB is fitted with a power supply terminal block with two terminals and a screw terminal located on the RMB housing for connecting the ground wire. The power wires should be 16 gauge or larger shielded cable with ground. Power wiring should be run through the electrical knockout in the RMB and be supported by the screw-type strain relief (supplied) to prevent damage to the terminal block. The power will be supplied from the terminals F and INT FAN located on the back side of the humidifier control module. The power supply wire must enter the humidifier on the bottom or back then be secured in the humidifier to prevent tension on the wire or connections. To access the wire connection points on the back of the module, remove the steam cylinder. The connection points are covered by protective caps that must be removed. Use two spade connectors to make the connections to the F and INT FAN terminals. The power for the RMB unit is from the terminals on the BACK of the Control Module! Electrical connections must be performed by qualified personnel in compliance with local codes.

- The RMB is fitted with a power supply terminal block with two terminals and a screw terminal located on the RMB housing for connecting the ground wire. The power wires should be 16 gauge or larger shielded cable with ground. Power wiring should be run through the electrical knockout in the RMB and be supported by the screw-type strain relief (supplied) to prevent damage to the terminal block. The power will be supplied from the terminals F and INT FAN located on the back side of the humidifier control module. The power supply wire must enter the humidifier on the bottom or back then be secured in the humidifier to prevent tension on the wire or connections. To access the wire connection points on the back of the module, remove the steam cylinder. The connection points are covered by protective caps that must be removed. Use two spade connectors to make the connections to the F and INT FAN terminals. The power for the RMB unit is from the terminals on the BACK of the Control Module! Electrical connections must be performed by qualified personnel in compliance with local codes.
- HOSE CONNECTIONS
- Connect the steam hose to the stainless fitting located at the bottom of the manifold. The stainless fitting should be inserted into the hose and secured using the hose clamp provided. Connect the condensate hose to the molded hose barb fitting on the right. The condensate hose needs to be trapped immediately under the blower housing or directly above the humidifier. A condensate trap can be made using a 6” loop in the condensate hose.
Note:- Do not force the steam hose onto the stainless fitting; this will cause the manifold to break. Apply some water to the inside of the hose and ease the hose onto the fitting.
- For information on hose connections in the Elite Steam Humidifier, please see the humidifier manual.

- Connect the steam hose to the stainless fitting located at the bottom of the manifold. The stainless fitting should be inserted into the hose and secured using the hose clamp provided. Connect the condensate hose to the molded hose barb fitting on the right. The condensate hose needs to be trapped immediately under the blower housing or directly above the humidifier. A condensate trap can be made using a 6” loop in the condensate hose.
- RMB GRILL INSTALLATION
- Attach the air filter to the grill, install the grill over the housing face and use the provided screws and pre-drilled holes to secure the grill to the RMB housing. The steam manifold will extend out past the face of the grill. The grill may be painted to match decorations in the home.
NOTE:
Use only the grill that was provided with the RMB kit. Any alterations or changes to the grill may result in water leakage and damage to the home.
- Attach the air filter to the grill, install the grill over the housing face and use the provided screws and pre-drilled holes to secure the grill to the RMB housing. The steam manifold will extend out past the face of the grill. The grill may be painted to match decorations in the home.
- MAINTENANCE
- Air filter maintenance is essential for maintaining a constant flow of air to the distributor. Neglecting the air filter (cleaning and/or replacement) will seriously affect the operation of the RMB unit. Maintenance is the responsibility of the user. The air filter should be vacuumed or rinsed with water at least once per year. More frequent cleaning may be necessary.
Note:
For new construction, the air filter must be cleaned as needed during construction and again when construction is complete.
- Air filter maintenance is essential for maintaining a constant flow of air to the distributor. Neglecting the air filter (cleaning and/or replacement) will seriously affect the operation of the RMB unit. Maintenance is the responsibility of the user. The air filter should be vacuumed or rinsed with water at least once per year. More frequent cleaning may be necessary.
- STARTUP
- the RMB blower will operate when the humidifier has a demand for humidity. The operation will continue for 30 seconds after the demand is complete.
- TECHNICAL SPECIFICATION
description value or range steam output (lb/hr) C) 0-12 storage temperature ( -10 to 70 rated power (W) 24 rated air flow-rate (cfm) 71 noise level (open field, at maximum speed, one metre from the front panel) (dB) 30 - TABLE OF SPARE PARTS
- GF-RMB15 R em ote M ount B low er K it
- GF-RMB35 R em ote M ount B low er K it
- GF-15-02 R oom B low er A ssem bly 110v for RM B
- GF-35-02 R oom B low er A ssem bly 240v for R M B
- 20-2 GF- Steam Hose 7/8” ID
- GF-20-3 Condensate Hose 3/8” ID
- GF-35-10 Hardware k it (RMB15/RMB35)
- GF-35-20 Internal steam distributor manifold
- GF-35-26 Front Grill for RMB (includes filter, labels)
- GF-35-27 RMB Installation Instructions
- GF-P-241 Steam Hose Clam p #16
- GF-P-242 Condensate Hose Clam p #6
- TROUBLESHOOTING
- PROBLEM
- RMB will not operate.
- Noises from RMB.
- Water dripping from RMB
- CAUSE
- Wrong connection at humidifier.
- Faulty power supply wiring. Check continuity through field wiring. Humidifier not calling for operation.
- Steam gurgling in steam hose.
- Interference in blower motor
- RMB recessed behind drywall.
- CORRECTION
- Connect power supply to F and INT terminals on back of control module
- See that fan symbol shown on LCD Display. See that jumper installed in AB-AB terminals. See that humidistat is demanding humidity.
- Correct kink, sag or dip in steam hose where condensate has pooled. Steam gurgling in a steam manifold. Correct kink in condensate hose. Correct elevated part of condensate hose, water only flows downhill. See that RMB is level, left-right, front-back. Interference in blower motor. Remove debris, wires, etc. from blower.
- Inspect manifold for crack or broken weld, replace if necessary. Inspect o-ring joint between stainless fitting and manifold for damage or missing parts.
- See that mounting flanges are on front face of drywall, not behind drywall. See that original grill is in use unchanged.
- PROBLEM


























