WCPD45W100xx(UK)
USB wall charger

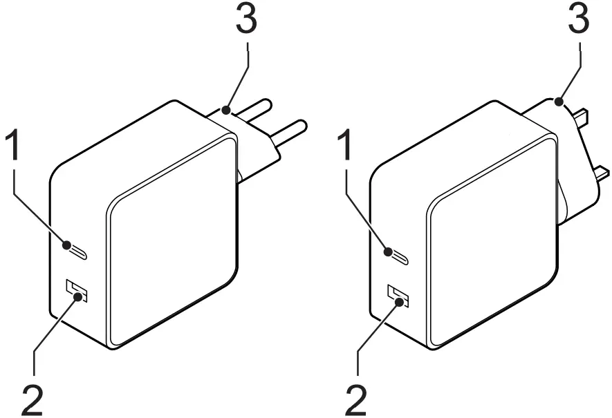
Description
| 1. USB port (USB-C) |
|
| 2. USB port (USB-A) | |
| 3. Mains plug |
Technical data
| 1. USB port (USB-C) | 45W / 5VDC-3A, 9VDC-3A, 12VDC-3A, 15VDC-3A, 20VDC-2.25A |
| 2. USB port (USB-A) | 12W / 5V-2.4A |
Safety
General safety
- Read the manual carefully before use. Keep the manual for future reference.
- The manufacturer is not liable for consequential damages or for damages to property or persons caused by non-observance of the safety instructions and
improper use of the device. - Only use the device for its intended purposes. Do not use the device for other purposes than described in the manual.
- Do not use the device if any part is damaged or defective. If the device is damaged or defective, replace the device immediately.
- The device is suitable for indoor use only. Do not use the device outdoors.
- The device is suitable for domestic use only. Do not use the device for commercial purposes.
- Do not use the device in locations with high humidity, such as bathrooms and swimming pools.
- Do not use the device near bathtubs, showers, basins or other vessels containing water.
- Do not use a timer or a separate remote-control system that switches on the device automatically.
Electrical safety

- To reduce the risk of electric shock, this product should only be opened by an authorized technician when service is required.
- Disconnect the product from the mains and other equipment if a problem should occur.
- Do not use the device if the mains cable or mains plug is damaged or defective. If the mains cable or mains plug is damaged or defective, it must be replaced by the manufacturer or an authorized repair agent.
- Before use, always check that the mains voltage is the same as the voltage on the rating plate of the device.
- Do not move the device by pulling the mains cable. Make sure that the mains cable cannot become entangled.
- Do not immerse the device, the mains cable or the mains plug in water or other liquids.
- Do not leave the device unattended while the mains plug is connected to the mains supply.
- Do not use an extension cable.
Cleaning and maintenance
Warning!
- Before cleaning or maintenance, always switch off the device, remove the mains plug from the wall socket and wait until
the device has cooled down. - Do not use cleaning solvents or abrasives.
- Do not clean the inside of the device.
- Do not attempt to repair the device. If the device does not operate correctly, replace it with a new device.
- Do not immerse the device in water or other liquids.
- Clean the outside of the device using a soft, damp cloth. Thoroughly dry the device with a clean, dry cloth.
Support
If you need further help or have comments or suggestions, please visit www.nedis.com/support



















