
AXXIO
Original operating instructions
Cordless Angle Grinder







![]() | Danger! – Read the operating instructions to reduce the risk of inquiry |
![]() | Caution! Wear ear-muff s. The impact of noise can cause damage to hearing. |
![]() | Caution! Wear a breathing mask. Dust that is injurious to health can be generated when working on wood and other materials. Never use the device to work on any materials containing asbestos! |
![]() | Caution! Wear safety goggles. Sparks generated during working or splinters, chips, and dust emitted by the device can cause loss of sight. |
![]() | Caution! Wear safety goggles. Sparks generated during working or splinters, chips and dust emitted by the device can cause loss of sight. |
![]() | This safety guard is designed for cutting and grinding/sanding. (not included in items supplied) |
![]() | Store the battery only in dry rooms with an ambient temperature of +10°C to +40°C. Place only charged batteries in storage (charged at least 40%). (not included in items supplied) |
Danger!
When using the equipment, a few safety precautions must be observed to avoid injuries and damage. Please read the complete operating instructions and safety regulations with ue care. Keep this manual in a safe place, so that the information is available at all times. If you give the equipment to any other person, hand over these operating instructions nd safety regulations as well. We cannot accept any liability for damage or accidents that arise due to a failure to follow these instructions and the safety instructions.
Safety regulations
The corresponding safety information can be found in the enclosed booklet.
Danger! Read all safety regulations and instructions.
Any errors made in following the safety egulations and instructions may result in an electric shock, fireand/or serious injury. Keep all safety regulations and instructions in a safe place for future use.
Layout and items supplied
Layout (Fig. 1)
- Spindle lock
- ON/OFF switch
- Additional handle
- Guard
- Flange nut wrench
- Battery pack (not included in delivery)
- Charger (not included in delivery)
- Pushlock button
- Battery capacity indicator
- Removable dust guard
Items supplied
Please check that the article is complete as specifi ed in the scope of delivery. If parts are missing, please contact our service center or the sales outlet where you made your purchase at the latest within 5 working days after purchase the product and upon presentation of a valid bill of purchase. Also, refer to the warranty table in the service information at the end of the operating instructions.
- Open the packaging and take out the equipment with care.
- Remove the packaging material and any packaging and/or transportation braces (if available).
- Check to see if all items are supplied.
- Inspect the equipment and accessories for transport damage.
- If possible, please keep the packaging until the end of the guarantee period.
Danger!
The equipment and packaging material are not toys. Do not let children play with plastic bags, foils or small parts. There is a danger of swallowing or suff coating!
- Angle grinder
- Additional handle
- Flange nut wrench
- Original operating instructions
- Safety instructions
Proper use
The angle grinder is designed for grinding metal and stone when using the appropriate grinding wheel and guard.
Warning! To cut metal and stone the grinder/sander may only be used when the guard (available as an accessory) is mounted.
The equipment is to be used only for its prescribed purpose. Any other use is deemed to be a case of misuse. The user/operator and not the manufacturer will be liable for
any damage or injuries of any kind caused as a result of this.
Please note that our equipment has not been designed for use in commercial, trade or industrial applications. Our warranty will be voided if the machine is used in commercial, trade or industrial businesses or for equivalent purposes.
Technical data
Motor power supply: …………………………. 18 V DC
Rated speed: …………………………………8500 min-1
Max. wheel diameter: ……………………….. 125 mm
Grinding wheels: …………………. 125 x 22 x 6 mm
Cutting wheel: …………………….. 125 x 22 x 3 mm
Mounting spindle thread: ……………………….. M14
Weight: ……………………………………………….1.2 kg
Danger!
Sound and vibration Sound and vibration values were measured in accordance with EN 60745.
LpAsound pressure level ………………… 89.1 dB(A)
KpA uncertainty ……………………………………… 3 dB
LWA sound power level ………………… 100.1 dB(A)
KWA uncertainty ……………………………………… 3 dB
Wear ear-muff s.
The impact of noise can cause damage to hearing.
Total vibration values (vector sum of three directions) determined in accordance with EN 60745.
Handle
Vibration emission value ahAG = 4.697 m/s 2
K uncertainty = 1.5 m/s 2
Additional handle
Vibration emission value ahAG = 5.354 m/s 2
K uncertainty = 1.5 m/s 2
The specifi ed vibration value was established in accordance with a standardized testing method. It may change according to how the electric equipment is used and may exceed the specifi ed value in exceptional circumstances. The specifi ed vibration value can be used to compare the equipment with other electric power tools.
The specifi ed vibration value can be used for the initial assessment of a harmful eff etc.
Keep the noise emissions and vibrations to a minimum.
- Only use appliances that are in perfect working order.
- Service and clean the appliance regularly.
- Adapt your working style to suit the appliance.
- Do not overload the appliance.
- Have the appliance serviced whenever necessary?
- Switch the appliance off when it is not in use.
- Wear protective gloves.
Caution!
Residual risks
Even if you use this electric power tool in accordance with instructions, certain residual risks cannot be ruled out. The following hazards may arise in connection with the equipment’s construction and layout:
- Lung damage if no suitable protective dust the mask is used.
- Damage to hearing if no suitable ear protection is used.
- Health damage caused by hand-arm vibrations if the equipment is used over a prolonged period or is not properly guided and maintained.
Before starting the equipment
Warning!
Always remove the battery pack before making adjustments to the equipment.
Fitting the additional handle (Fig. 2)
- The angle grinder must not be used without the additional handle (3).
- The additional handle can be secured in any of two positions (A, B).
| Tool side | Suitable for |
| Left (position A / as shown) | Right-handed users |
| Right (position B) | Left-handed users |
Replacing and adjusting the guard (Fig. 3)
Replacing:
- Remove the flange nut (b) and the clamping flange underneath.
- Open the clamp lever (a) on the guard (4).
- Turn the guard (4) through 180° in a clockwise direction so that the guard points upwards.
- Remove the guard (4).
To mount, proceed in the reverse order.
Adjusting:
- Adjust the guard (4) to protect your hands so that the material being ground is directed away from your body.
- The position of the guard (4) can be adjusted to any specific working conditions. Undo the clamp handle (a) and turn the cover (4) into the required position.
- Ensure that the guard (4) correctly covers the gear wheel casing.
- Secure the clamp handle (a) again.
- Ensure that the guard (4) is secure.
Warning!
Make sure that the guard is perfectly secure.
Warning!
Never use the angle grinder without the guard.
Test run for new grinding Wheels
Allow the right-angle grinder to run in idle for at least 1 minute with the grinding or cutting wheel fi tted in place. Vibrating wheels are to be replaced immediately.
Removing and cleaning the dust guard (Fig. 4-5)
The angle grinder is equipped with a removable dust guard (10). This protects the ventilation slots and keeps the inside of the motor free of dust and dirt. Ideally, the dust guard (10) should be removed and cleaned each time after the grinder is used.
To be able to remove the dust guard (10), press it slightly away from the housing as shown in Fig. 5 to the point where the dust guard can be pressed downwards and removed (see the direction of the arrow). The dust guard (10) can be cleaned from the inside out using low-pressure compressed air or running water. Before you fi t the dust guard, make sure that it is fully dry.
To fi t the removable dust guard (10), proceed in reverse order.
Operation
Charging the Li battery pack (Fig. 6-7)
- Remove the battery pack (6) from the handle, pressing the push-lock button (8) downwards to do so.
- Check that your mains voltage is the same as that marked on the rating plate of the battery charger. Insert the power plug of the charger (7) into the mains socket outlet. The green LED will then begin to fl ash.
- Push the battery pack onto the battery charger.
In section 10 (Charger indicator) you will fi nd a table with an explanation of the LED indicator on the charger.
If the battery pack fails to charge, check for the following:
- voltage at the power socket
- whether there is good contact at the charging contacts of the charging unit If the battery pack still fails to charge, send
- the charger and charging adapter
- and the battery pack to our customer service center.
To ensure that items are properly packaged and delivered when you send them to us, please contact our customer service or the point of sale at which the equipment was purchased.
When shipping or disposing of batteries and cordless tools, always ensure that they are packed individually in plastic bags to prevent short circuits and fi res.
To ensure that the battery pack provides long service, you should take care to recharge it promptly. You must recharge the battery pack when you notice that the performance of the device drops. Never allow the battery pack to become fully discharged. This will cause it to develop a defect.
Battery capacity indicator (Fig. 8/Item 9)
Press the battery capacity indicator switch (a) The battery capacity indicator (9) shows the charge status of the battery using 3 LEDs.
All 3 LEDs are lit:
The battery is fully charged.
2 or 1 LED(s) are lit:
The battery has an adequate remaining charge.
1 LED blinks:
The battery is empty, recharge the battery.
All LEDs blink:
The battery pack has undergone exhaustive discharge and is defective. Do not use or charge a defective battery pack.
Switching on (Fig. 9)
To start the equipment, push the On/Off switch (2) forwards and press it down. To switch off the angle grinder, depress the On/Off switch (2) at the back. The On/Off switch (2) will jump back into its starting position.
Important!
The equipment switches to “Standby Mode” after 10 minutes of non-use.
To reactivate: Switch on the equipment twice or press the battery capacity indicator. “Standby Mode” protects the battery.
Important!
Following a stoppage (due to overloading), the cordless equipment starts up again automatically. Important!
Wait until the machine has reached its top speed. You can then position the angle grinder on the workpiece and machine it.
Changing the grinding wheels (Fig. 10/11)
Use the face spanner (5) supplied to change the grinding wheels. The face spanner (5) is stored in the additional handle (3). Pull the face spanner (5) out of the additional handle (3) when you need it.
Danger! For safety reasons, the angle grinder must not be operated with the face spanner (5) inserted in it.
- Simple wheel change by spindle lock:
- Press the spindle lock and allow the grinding wheel to latch in place.
- Open the flange nut with the face spanner. (Fig. 11)
- Change the grinding or cutting wheel and tighten the flange nut with the face spanner.
Notice!
Only ever press the spindle lock when the motor and grinding spindle are at a standstill! You must keep the spindle lock pressed while you change the wheel!
For grinding or cutting wheels up to approx. 3 mm thick, screw on the fl ange nut with the flat the side facing the grinding or cutting wheel.
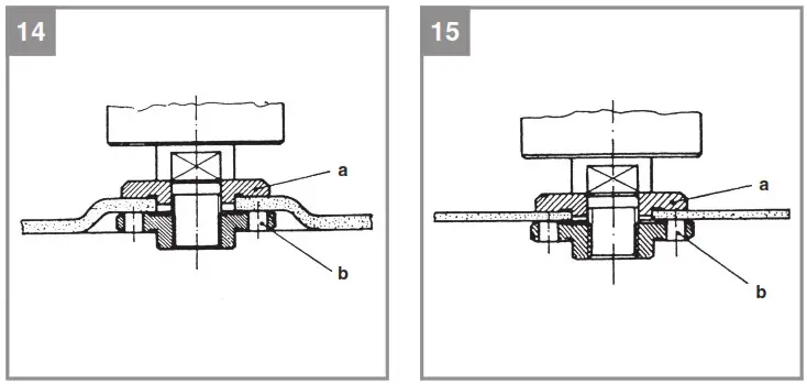
Flange arrangements when using grinding wheels and cutting wheels (Fig. 12-15)
- Flange arrangement when using a depressed-center or straight grinding wheel (Fig. 13)
a) Clamping flange
b) Flange nut - Flange arrangement when using a depressed-center cutting wheel (Fig. 14)
a) Clamping flange
b) Flange nut - Flange arrangement when using a straight cutting wheel (Fig. 15)
a) Clamping flange
b) Flange nut
Motor
It is vital for the motor to be well ventilated during operation. Be sure, therefore, to keep the ventilation holes clean at all times.
Grinding Wheels
• Never use a grinding or cutting wheel bigger than the specified diameter.
• Before using grinding or cutting wheel, check its rated speed.
• The maximum speed of the grinding or cutting wheel used must be higher than the idle speed of the angle grinder.
• Use only grinding and cutting wheels that are approved for a minimum speed of 8,500 rpm and a peripheral speed of 56 m/sec.
• Check the direction of rotation when you use diamond cutting wheels. The directional arrow on the diamond cutting wheel must point in the direction in which the tool rotates.
Warning!
Take special care that the grinding/sanding wheels are properly stored and transported.
Ensure that the grinding/sanding wheels are never exposed to shock, jolts or sharp edges (for example during transport or storage in a toolbox). This could cause damage (such as cracks) to the grinding/sanding wheels and place the user in serious danger.
Warning!
Operating Mode
Rough grinding (Fig. 16)
Caution: Use the safety device for sanding/ grinding (included in items supplied).
For the best rough grinding results, hold the grinding wheel at an angle of between 30° and 40° to the workpiece surface and guide back and forth over the workpiece in steady
movements.
Cutting (Fig. 17)
Caution: Use the safety device for abrasive cutting (available as an accessory, see 7.3)
When you use the right-angle grinder for cutting purposes, avoid tilting it in the cutting plane. The cutting wheel must have a clean cutting edge. A diamond cutting wheel is best used to cut hard stone.
Warning!
It is prohibited to use the machine on asbestos materials!
Warning!
Never use a cutting wheel for rough grinding.
Note:
To increase the power and running time of the cordless equipment, we recommend using our 4.0 Ah Power-X-Change. (Art. No.: 45.113.96)
Important!
To increase the cutting performance and running time of the cordless equipment, we recommend that you use a cutting wheel with a thickness of 1 mm.
Cleaning, maintenance and ordering of spare parts
Danger!
Always pull out the battery pack before starting any cleaning work.
Cleaning
- Keep all safety devices, air vents and the motor housing free of dirt and dust as far as possible. Wipe the equipment with a clean cloth or blow it with compressed air at low pressure.
- We recommend cleaning the equipment and the removable dust guard (10) immediately each time after use.
- Clean the equipment regularly with a moist cloth and some soft soap. Do not use cleaning agents or solvents; these could attack the plastic parts of the equipment. Ensure that no water can seep into the device. The ingress of water into an electric tool increases the risk of an electric shock.
Maintenance
There are no parts inside the equipment which require additional maintenance.
Ordering replacement parts:
Please quote the following data when ordering replacement parts:
- Type of machine
- Article number of the machine
- Identification number of the machine
- Replacement part number of the part required
For our latest prices and information please go to
www.Einhell-Service.com
Safety guard for cutting (Art. No.: 44.500.43)
Disposal and recycling
The equipment is supplied in packaging to prevent it from being damaged in transit.
The raw materials in this packaging can be reused or recycled. The equipment and its accessories are made of various types of material, such as metal and plastic. Never place defective equipment in your household refuse. The equipment should be taken to a suitable collection center for proper disposal. If you do not know the whereabouts of such a collection point, you should ask in your local council offices.
Storage
Store the equipment and accessories in a dark and dry place at above freezing temperature. The ideal storage temperature is between 5 and 30 °C. Store the electric tool in its original packaging.
Charger indicator
| Indicator status | Explanations and actions | |
| Red LED | Green LED | |
| Off | Flashing | Ready for use The charger is connected to the mains and is ready for use’ there is no battery pack in the charger |
| On | Off | Charging The charger is charging the battery pack in quick charge mode. The charging times are shown directly on the charger. Important! The actual charging times may vary slightly from the stated charging times depending on the existing battery charge. |
| Off | On | The battery Is charged and ready for use. The unit then changes over to gentle charging mode until the battery is fully charged. To do this, leave the rechargeable battery on the charger for approx. 15 minutes longer. Action: Take the battery pack out of the charger. Disconnect the charger from the mains supply. |
| Flashing | Off | Adapted charging The charger is in gentle charging mode. For safety reasons the charging is performed less quickly and takes more time. The reasons can be: |
| Flashing | Flashing | Fault Charging is no longer possible. The battery pack is defective. Action: |
| On | On | Temperature fault The battery pack is too hot (e.g. due to direct sunshine) or too cold (below 0° C). Action: Remove the battery pack and keep it at room temperature (approx. 20° C) for one day . |

For EU countries only
Never place any electric power tools in your household refuse.
To comply with European Directive 2012/19/EC concerning old electric and electronic equipment and its implementation in national laws, old electric power tools have to be separated from other waste and disposed of in an environment-friendly fashion, e.g. by taking to a recycling depot.
Recycling alternative to the return request:
As an alternative to returning the equipment to the manufacturer, the owner of the electrical equipment must make sure that the equipment is properly disposed of if he no longer wants to keep the equipment. The old equipment can be returned to a suitable collection point that will dispose of the equipment in accordance with the national recycling and waste disposal regulations. This does not apply to any accessories or aids without electrical components supplied with the old equipment.
The reprinting or reproduction by any other means, in whole or in part, of documentation and papers accompanying products, is permitted only with the express consent of the Einhell Germany AG.
Subject to technical changes
This consignment contains lithium-ion batteries.
In accordance with special provision 188, this consignment is not subject to the ADR regulations. Handle with care. The danger of ignition in case of damage to the consignment package. If the consignment package is damaged: Check and if necessary repackage.
For further information contact: 0049 1807 10 20 20 66 (fi xed network 14 ct/min, mobile phone max. 42 ct/min) Outside Germany charges will apply instead for a regular call to a landline number in Germany.
Service information
We have competent service partners in all countries named on the guarantee certifi cate whose contact details can also be found on the guarantee certifi cate. These partners will help you with all service requests such as repairs, spare and wearing part orders or the purchase of consumables.
Please note that the following parts of this product are subject to normal or natural wear and that the following parts are therefore also required for use as consumables.
| Category | Example |
| Wear parts* | Carbon brushes, Battery |
| Consumables* | Cutting wheels, grinding wheels |
| Missing parts | |
* Not necessarily included in the scope of delivery!
In the eff ect of defects or faults, please register the problem on the internet at www.Einhell-Service.com
Please ensure that you provide a precise description of the problem and answer the following questions in all cases:
- Did the equipment work at all or was it defective from the beginning?
- Did you notice anything (symptom or defect) prior to the failure?
- What malfunction does the equipment have in your opinion (main symptom)?
Describe this malfunction.
Warranty certificate
Dear Customer,
All of our products undergo strict quality checks to ensure that they reach you in perfect condition. In the unlikely event that your device develops a fault, please contact our service department at the address shown on this guarantee card. You can also contact us by telephone using the service number shown. Please note the following terms under which guarantee claims can be made:
- These guarantee terms apply to consumers only, i.e. natural persons intending to use this product neither for their commercial activities nor for any other self-employed activities. These warranty terms regulate additional warranty services, which the manufacturer mentioned below promises to buyers of its new products in addition to their statutory rights of guarantee. Your statutory guarantee claims are not affected by this guarantee. Our guarantee is free of charge to you.
- The warranty services cover only defects due to material or manufacturing faults on a product which you have bought from the manufacturer mentioned below and are limited to either the rectifi cation of said defects on the product or the replacement of the product, whichever we prefer.
Please note that our devices are not designed for use in commercial, trade or professional applications. A guarantee the contract will not be created if the device has been used by commercial, trade or industrial business or has been exposed to similar stresses during the guarantee period. - The following are not covered by our guarantee: – Damage to the device caused by a failure to follow the assembly instructions or due to incorrect installation, a failure to follow the operating instructions (for example connecting it to an incorrect mains voltage or current type) or a failure to follow the maintenance and safety instructions or by exposing the device to abnormal environmental conditions or by lack of care and maintenance.
– Damage to the device caused by abuse or incorrect use (for example overloading the device or the use or unapproved tools or accessories), ingress of foreign bodies into the device (such as sand, stones or dust, transport damage), the use of force or damage caused by external forces (for example by dropping it).
– Damage to the device or parts of the device caused by normal or natural wear or tear or by normal use of the device. - The guarantee is valid for a period of 24 months starting from the purchase date of the device. Guarantee claims should be submitted before the end of the guarantee period within two weeks of the defect being noticed. No guarantee claims will be accepted after the end of the guarantee period. The original guarantee period remains applicable to the device even if repairs are carried out or partsare replaced. In such cases, the work performed or parts fitted will not result in an extension of the guarantee period, and none guarantee will become active for the work performed or parts fitted. This also applies if on-site service is used.
- To make a claim under the guarantee, please register the defective device at: www.Einhell-Service.com. Please keep your bill of purchase or other proof of purchase for the new device. Devices that are returned without proof of purchase or without a rating plate shall not be covered by the guarantee, because appropriate identifi cation will not be possible. If the defect is covered by our guarantee, then the item in question will either be repaired immediately and returned to you or we will send you a new replacement. Of ourse, we are also happy off er a chargeable repair service for any defects which are not covered by the scope of this guarantee or for units that are no longer covered. To take advantage of this service, please send the device to our service address. Also refer to the restrictions of this warranty concerning wear parts, consumables, and missing parts as set out in the service information in these operating instructions.
explains the following conformity according to EU directives and norms for the following product


























