Einhell TE-AG 18-115 Li Cordless Angle Grinder

Layout and Items Supplied
Layout
- Spindle lock
- ON/OFF switch
- Additional handle
- Guard
- Flange nut wrench
- Battery
- Charging unit
- Pushlock button
- Battery capacity indicator

Items Supplied
Check that the article is complete as specified in the scope of delivery. If parts are missing, please contact our service center or the sales outlet where you made your purchase at the latest within 5 working days after purchasing the product and upon presentation of a valid bill of purchase. Also refer to the warranty table in the service information at the end of the operating instructions.
- Open the packaging and take out the equipment with care.
- Remove the packaging material and any packaging or transportation braces (if available).
- Check to see if all items are supplied.
- Inspect the equipment and accessories for transport damage.
- If possible, please keep the packaging until the end of the guarantee period.
Danger
- The equipment and packaging material are not toys.
- Do not let children play with plastic bags, foils or small parts.
- There is a danger of swallowing or suffocating.
Proper Use
- The angle grinder is designed for grinding metal and stone when using the appropriate grinding wheel and guard.
- Warning To cut metal and stone the grinder/san-der may only be used when the guard available as an accessory is mounted.
- The equipment is to be used only for its prescribed purpose.
- Any other use is deemed to be a case of misuse. The user operator and not the manufacturer will be liable for any damage or injuries of any kind caused as a result of this.
- Please note that our equipment has not been designed for use in commercial, trade or industrial applications.
- Our warranty will be voided if the machine is used in commercial, trade or industrial businesses or for equivalent purposes.
Wear Ear Muffs
The impact of noise can cause damage to hearing total vibration values vector sum of three directions determined in accordance with EN 60745.
Handle
- Vibration emission value ahAG = 6.154 m/s2.
- K uncertainty = 1.5 m/s2.
- The specified vibration value was established in accordance with a standardized testing method. It may change according to how the electric equipment is used and may exceed the specified value in exceptional circumstances.
- The specified vibration value can be used to compare the equipment with other electric power tools.
- The specified vibration value can be used for initial assessment of a harmful effect.
Keep the noise emissions and vibrations to a minimum
- Only use appliances which are in perfect working order.
- Service and clean the appliance regularly.
- Adapt your working style to suit the appliance.
- Do not overload the appliance.
- Have the appliance serviced whenever necessary.
- Switch the appliance off when it is not in use.
- Wear protective gloves.
Residual Risks
Even if you use this electric power tool in accordance with instructions certain residual risks cannot be rules out. The following hazards may arise in connection with the equipment’s construction and layout
- Lung damage if no suitable protective dust mask is used.
- Damage to hearing if no suitable ear protection is used.
- Health damage caused by hand-arm vibrations if the equipment is used over a prolonged period or is not properly guided and maintained.
Technical Data
- Motor power supply: …………………………. 18 V DC
- Rated speed: …………………………………8500 min-1
- Max. wheel diameter: ……………………….. 115 mm
- Grinding wheels: …………………. 115 x 22 x 6 mm
- Cutting wheel: …………………….. 115 x 22 x 3 mm
- Mounting spindle thread: ……………………….. M14
- Battery charger output voltage: ………….. 20 V DC
- Battery charger output current: ………………….. 3 A
- Charging unit supply voltage: ………………………… 200-250V~ 50-60Hz
- Battery type: ……………………………….. Lithium-ion
- Number of battery cells: …………………………… 10
- Battery capacitance: …………………………… 3.0 Ah
- Weight: ……………………………………………….1.8 kg
Danger!
Sound and vibration
Sound and vibration values were measured in accordance with EN 60745.
- LpA sound pressure level ………………… 75.1 dB(A)
- KpA uncertainty ……………………………………… 3 dB
- LWA sound power level ………………….. 86.1 dB(A)
- KWA uncertainty ……………………………………… 3 dB
Wear ear-muffs.
The impact of noise can cause damage to hearing.
Total vibration values (vector sum of three directions) determined in accordance with EN 60745.
Handle
Vibration emission value ahAG = 6.154 m/s2
K uncertainty = 1.5 m/s2
The specified vibration value was established in accordance with a standardized testing method. It may change according to how the electric equipment is used and may exceed the specified value in exceptional circumstances.
The specified vibration value can be used to compare the equipment with other electric power tools.
The specified vibration value can be used for initial assessment of a harmful effect.
Keep the noise emissions and vibrations to a minimum.
- Only use appliances which are in perfect working order.
- Service and clean the appliance regularly.
- Adapt your working style to suit the appliance.
- Do not overload the appliance.
- Have the appliance serviced whenever necessary.
- Switch the appliance off when it is not in use.
- Wear protective gloves.
Caution!
Residual risks
Even if you use this electric power tool in accordance with instructions, certain residual risks cannot be rules out. The following hazards may arise in connection with the equipment’s construction and layout:
- Lung damage if no suitable protective dust mask is used.
- Damage to hearing if no suitable ear protection is used.
- Health damage caused by hand-arm vibrations if the equipment is used over a pro-longed period or is not properly guided and maintained.
Before Starting the Equipment
Always remove the battery pack before making adjustments to the equipment.
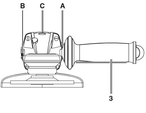
Fitting the Additional Handle

- The angle grinder must not be used without the additional handle (3).
- The additional handle can be secured in any of three positions (A, B, C).
Tool side Suitable for Left (position A) Right-handed users Right (position B) Left-handed users Top (position C) Using cutting wheels
Replacing and Adjusting the Guard
- Replacing

- Remove the flange nut (b) and the clamping flange underneath.
- Open the clamp lever (a) on the guard (4).
- Turn the guard (4) through 180° in clockwise direction so that the guard points upwards.
- Remove the guard (4) to mount proceed in the reverse order.
- Adjusting
- Adjust the guard (4) to protect your hands so that the material being ground is directed away from your body.
- The position of the guard (4) can be adjusted to any specific working conditions.
- Undo the clamp handle (a) and turn the cover (4) into the required position.
- Ensure that the guard (4) correctly covers the gear wheel casing
- Secure the clamp handle(a) again.
- Ensure that the guard (4) is secure.
- Take care that the safety device is secure.
- Never use the angle grinder without the guard.
Test run for new grinding Wheels
Allow the right-angle grinder to run in idle for at least 1 minute with the grinding or cutting wheel fitted in place. Vibrating wheels are to be replaced immediately.
Operation
Charging the Li Battery Pack
- Remove the battery pack(6)from the handle, pressing the push lock button (8) downwards to do so.
- Check that your mains voltage is the same as that marked on the rating plate of the battery charger. Insert the power plug of the charger (7) into the mains socket outlet the green LED will then begin to flash.
- Push the battery pack onto the battery charger.

- In section 10 (Charger indicator) you will fi nd a table with an explanation of the LED indicator on the charger.
- If the battery pack fails to charge, check for the following voltage at the power socket whether there is good contact at the charging contacts of the charging unit.
- If the battery pack still fails to charge send the charger and charging adapter and the battery pack to our customer service center.
- To ensure that items are properly packaged and delivered when you send them to us please contact our customer service or the point of sale at which the equipment was purchased.
- When shipping or disposing of batteries and cordless tools, always ensure that they are packed individually in plastic bags to prevent short circuits and fi res.
- To ensure that the battery pack provides long service, you should take care to recharge it promptly.
- You must recharge the battery pack when you notice that the performance of the device drops.
- Never allow the battery pack to become fully discharged. This will cause it to develop a defect.
Switch
The angle grinder comes with a safety switch which is designed to prevent accidents. To switch on, push the On/Off switch (2) to the right and then forwards. To switch off the angle grinder, depress the On/Off switch (2) at the back. The On/Off switch (2)will jump back into its starting position wait until the machine has reached its top speed. You can then position the angle grin-der on the workpiece and machine it.
Battery Capacity Indicator
Press the battery capacity indicator switch (a). The battery capacity indicator (9) shows the charge status of the battery using 3 LEDs.
- All 3 LEDs are lit the battery is fully charged.
- 2 or 1 LED(s) are lit the battery has an adequate remaining charge.
- 1 LED Flashes the battery is empty, recharge the battery.
- All LEDs blink
- The battery temperature is too low remove the battery from the equipment, keep it at room temperature for one day. If the fault reoccurs this means that the rechargeable battery has undergone exhaustive discharge and is defective.
- Remove the battery from the equipment.
- Never use or charge a defective battery.
Changing the Grinding Wheels
- Use the face spanner (5) supplied to change the grinding wheels.
- The face spanner (5) is stored in the additional handle (3).
- Pull the face spanner (5) out of the additional handle (3) when you need it.
- Danger for safety reasons the angle grinder must not be operated with the face spanner (5) inserted in it.
- Warning
- Simple wheel change by spindle lock:
- Press the spindle lock and allow the grinding wheel to leech in place
- Open the flange nut with the face spanner.
- Change the grinding or cutting wheel and tighten the flange nut with the face spanner.
Notice
Only ever press the spindle lock when the motor and grinding spindle are at a stand still You must keep the spindle lock pressed while you change the wheel for grinding or cutting wheels up to approx. 3 mm thick screw on the flange nut with the flat side facing the grinding or cutting wheel.
Flange Arrangements When Using Grinding Wheels and Cutting Wheels
- Flange arrangement when using a depressed center or straight grinding wheel
- Clamping flange.
- Flange nut.
- Flange arrangement when using a depressed center cutting wheel
- Clamping flange.
- Flange nut.
- Flange arrangement when using a straight cutting wheel
- Clamping flange.
- Flange nut.
Motor
It is vital for the motor to be well ventilated during operation. Be sure, therefore, to keep the ventilation holes clean at all times.
Grinding Wheels
- Never use a grinding or cutting wheel bigger than the specified diameter.
- Before using a grinding or cutting wheel, check its rated speed.
- The maximum speed of the grinding or cut-ting wheel used must be higher than the idle speed of the angle grinder.
- Use only grinding and cutting wheels that are approved for a minimum speed of 8,500 rpm and a peripheral speed of 52 m/sec.
- Check the direction of rotation when you use diamond cutting wheels. The directional arrow on the diamond cutting wheel must point in the direction in which the tool rotates.
- Take special care that the grinding/sanding wheels are properly stored and transported. Ensure that the grinding/sanding wheels are never exposed to shock, jolts or sharp edges (for example during transport or storage in a toolbox). This could cause damage such as cracks to the grinding/sanding wheels and place the user in serious danger.
Operating Modes
Rough Grinding
Caution: Use the safety device for sanding/grinding included in items supplied for the best rough grinding results, hold the grinding wheel at an angle of between 30° and 40° to the workpiece surface and guide back and forth over the workpiece in steady movements.
Cutting
- Use the safety device for abrasive cutting included in items supplied when you use the right angle grinder for cutting purposes, avoid tilting it in the cutting plane.
- The cutting wheel must have a clean cutting edge. A diamond cutting wheel is best used to cut hard stone.
- It is prohibited to use the machine on asbestos materials.
- Never use a cutting wheel for rough grinding.
- Note
To increase the power and running time of the cordless equipment, we recommend using our 4.0 Ah Power X-Change Art. No.: 45.113.96
Cleaning, Maintenance and Ordering of Spare Parts
Always pull out the battery pack before starting any cleaning work.
Cleaning
- Keep all safety devices, air vents and the motor housing free of dirt and dust as far as possible. Wipe the equipment with a clean cloth or blow it with compressed air at low pressure.
- We recommend that you clean the device immediately each time you have finished using it.
- Clean the equipment regularly with a moist cloth and some soft soap.
- Do not use cleaning agents or solvents these could at-tack the plastic parts of the equipment ensure that no water can seep into the device.
- The ingress of water into an electric tool increases the risk of an electric shock.
Maintenance
There are no parts inside the equipment which require additional maintenance.
Ordering Replacement Parts
Please quote the following data when ordering replacement parts
- Type of machine
- Article number of the machine
- Identification number of the machine
- Replacement part number of the part required For our latest prices and information please go to www.Einhell-Service.com
- Safety guard for cutting (Art. No.: 44.500.40)
Disposal and Recycling
The equipment is supplied in packaging to pre-vent it from being damaged in transit the raw materials in this packaging can be reused or recycled. The equipment and its accessories are made of various types of material, such as metal and plastic. Never place defective equipment in your household refuse. The equipment should be taken to a suitable collection center for proper disposal. If you do not know the whereabouts of such a collection point, you should ask in your local council offices.
Storage
Store the equipment and accessories in a dark and dry place at above freezing temperature. The ideal storage temperature is between 5 and 30 °C. Store the electric tool in its original packaging.
Charger Indicator
| Indicator Status | Explanations and Actions | |
| Red LED | Green LED | |
| Off | Flashing | Ready for use The charger is connected to the mains and is ready for use; there is no battery pack in the charger |
| On | Off | Charging The charger is charging the battery pack in quick charge mode. The charging times are shown directly on the charger. Important! The actual charging times may vary slightly from the stated charging times depending on the existing battery charge. |
| Off | On | The battery is charged and ready for use. The unit then changes over to gentle charging mode until the battery is fully charged. Action: |
| Flashing | Off | Adapted charging The charger is in gentle charging mode. For safety reasons the charging is performed less quickly and takes more time. The reasons can be:
Action: |
| Flashing | Flashing | Fault Charging is no longer possible. The battery pack is defective.Action: Never charge a defective battery pack. Take the battery pack out of the charger. |
| On | On | Temperature Fault The battery pack is too hot (e.g. due to direct sunshine) or too cold (below 0°C).Action: Remove the battery pack and keep it at room temperature (approx. 20°C) for one day . |
For EU Countries Only
- Never place any electric power tools in your household refuse.
- To comply with European Directive 2012/19/EC concerning old electric and electronic equipment and its implementation in national laws, old electric power tools have to be separated from other waste and disposed of in an environment-friendly fashion, e.g. by taking to a recycling depot.
- Recycling alternative to the return request as an alternative to returning the equipment to the manufacturer the owner of the electrical equipment must make sure that the equipment is properly disposed of if he no longer wants to keep the equipment.
- The old equipment can be returned to a suitable collection point that will dispose of the equipment in accordance with the national recycling and waste disposal regulations.
- This does not apply to any accessories or aids without electrical components supplied with the old equipment.
- The reprinting or reproduction by any other means, in whole or in part, of documentation and papers accompanying products is permitted only with the express consent of the Einhell Germany AG.
- Subject to technical changes this consignment contains lithium-ion batteries.
- In accordance with special provision 188 this consignment is not subject to the ADR regulations. Handle with care.
- Danger of ignition in case of damage to the consignment package. If the consignment package is damaged
- Check and if necessary repackage.
- For further information contact: 0049 1807 10 20 20 66 fixed network 14ct/min, mobile phone max.42 ct/min
- Outside Germany charges will apply instead for a regular call to a landline number in Germany.
Service Information
- We have competent service partners in all countries named on the guarantee certificate whose contact details can also be found on the guarantee certificate.
- These partners will help you with all service re-quests such as repairs spare and wearing part orders or the purchase of consumables.
- Please note that the following parts of this product are subject to normal or natural wear and that the following parts are therefore also required for use as consumables.
| Category | Example |
| Wear parts | Carbon brushes, Battery |
| Consumables | Cutting wheels, grinding wheels |
| Missing parts |
Not necessarily included in the scope of delivery
- In the effect of defects or faults, please register the problem on the internet at www.Einhell-Service.com
- Please ensure that you provide a precise description of the problem and answer the following questions in all cases
- Did the equipment work at all or was it defective from the beginning?
- Did you notice anything (symptom or defect) prior to the failure?
- What malfunction does the equipment have in your opinion (main symptom)?
- Describe this malfunction.
Warranty Certificate
Dear Customer,
All of our products undergo strict quality checks to ensure that they reach you in perfect condition. In the unlikely event that your device develops a fault, please contact our service department at the address shown on this guarantee card. You can also contact us by telephone using the service number shown.



















