OSD AUDIO IWS-10 In Wall Subwoofer Series

Installation
Tools needed for installation
- Pencil
- Wire cutter
- Utility knife
- Drill
- Philips-head screwdriver
- Safety eyewear
- Tape Measure
- Sandpaper
- Gloves
Quick installation guide
- Where is the best place to install the speakers.
- Where do the speakers sound the best.
- Try to separate the speakers 6 – 10 feet apart.
- When placing the speakers in the wall, try to locate them so that the sound is projected towards the general listening area.
- If you intend to paint the grilles, try to do so before installation.
Speaker wire
To determine the length and the gauge of speaker wire, you will need to measure the distance between your receiver/amplifier and the speakers.
- Measure the distance from the receiver/amplifier to the speakers.
- Always buy more than you think you would need.
- Equal wire lengths should always be used to maintain an equal balance in sound volume.
- Sound quality is lost when using thin wire gauge over a long distance.
- 1 BAWG minimum – for distances up to ……………………….. 1 Oft
- 16AWG-from ……………………………………………. 10to50ft
- 14AWG – from …………………………………………… 50 to 100ft
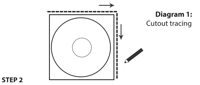
STEP 1
Trace along the inclusive template. Cut along the traced line using a drywall saw or rotary drill.
A simple, inexpensive drywall saw (about 10 at your local hardware store) is the best choice for beginners.
Caution: This is the most important part of the entire installation.
If you are not certain whether any obstructions exist behind the desired mounting area, you should start by cutting a small hole in the center of your penciled mounting hole with a drywall saw.
Use a piece of sandpaper to sand down the cut out edge for a smoother contour. (See Diagram 1 and Diagram 2)

STEP2
Run the cable into the cut out location while leaving an extra two feet to make the connection to the speaker easier.
Strip back approximately½” of the speaker cable insulation and twist the copper wires tightly for easy insertion.
On the back of the speaker, press down on the gold-plated compression terminal to reveal the “eye” and insert the speaker cable through the eye for secure connection.
Release the compression terminal to lock each cable securely.

STEP3
Remove the speaker grill .
With access to the four screws holding the speaker to the mounting bracket loosen them as needed to allow space for the drywall.
Next, with the terminals at the bottom of the speaker, slide the top part of the mounting bracket into the opening and up behind the drywall.
STEP4
Tighten the four mounting screws with the same amount of force until the speaker is aligned and held securely to the wall surface. Caution: do not over tighten! (See Diagram 4)

Note: The speakers wire should be about the same length. if one speaker is placed closer to the amplifier the other, hide the excess wire behind the wall
Note: Speaker terminals have corresponding (+) and (-) terminals. It is important to connect both speakers in phase. Out of phase will result in thin sound and weak bass. (See Diagram 5)
Amplifier Consideration
Not all receivers/amplifiers can safely operate 2 pairs of speakers at the same time. It is important that the amplifier or receiver’s output wattage is comparable to the speaker’s power handling. Please refer to your owner’s manual for reference.
When connecting any speakers to the amplifier or receiver, make sure the power is off. Locate the connection terminals on the back of your receiver or amplifier, and make sure to connect from the audio outs to the back of your receiver or amplifier to the speakers. (See Diagram 6)

Specifications
IWS10
- 1 O” In-Wall Subwoofer
- Power Handling: 200W
- Woofer: 1 O” Polypropylene
- Impedance: 8 Ohm
- Paint-able Grille & Baffle
- Freq Response: 38Hz – 200Hz
- Sensitivity 2.83V /1 m: 86dB
- Cut-Out Dimension: 10 5/8″ x 10 5/8″
- Dimensions: 12″ W x 12″ H
- Mounting Depth: 3 3/4″
WARRANTY INFORMATION
All OSD AUDIO electronics have (10) year Limited Warranty against defects in materials and workmanship. Proof of purchase must accompany all claims. During the warranty period OSD AUDIO will replace any defective part and correct any defect in workmanship without charge for either parts or labor OSD AUDIO may replace returned electronics with a product of equal value and performance. In such cases, some modifications to the mounting may be necessary and are not OSD AUDIO’s responsibility.
For this warranty to apply, the unit must be installed and used according to its written instructions. If necessary, repairs must be performed by OSD AUDIO. The unit must be returned to OSD AUDIO at the owner’s expense and with prior written permission. Accidental damage and shipping damage are not considered defects, nor is damaged resulting from abuse or from servicing performed by an agency or person not specifically authorized in writing by OSD Audio.
OSD AUDIO sells products only through authorized dealers and distributors to ensure that customers obtain proper support and service. Any OSD AUDIO product purchased from an unauthorized dealer or other source, including retailers, mail order dealers and online sellers will not be honored or serviced under existing OSD AUDIO warranty policy. Any sale of product by an unauthorized source or other manner not authorized by OSD AUDIO shall void the warranty on the applicable product.
Damage to or destruction of components due to application of excessive power voids the warranty on those parts. In these cases, repairs will be made on the basis of the retail value of the parts and labor. To return for repairs, you must email customer service at [email protected] for a Returned Merchandise Authorization (AMA) number then the unit must be shipped to OSD AUDIO at the owner’s expense, along with a note explaining the nature of service required. Be sure to pack the product(s) in a corrugated container with at least 3 inches of resilient material to protect the unit from damage in transit.
This warranty Does Not Cover: Damage caused by abuse, accident, misuse, negligence, or improper operation (installation)
- Any products that have been altered or modified
- Any product whose identifying number of decal, serial #, etc. has been altered, defaced or removed
- Normal wear and maintenance.
05D Audio I Brea, CA I osdaudio.com




















