beurer FB 60 Wellness Foot Spa

Instruction

Unfold page 3 before reading the instructions for use.

Read these instructions for use carefully. Observe the warnings and safety notes. Keep these instructions for use for later use. Make the instructions for use accessible to other users. If the device is passed on, provide the instructions for use to the next user as well.
WARNING
- The device is only intended for domestic/private use, not for commercial use.
- This device may be used by children over the age of 8 years and by people with reduced physical, sensory or mental capabilities or a lack of experience or knowledge, provided that they are super-vised or have been instructed on how to use the device safely, and are fully aware of the risks of using the device.
- Children must not play with the device.
- If the mains connection cable of this device is damaged, it must be disposed of. If it cannot be removed, the device must be dis-posed of.
- If any water leaks out of the device, it should no longer be used.
- The device has a hot surface. People who are not sensitive to heat must be careful when using the device.
- Under no circumstances should you open or repair the device yourself, otherwise proper functionality can no longer be guaran-teed. Failure to comply with this instruction will void the warranty.
- Cleaning and user maintenance must not be performed by children unless supervised.
SIGNS AND SYMBOLS
![]() | CAUTION Safety note indicating possible dam- age to the device/accessory | ![]() | WARNING Warning indicating a risk of injury or damage to your health |
![]() | CAUTION Indicates that caution is necessary when operating devices or controls in the vicinity of this symbol, or that the current situation needs operator awareness or operator action in order to avoid undesirable consequences |
| Marking to identify the packaging material. A = material abbreviation, B = material number: 1–7 = plastics, 20–22 = paper and cardboard |
![]() | Read the instructions | | Disposal in accordance with the Waste Electrical and Electronic Equipment EC Directive (WEEE) |
![]() | Manufacturer | ![]() | Dispose of packaging in an environ- mentally friendly manner |
![]() | Product information Note on important information | ![]() | Protection class II device The device is double-insulated and, therefore, is in protection class 2 |
|
| The products demonstrably meet the requirements of the Technical Regulations of the EAEU | CE labelling This product satisfies the requirements of the applicable European and national directives. | |
![]() | For indoor use only | ![]() | United Kingdom Conformity Assessed Mark |
![]() | Separate the product and packaging elements and dispose of them in accordance with local regulations. | Alternating current The device is suitable for use with alternating current only |
WARNINGS AND SAFETY NOTES
WARNING
Intended use
This foot bath is intended to be used exclusively for the care of your feet.
- Do NOT use the foot bath:
- Without water, as there is a risk of overheating.
- With oily aromatic additives or bath salts.
- If you have a medical abnormality or injury in your feet (e.g. open wound, warts, athlete’s foot).
- Whilst sleeping.
- With animals.
- Never use the foot bath for more than 60 minutes (risk of overheating). Allow the foot bath to cool down for at least 15 minutes before using it again.
- Consult your doctor before using the foot bath if:
- You are unsure whether the foot bath is suitable for you.
- You suffer from a severe illness or have recently had surgery on your feet.
- You suffer from diabetes or thrombosis, leg or foot conditions, e.g. varicose veins or venous inflammation, or pain of an unknown cause.
- Note that the foot bath is suitable for people up to a shoe size of approx. 51. Larger feet may restrict the massage functions.
The device is only intended for the purpose described in these instructions for use. The manufacturer is not liable for damage resulting from improper or careless use.
WARNING
Failure to observe the following information may result in personal injury or material damage.
- Danger of suffocation! Keep packaging material away from children.
- Before use, ensure that the device and accessories have no visible damage. If you have any doubts, do not use the device and contact your retailer or the customer service address provided.
- Do not pull, twist or bend the mains cable. Do not stick any needles or sharp objects into the device.
- Make sure that the mains cable is not routed or pulled over pointed or sharp objects.
- Insert the mains plug into a socket that is protected against humidity, moisture and water splashes.
- Do not place the foot bath in a shower tray, bath tub or sink to fill it.
- If the device has been dropped or has suffered any other damage, it must no longer be used.
- Only specialist personnel may perform repairs on electrical devices. Improper repairs may put users in significant danger. In the event of a fault or damage, have the device repaired by a certified specialist workshop.
- Should a fault occur during use, switch the device off immediately and remove the mains plug from the socket.
- Always switch the device off and unplug the mains plug before moving or cleaning it.
- When using the bubble massage, water may escape from the foot bath over the rim. Please pay in-creased attention to the risk of slipping.
WARNING
Risk of electric shock
- Make sure that the mains plug and mains cable do not come into contact with water or other liquids.
- Only use the foot bath in dry indoor areas. Never use the foot bath in the bath or a sauna.
- Only use the foot bath with dry hands.
- Never submerge the foot bath under water. Never pick up a foot bath that has been submerged in water. Disconnect the mains plug immediately.
- Only use the foot bath with the mains voltage specified on the device.
- Do not operate the foot bath during a storm.
- In the event of defects or malfunctions, switch the foot bath off immediately and disconnect it from the mains socket. Do not pull on the mains cable or on the foot bath to disconnect the mains plug from the socket.
- Never hold or carry the device by the mains cable. Keep the mains cable away from hot surfaces.
- Never connect the foot bath to the power cable if your feet are already in the water. Damage to the device can lead to fatal electric shocks.
WARNING
Risk of fire
- Do not expose the device to high temperatures.
- NEVER use the foot bath:
- Unsupervised, especially if there are children nearby.
- Underneath a cover such as a blanket, pillow, etc.
- Near petrol or other highly flammable substances.
- On high-pile carpeting because the vents may be covered.
SCOPE OF DELIVERY
Check the scope of delivery to ensure that the exterior of the cardboard package is intact and all contents are present. Before use, ensure that there is no visible damage to the device or accessories and that all packaging material has been removed. If you have any doubts, do not use the device and contact your retailer or the customer service address provided.
- 1 foot bath
- 3 massage attachments (portable pedicure device, brush attachment, massage attachment)
- 1 storage and drying bag
- 1 copy of these instructions for use
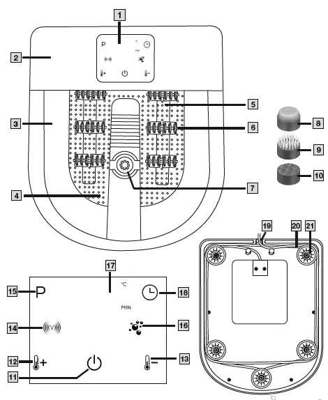
DEVICE DESCRIPTION
The associated drawings are shown on page 3.
- LED touch display
- Splash protection
- Fill level mark (max. 5.5 l)
- Foot rest with massage nodules
- Bubble bar
- Massage roller attachments (6 pieces)
- Pedicure centre
- Portable pedicure device
- Brush attachment
- Massage attachment
- ON/OFF button
- “Increase water temperature” / “Switch water heating on” function button
- “Decrease water temperature” / “Switch water heating off” function button
- “Vibration” function button
- “Programs” function button
- “Bubble” function button
- Water temperature / timer time display
- “Timer” function button
- Cable outlet
- Cord winder
- Rubber feet
- Storage / drying bag
USE
Initial use
- Remove the packaging, including the film protecting the display.
- Check the complete scope of delivery (including packaging) for damage.
- Before plugging the foot bath in, fill it with cold or warm water up to the fill level mark 3 (approx. 5 cm high). The foot rest part must be completely submerged under water.
- Place the foot bath on a firm and level surface.
- Ensure that the mains cable does not pose a trip hazard.
- Insert the mains plug into a suitable socket. The ON/OFF button 11 starts to flash. The foot bath is in standby mode.
Using the foot bath
- Sit in a comfortable position. Never use the foot bath standing up.
- Place your feet in the foot bath. The rubber feet on the base of the device prevent the foot bath from slipping.
- Press the ON/OFF button 11 to switch the foot bath on. The ON/OFF button 11 lights up and stays lit; the display 17 shows the current water temperature. The foot bath is now ready for use.
- The massage is especially effective if you move your feet back and forth over the massage roller attachments 6 in the foot rest.
At the end of use
To switch the foot bath off again before the automatic switch-off takes effect (see “Timer function”), press the ON/OFF button 11 again. The ON/OFF button 11 flashes again. The foot bath is in standby mode. Switch the foot bath off after use and remove the mains plug from the socket.
Pedicure attachments
The foot bath has a pedicure centre 7 for individual pedicure.
There are three different attachments 8 9 10 that you can attach to the pedicure centre 7 :
- The portable pedicure device attachment 8 can be used to remove dead skin cells and calluses.
- The brush attachment 9 can be used to stimulate the reflex zones in the soles of your feet.
- The massage attachment 10 provides a pleasant massage for your feet and stimulates circulation.
Setting the water temperature
You can use the foot bath with and without water heating. The water heating can be set to between 34°C and 48°C. The water heating starts at 34°C. You can increase/decrease the water temperature in 2°C increments.
- To switch the water heating on, press the “Increase water temperature” / “Switch on water heating” function button 12 .
- To increase the water temperature in the foot bath, press the “Increase water temperature” / “Switch on water heating” function button 12 .
- Select your desired water temperature using the “Water temperature / Water heating” function buttons 12 13 . The desired water temperature is shown briefly on water temperature / timer time display 17 before the display returns to showing the current water temperature.
- The heating process starts.
- The foot bath has a memory function that remembers the set water temperature until the power circuit is interrupted.
- For quicker heating, we recommend activating the “Bubble” function as well.
- Different water temperatures have a positive effect on the feeling in your body. Choose the right water temperature for your wellness experience:
- Cold water (24–29°C – without water heating) has a refreshing and vitalising effect on the body. It awakens your spirits and brings new energy.
- Lukewarm water (30–40°C) supports an optimal wellness experience and has a nurturing and constructive effect.
- Warm water (approx. 42–48°C) has a particularly soothing and warming effect on the body and, as a result, can support the immune system. Please note that the water temperature should increase slowly and should not be set too high initially.
- To reduce the water temperature in the foot bath, press the “Decrease water temperature” / “Switch off water heating” function button 13 .
- The water heating has been switched off when the LEDs of the “Water temperature / water heating” func- tion buttons 12 13 turn off.
Vibration massage
You can switch a vibration massage on during use.
- To switch the vibration massage on, press the “Vibration” function button 14 . The LED of function button starts to light up.
- To switch the vibration massage off again, press function button 14 again. The LED turns off.
Automatic programs
The foot bath has one preset and three individually selectable programs:
- PO = Manual operation / Program OFF (default)
- P1 = Bubble and vibration massage on simultaneously for 10 seconds and pause for 5 seconds
- P2 = Bubble massage and pulsating vibration alternating for 15 seconds each
- P3 = Bubble and vibration massage alternating for 10 seconds each
- Select the desired program (P1, P2, P3) using the “Programs” function button 15 . The LED of function button 15 starts to light up. The currently set program is briefly displayed on the LED touch display 1 . The display switches back again to the water temperature.
- To change to manual mode, press function button 15 again until PO appears in the LED touch display 1 . The function button 15 LED turns off.
Bubble massage
You can switch a bubble massage on during use.
- To switch the bubble massage on, press the “Bubble” function button 16 . The LED of function button 16 starts to light up.
- To switch the bubble massage off again, press function button 16 again. The LED turns off.
Timer function
You can set a timer time of between 20 and 60 minutes (in 5-minute increments) on the foot bath. After this time has passed the foot bath switches off automatically. Initially, the timer time is automatically preset to 20 minutes.
- Use the “Timer” function button to select your desired relaxation time. The selected timer time is shown briefly in the water temperature / timer time display 17 before the water temperature is displayed again.
- You can display the remaining relaxation time during use by pressing function button 18 once.
- If function button 18 is pressed several times during use, the relaxation time is restarted.
- As soon as the relaxation time has elapsed, the foot bath automatically switches to standby mode.
CLEANING AND MAINTENANCE
CAUTION
Make sure that no water gets inside the device! Make sure that the foot bath is switched off and unplugged every time before cleaning.
- After use, unplug the foot bath and empty the water via the narrow side.
- To make it easier to empty the foot bath, we recommend carrying it with the straight side facing the body.
- Then rinse the foot bath with clean water.
- For hygienic cleaning, a mild, non-foaming/abrasive cleaning product can be used (e.g. neutral vinegar).
- To dry out the air lines after cleaning, switch the bubble function on without water for approximately 1 minute. You can wipe any drops off with a cloth.
- The storage bag for the pedicure attachments can also be used at the same time as a cloth to clean/dry the foot bath.
- To make cleaning/drying easier, you can remove the massage roller attachments 6 from the foot bath by removing them with a gentle lever action.
- After cleaning, store the foot bath in its original packaging and in a dry place. Do not leave the foot bath open for prolonged periods of time.
DISPOSAL
For environmental reasons, do not dispose of the device in household waste at the end of its service life. Dispose of the device at a suitable local collection or recycling point in your country. Observe the local regulations for material disposal. Dispose of the device in accordance with EC Directive Waste Electrical and Electronic Equipment (WEEE). If you have any questions, please contact the local authorities responsible for waste disposal. You can obtain the location of collection points for old devices, for example, from the local or municipal authorities, local waste disposal companies or your retailer.
TECHNICAL SPECIFICATIONS
| Power supply: | 220-240 V~, 50-60 Hz, 630 W |
| Size: | 45.0 x 39.0 x 18.4 cm |
| Weight: | Approx. 3.2 kg |
WARRANTY
Further information on the warranty and warranty conditions can be found in the warranty leaflet supplied.
Beurer GmbH
Söflinger Str. 218
89077 Ulm, Germany
www.beurer.com
www.beurer-gesundheitsratgeber.com
www.beurer-healthguide.com































