PLT PremiumSpec PLTS-40076 Wattage and Color Selectable LED Vapor Tight Fixture Instruction Manual
WARNING
- Before installing, servicing, or performing routine maintenance upon this equipment, follow these general precautions.
- To reduce the risk of death, personal injury, or property damage from fire, electric shock, falling parts, cuts/abrasions, and other hazards, read all warnings and instructions included with and on the fixture box and all fixture labels.
- Proper grounding is required to ensure safety.
- Power must be turned off at the breaker before installation or maintenance.
- Installation, service, and maintenance of luminaires should be performed by a qualified licensed electrician.
- Wear gloves and eye protection at all times while installing, servicing, or performing maintenance on the luminaire, and avoid direct eye exposure to the light source while it is on.
- Do not install damaged product. Inspect luminaire for damage that may have occurred during transit. If damaged, contact the manufacturer immediately.
- These instructions do not purport to cover all details or variations in equipment nor to provide every possible contingency to meet in connection with installation, operation, or maintenance. Should further information be desired or should particular problems arise which are not covered sufficiently for the purchaser’s or owner’s purposes, contact the manufacturer.
CAUTION
- Install this product in accordance with country, regional and local laws and regulations.
- If unsure about the installation or maintenance of this product, consult a qualified electrician and check the local electrical code.
- To prevent wiring damage or abrasion, do not expose wiring to edges of sheet metal or other sharp objects.
- Do not make or alter any open holes in the enclosure.
- Verify the supply voltage is correct by comparing it with the luminaire label.
- All wiring connections should be capped with UL approved wire connectors.
- Avoid direct eye exposure to the light source while it is on.
- Account for small parts and destroy packing material, as these may be hazardous to children.
- Disconnect power and allow fixture to cool before changing/handing fixture.
NOTICE
- A green ground screw is provided in the proper location. Do not relocate.
- Use minimum 90° supply conductors.
- Specifications and dimensions are subject to change without notice.
- Suitable for wet locations.
Installation Instructions
Surface Mount
- Locate the drill holes for the mounting brackets. Use the hardware found in the hardware kit to mount the bracket to the desired surface.
- Secure the mounting clips to the recesses of the fixture housing by firmly pressing them into place until both sides of the clip are secured.
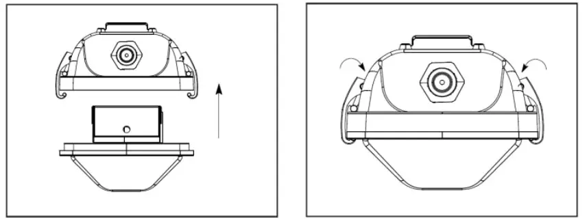
- Release the latches by pulling the top of the latch away from the fixture housing. Without touching the LED boards, detach the LED tray and lens assembly from the fixture.
- Locate the safety cable and verify it is connected to both the fixture housing and the LED tray with lens assembly before making the electrical connections.
- Thread the incoming power cord (supplied by others) through the liquid-tight knockout on the fixture housing.
- Connect the incoming power cord leads to the LED driver through the outlet box. See the Wiring Diagram section for proper wiring. Make sure to snap the cover to the outlet box after wiring.
- Use the UL listed strain relief cord connector to secure the cord to the liquid-tight knockout on the fixture.
- Verify the incoming power cord is attached to the junction box with a UL listed strain relief cord connector.
- Re-attach the LED tray and lens assembly to the fixture housing and secure the assembly using the latches.
- Power on the fixture to verify proper operation.





Suspended Mount
- Attach the V-bracket to each mounting clip by spreading the end of the V-bracket apart and then inserting the legs of the V-bracket into the holes in the side of the mounting clips.
- Secure the mounting clips to the fixture housing recesses by firmly pressing them into place until both sides of the clip are secured.
- Hang the fixture using the V-brackets and appropriate suspension hardware (supplied by others).
- Release the latches by pulling the top of the latch away from the fixture housing.
- Without touching the LED boards, detach the LED tray and lens assembly from the fixture.
- Locate the safety cable and verify it is connected to both the fixture housing and the LED tray with lens assembly before making the electrical connections.
- Thread the incoming power cord (supplied by others) through the liquid-tight knockout on the fixture housing.
- Connect the incoming power cord leads to the LED driver through the outlet box. See the Wiring Diagram section for proper wiring. Make sure to snap the cover to the outlet box after wiring.
- Use the UL listed strain relief cord connector to secure the cord to the liquid-tight knockout.
- Verify the incoming power cord is attached to the junction box with a UL listed strain relief cord connector.
- Re-attach the LED tray and lens assembly to the fixture housing and secure the assembly using the latches.
- Power on the fixture to verify proper operation.





Wiring Diagram





















