Paul Neuhaus 8283-55 Q-NEVIO Table Lamp LED

WHAT INCLUDED

SPECIFICATION

FEATURES

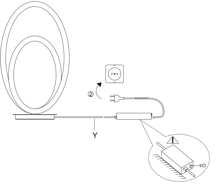
electrical connection
- 230 Voltage/50 Hz Connection

fitting
- as table light

teach remote control
- See Q-remote control manual

APP
Reset
- Reset the lamp, factory new

This device fulfils the fundamental requirements of Directive 2014/53/EU (Radio Equipment Directive) of the European Parliament and of the Council of the European Union dated 16.04.2014 on items of radio equipment. The full declaration of conformity can be accessed at the Internet-address given below.
Paul Neuhaus GmbH
Olakenweg 36 · D-59457 Werl
Telefon:+49(0)2922-9721-0
Telefax:+49(0)29 22-9721-9120
Email: [email protected]
https://scm.paul-neuhaus.de/public/conformity/






















