
Compression Pressure Tester
User Manual

Illustrations similar may vary depending on model
Please read and follow the operating instructions and safety information prior to the initial operation.
Technical changes reserved!
Illustrations, functional steps, and technical data may deviate insignificantly due to continuous further developments.
The information contained in this document may alter at any time without prior notice. No part of this document may be copied or otherwise duplicated without prior written consent. All rights reserved. WilTec Wildanger Technik GmbH cannot be held liable for any possible mistakes in this operating manual, nor in the diagrams and illustrations shown.
Although WilTec Wildanger Technik GmbH has made every possible effort to ensure that this operating manual is complete, accurate, and up-to-date, errors cannot be ruled out entirely. If you have found an error or wish to suggest an improvement, we look forward to hearing from you. Send us an e-mail at: [email protected] or use our contact form: https://www.wiltec.de/contacts/.The most recent version of this manual in several languages can be found in our online shop: https://www.wiltec.de/docsearch
Our postal address is:
WilTec Wildanger Technik GmbH
Königsbenden 12
52249 Eschweiler Germany
Do you wish to collect your goods? Our address for collection is:
WilTec Wildanger Technik GmbH
Königsbenden 28
52249 Eschweiler Germany
In order to shorten the waiting time and to allow for easy on-site processing, we kindly ask you to contact us briefly beforehand or to place your order via the webshop.
E-mail: [email protected]
Tel: +49 2403 55592–0
Fax: +49 2403 55592–15
To return your goods for an exchange, repair, or other purposes, please use the following address. Attention! To allow for a trouble-free complaint or return, it is important to contact our customer service team before returning your goods.
Retourenabteilung
WilTec Wildanger Technik GmbH
Königsbenden 28
52249 Eschweiler Germany
E-mail: [email protected]
Tel: +49 2403 55592–0
Fax: +49 2403 55592–15
Introduction
Thank you for choosing to purchase this quality product. To minimize the risk of injury, we ask you to always take some basic safety precautions when using this product. Please read this operating manual carefully and make sure that you understand it. Keep these operating instructions in a safe place.
Safety instructions
- When using tools, make sure to obey all sanitary and safety regulations, local regulations, and general work regulations.
- Keep the device in a dry and clean condition to allow the best and safest possible operation. Do not use the device if there is any damage visible.
- If necessary, ensure that the vehicle to be worked on is sufficiently supported with axle stands, ramps, and chocks.
- Warning! Select neutral gear (or “Park” with automatic transmission) and keep your hands away from the engine, as it might rotate during use of the tool. The ignition must be turned off!
- Warning! Turn the regulator knob fully anti-clockwise before connecting the device to the compressed air supply.
- Too high a pressure can damage to gauge.
- During work, wear appropriate protective equipment (eye protection, work shoes, etc.). Avoid wearing wide clothes and jewelry and securely tie long hair together.
- Store all tools and components used in a save place and do not leave them in, on, or near the engine.
- Important! Refer to the vehicle manufacturer’s service instructions or propriety manual to establish the proper procedure and data. The instructions of the user’s manual present are provided as guidelines only.

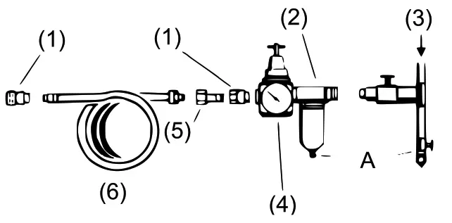
| no | Name/explanation | no | Name |
| 1 | Quick coupling | 4 | Regulator |
| 2 | Water separator | 5 | Nipple |
| 3 | Air supply | 6 | Recoil hose |
Air supply
- Ensure that the air valve regulator is in the “off” position before connecting the device to the air supply.
- The tester requires an air pressure of 3–7 bar (45–100 psi).
- Warning! Make sure that the air supplied is clean and does not exceed the pressure stated. Too high an air pressure and/or unclean air will shorten the life of the device. Excess of wear and tear can be dangerous and may lead to damages and/or injuries.
- Empty the air tank of the compressor daily. Water accumulated inside the airline will damage the tester.
- Weekly clean the air inlet filter.
- The pressure inside the line should be increased to compensate for unusually long air hoses (above 8 m). The minimum diameter of hoses and fittings is 12.91 mm (¼″).
- Keep the hoses away from heat, oil, or sharp edges. Check the hoses for wear and tear and make sure that all connections are secure.
Use
With the tester connected to one of the cylinders, compressed air is fed to the respective cylinder the built-in pressure regulator. Diagnosis is made by observing the amount of leakage indicated on thecylinder leakage gauge. Furthermore, a diagnosis can be made by listening to the sound produced at various spots of the vehicle where leakages have developed.
Listening spots
- Oil dipstick tube – check for leakage from damaged or worn rings and/or cylinder wall
- Radiator filler – check for cracks in cylinder wall or leaking head gaskets
- Adjacent cylinders – check for head gasket leakage
- Tailpipe – check for leaking exhaust valves
- Carburetor air inlet – check for leaking inlet valves
- Fuel injection throttle body – check for leaking inlet valves
Connecting the system
- Leave the engine running until the operating temperature is reached.
- Remove the spark plugs, oil dipstick, radiator cap, and air filter from the carburetor (with injection systems, remove the air filter or hose from the throttle body).
- Position the piston No. 1 at the top dead center (TDC) on the compression stroke so that both inlet and exhaust valves are closed.
Note! Always rotate the engine in the normal operating direction. To position, the piston properly, use a piston positioning gauge and remove the cam/rocker cover so that closed valves can be confirmed. - Screw the cylinder hose (C) into the spark plug hole. With 10-mm or 12-mm threads connected, use appropriate adaptors. Only connect the tester after the leakage gauge has been calibrated.
- Screw a 13.5-mm (¼″) external thread connector into the threaded hole on the side of the regulator (connector not supplied). Turn the regulator knob of the tester fully anti-clockwise to shut down the regulator before connecting the air supply. Connect the compressed air supply with an air pressure of 3–7 bar (45–100 psi).
- Calibrate the leakage gauge by turning the regulator knob anti-clockwise until the needle on the right-hand gauge reaches zero at the end of the yellow “SET” band. Typically, this will happen with pressures between 1.03 and 1.37 bar (15 and 20 psi). Now, insert A connector on the cylinder hose into B connector on the tester hose. Any leakage present in the cylinder currently connected will be shown on the leaking gauge as a percentage loss. A cylinder without leakage will show approximately 20 % within the green band.
- Test all other cylinders, each at TDC, and compare the leakage values to determine which cylinders are faulty.
- If necessary, re-test the cylinder(s) that have high leaking values. Check the listening spots to determine the cause of leakage.

| No | Name | Letter | Name |
| 1 | Pressure-regulating valve | A | Connection of cylinder hose |
| 2 | Valve | B | Connection of tester hose |
| 3 | Hose | C | Cylinder hose |
| 4 | Gauge (pressure) | ||
| 5 | Gauge (cylinder leakages) | ||
| 6 | Female connector | ||
| 7 | Hose and connector | ||
| 8 | O-ring |
Helpful hints
- If 100 % or excessive leakage values are shown on the tester, the cylinder might not be in the DTC on the compression stroke. Make sure that all valves are closed. Always try to set the piston to DTC to have uniform readings.
- With piston rings broken or cylinder walls scored, excessive leakage will be shown.
- It is important that all cylinders have reasonably uniform readings (as for compression testing). Differences of more than 15 % indicate excessive leakage.
- Big engines tend to leak more than small ones.
- If leakage is excessive on a vehicle that has a low mileage/kilometrage, the piston rings might be stuck. Treat the engine with high-quality tune-up oil for a period, then re-test it before disassembling.
- The lower the pitch of the leakage sound is, the greater is the leakage.
- When performing a listening test, use a piece of clean hose or a mechanic’s stethoscope with its probe removed.
- When performing re-tests on the same cylinder, variations in the piston position and engine temperature can cause gauge values to differ by up to 10 %.
- If an engine has multiple faults (such as worn rings and burnt valves), the tester may only indicate the most serious fault. Note! There is always slight leakage on the piston rings. As a result, you will always hear some leakage sounds when listening to the dipstick tube.
Troubleshooting
| Possible cause | Proposed solution |
| Low compression values on some cylinders | Use oil in the cylinder to see if rings are worn. |
| If compression increases, rings and/or cylinder wall are worn. | |
| If compression does not increase, perform a cylinder leakage test to determine the cause of the problem. | |
| High compression values and relatively equal cyl- inder values | With excess of exhaust emissions, lack of power, poor performance, or poor fuel consumption, perform a cylinder leakage test to determine the cause of the problem. |
| Lower compression values, on or more cylinders lower than others | Perform a cylinder leakage test to determine the cause of the problem. |
Important Note:
Reproduction and any commercial use (of parts) of this operating manual, requires written permission of WilTec Wildanger Technik GmbH.

© by WilTec Wildanger Technik GmbH
http://www.WilTec.de
http://www.aoyue.eu
http://www.teichtip.de
Item 51726
















