


![]()
Minimum Requirements
To install this product, you will need:
- 802.11g/n wireless router
- Minimum recommended upload bandwidth of 1.5 Mbps for live viewing or 3 Mbps for cloud recording.
- DCS-H100 hub (included in the DCS-2800KT Wire-Free Camera Kit)
- The latest version of the mydlinkTM app from your operating system’s application store.
- The mydlink app is available for iPhone®, iPad® and AndroidTM devices. Please refer to the mobile app’s store page to check whether your device is compatible.
- An e-mail account (required to register for mydlink service)
Note: Please assure that your phone is connected to the same Wi-Fi network on the router that you plan on plugging the hub into.
1
⇒
⇒ 
Sign In using your mydlink account and tap the icon at the top left, then tap Add a Device to start the setup wizard. Continue configuration in the app.
2

If you select “Yes” in the app, scan the QR code on the bottom of the camera. Continue configuration in the app.
3
OR

If you select “No” in the app then select the DCS-2800LH camera from the menu. Continue configuration in the app.
4

Once at the camera is synced successfully, the LED on the camera will illuminate green to indicate it’s currently connected.
Camera Placement Precautions
Caution:
![]()
Please make sure that the camera is not directly facing the sun or a source of heat.
Proper Placement:
Place the camera at least 2.2 m (7 ft) or higher from the ground, and at least 20cm (7.8in) from the ceiling. The minimum recommended viewing distance for the motion detection is 60 cm (24 in), and the maximum is 7.5 m (25 ft).
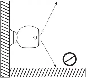
Improper Placement:
Do not place the camera directly on top of a surface or in a spot where there is something directly below it, obstructing its view.
![]()
Camera Mounting Instructions
Snap Mount

Step 1:
Place the baseplate at the desired location, assuring that it is at least 20cm from the ceiling. Make sure the screw is facing up and the holes are level. Use a pencil to mark the holes.

Step 2:
Using a 6 mm drill bit, drill two 25 mm deep holes over the pencil marks. For a plaster, drywall, or concrete wall, insert the plastic anchors to support the screws first.

Step 3:
Place the baseplate over the holes. Use the supplied screws to attach the baseplate to the wall.

Step 4:
Align the large top screw with the largest hole on the snap mount. Slide the mount down to lock into place.

Step 5:
Attach the back of the camera to the mount. Adjust the angle as desired.
Support
For toubleshooting tips and more information, visit: support.dlink.com
Technical Support
Australia:
Tel: 1300-700-100
24/7 Technical Support
Web: http://www.dlink.com.au
E-mail: [email protected]
New Zealand:
Tel: 0800-900-900
24/7 Technical Support
Web: http://www.dlink.co.nz
E-mail: [email protected]
Version 1.00 (AU)_90x130
2019/04/02
43K-200-1691R
Copyright ©2019 All rights reserved. D-Link and the D-Link logo are registered trademarks of D-Link Corporation or its subsidiaries. Product specifications, size and shape are subject to change without notice, and actual product appearance may differ from that depicted on the packaging. Visit dlink.com for more details.
Wire-Free Camera
Quick Start Guide

DCS-2800KT ![]()





















