Cecotec CONGA 980 Connected Robot Limpiacristales Instruction Manual
SAFETY INSTRUCTIONS
Read these instructions thoroughly before using the appliance. Keep this instruction manual for future reference or new users.
- The appliance must be used in accordance with the directions in this instruction manual. Cecotec cannot be held liable or responsible for damaged or injuries caused by improper use.
- The appliance is not intended to be operated by means of an external timer or separate remote-control system.
- Do not use the appliance in extremely hot or cold environments (below 0 º/32 °F or above 40º /104 °F).
- Please ensure the appliance is plugged in while cleaning.
- The appliance has a back-up battery that must be charged before being used.
- The back-up battery will supply energy to the appliance if it is unplugged or the electricity fails.
- Do not leave the appliance unattended when it is plugged in.
- For household and indoor use only.
- Do not use the appliance in commercial or industrial environments.
- Do not use the appliance on cracked glass.
- Only use accessories recommended or supplied by Cecotec.
- Please make sure your power supply voltage matches the power voltage marked on the power adapter.
- Do not use the appliance on a framed window with a frame smaller than 5 mm.
- Do not use the appliance on wet or greasy windows. Store the appliance away from heat and flammable materials.
- Do not use the appliance if it is not firmly attached to the glass or has visible signs of damage.
- To reduce the risk of electrical shock, do not put the appliance in water or other liquid.
- Do not place or store the appliance where it can fall or be dragged into a tub or a sink.
- Do not touch the power plug or the appliance with wet hands.
- Do not charge the appliance in extremely hot or cold environments or it may affect the battery lifespan.
- When charging the appliance, do not place it on other electrical appliances and keep it away from fire and liquid.
- Take care not to damage the power cord.
- Do not pull on or carry the appliance by the power cord.
- Do not use the power cord as a handle.
- Do not close a window on the power cord, or put heavy weights on the power cord.
- Keep the power cord away from hot surfaces.
- Do not use the device if the cord is damaged.
- Do not use the appliance if it is not working properly, has been dropped, damaged or comes into contact with water.
- It must be repaired by Cecotec’s Technical Service in order to avoid a hazard. If the supply cord is damaged, please contact our Cecotec’s Technical Service.
- The plug must be removed from the receptacle before cleaning or maintaining the appliance.
- Do not unplug the power adapter by pulling on the power cord. Should the back-up battery be replaced, contact our Technical Service.
- The back-up battery must be removed and discarded according to local laws and regulations before disposal of the appliance.
- The appliance must be disconnected from the power supply before removing or the disposal of the device’s battery.
- Please dispose the used batteries according to local laws and regulations.
- Do not incinerate the appliance even if it is severely damaged.
- The battery can explode when burnt.
- The appliance is not intended to be used by children under the age of 8. It can be used by children over the age of 8, as long as they are given continuous supervision.
- This appliance is not intended to be used by people with reduced physical, sensory, or mental capabilities, or lack of experience and knowledge, unless they have been given supervision and/ or instruction concerning the use of the appliance in a safe way and understand the hazards involved.
- Keep this product out of the reach of children under 8 years old.
- The cleaning and maintenance of the appliance should not be carried out by children without supervision.
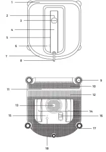
PARTS AND COMPONENTS
Main body
Fig. 1.
- Front bumper
- Status indicator
- Start/Pause button
- Handle
- Schedule button
- Speaker
- Rear bumper
- Power cord
- Edge-detection sensor
- Front mop
- Squeegees
- Mop
- Fan
- Driving wheels
- Suction sensor
- Power switch
- Direction wheel
- Bottom status indicator
Extension cord
Fig. 2.
Remote control
Fig. 3.
- Direction buttons
- Start/Pause button
- Wheels cleaning button
- Area cleaning button
- N Cleaning mode button
- Z Cleaning mode button
- Thorough cleaning button
- Empty buttons (no function)
Box contents
1. Window-cleaning robot
2. Power adapter cord
3. Safety suction pad
4. Remote control
5. Mop cloth
6. Cleaning solution
7. Instructions manual
BEFORE USE
Take the product out of the box and remove all packaging material. Make sure all parts and components are included and in good conditions. If any visible signs of damage are observed, contact Cecotec’s Technical Support Service immediately.
The ideal thickness of the windows should be at least 5 mm. It is suggested not to use the device on a framed window thinner than 5 mm (0.2″). Conga WinDroid 980 Connected can clean framed or frameless glass, larger than 50 x 70 cm (19.7″ x 27.6″). Fig. 4.
If the window is covered with dirt, clean a small area no smaller than the robot’s size on the glass before using and placing the robot there. Fig. 5.
Please ensure there is a 13-cm (5.1″) free space between the glass and any obstacle in the room, like curtains or furniture. Conga WinDroid 980 Connected can clean horizontally mounted glass but only when using the direction control buttons on the remote control. Conga WinDroid 980 Connected can clean glass at an angle but may not operate normally; in such case there must be a person near supervising the process in order to avoid accidents. The robot cannot be used upside down. It is recommended to clean the robot with the standard spray clean solution.
Attaching the mop
Fig. 5.
Turn the robot over and attach the mop to the bottom of the robot smoothly. The white side of the mop must be attached to the part with the velcro, and the gray microfiber side faces out. Make sure the mop does not cover the squeegees or edge-detection sensors.
Power adapter assembly
Fig. 7.
Safety cable assembly Before using this product for cleaning a window, please install the safety cable and the other accessories.
Fig. 8.
- E. Power cord
- F. Power adapter cord
- G. Safety suction pad
- H. Safety cord
Attach one end of the safety cable into end A on the robot power cord and tighten it. Connect end A and end B and tighten it. Place the other end of the safety cable around the safety suction pad’s channel and pull it tight. Fig. 9.
If the length of the power cord restricts the robot’s movement, an extension cord of the robot can be used. Disconnect end A and end B, and connect them with both ends of the extension cord respectively and tighten it. Only one extension cord can be used with the robot.
How to use the extension cord
Use the extension cord according to the actual distance or the glass size. Each line is 1.5-metre long. When operating the product outside a tall building, it is suggested to use only a piece of the extension cord.
Connect the two ends of extension cord separately to the adapter cable end and product cable end. Tighten the screw buckles. It is suggested to use the safety cord at the same time.
Safety suction pad installation
When you use the robot to clean an inside window: press the safety suction pad firmly on the top corner of the inside window. Make sure the safety suction pad is attached securely in place. When you use the robot to clean an inside window: press the safety suction pad firmly on the top corner of the inside window. Make sure the safety suction pad is firmly secureed in place.
Fig. 10.
Wipe the surface of the safety suction pad with the provided finishing cloth.
Spray cleaning solution
Spray the upper and lower sides of the mop cloth with the cleaning solution. After spraying, wipe the bottom of the robot with a cloth. Conga Windroid 980 Connected features Smartphone App. Its Wi-Fi connectivity allows connecting the robot to your Smartphone and using its different functions while displayed on your phone (See App manual).
OPERATION
Do not unplug the device from the power supply when the robot is working, otherwise, the product may fall off. Fig. 11.
Start
Plug in the robot.
Let the battery charge between 1.5 and 2 hours before using the robot.
Switch on the robot
Fig. 12.
Move the switch to the “-” position. The status light indicator will turn on blue when the robot is turned on.
- Keep objects away from the robot ‘s fan to avoid blockage.
Place the robot on the glass
Place the robot on the window at least 10 cm (4″) from window corners or other obstacles. The robot has successfully attached to the window when the status indicator light glows a continuous blue. Please ensure there is a 13-cm (5.1″) free space between the glass and any obstacle in the room, like curtains or furniture.
Start cleaning
There are two methods to start the robot:
Press Start/Pause button on the robot or on remote control to start cleaning. Conga WinDroid
980 Connected automatically chooses “N” cleaning mode.
Choose between N or Z mode on the remote control depending on the window’s shape.
Use the remote control to start the product. N Cleaning Mode is best for tall windows. Fig. 13.
Use the remote control to start the product. Z Cleaning Mode is best for wide windows. Fig. 14.
Pause
Pause the robot during cleaning by pressing Start/Pause button on the robot or on the remote control.
While the robot is paused, you can control the product’s working direction or operating mode through the buttons on the remote control.
Fig. 15.
Stop:
When cleaning is over, the product returns to the place where cleaning started and beeps.
Remove the robot from the surface
Fig. 16.
Grab the handle and press Start/Pause for more than 5 seconds. Then, remove the product.
Turn the robot off
Fig. 17.
Move the switch button to the “O” position.
Remove the safety suction pad
Fig. 18.
Unplug the product from the power supply.
Fig. 19.
Note: when the product displays a red light and beeps, please check if the power adapter is connected correctly. When the power adapter is correctly connected, the product will show a blue light and will start operating. When the power adapter is connected correctly, and the product still shows a red light, please use the direction buttons on the remote control to operate the product and move it from its current position, until the blue light shows up, press Start/Pause keys on the remote control for the product to operate properly.
CLEANING AND MAINTENANCE
When cleaning the mop cloth and the bottom parts of the product, please switch off the product.
Clean mop cloth
Turn the robot over and remove the mop cloth, soak it in cool, clean water for 2 minutes. Handwash with mild detergent and lay flat to dry. Let it dry completely before attaching it again to the robot.
Do not use a wet mop cloth on the robot or it may slip on the window. Washing the mop cloth regularly can extend its service life. If the cloth becomes worn or no longer fits, replace it with a new one to achieve best cleaning performance.
Fig. 20.
Fan cleaning
Turn the robot over and wipe any debris from the fan with a cloth to maintain suction.
Guide wheels cleaning
Turn the robot over and wipe the four side rollers with a cloth to maintain their effectiveness.
Edge Detection Sensors cleaning
Turn over the robot and wipe five edge detection sensors clean with a cloth to maintain their effectiveness.
Fig. 21.
Squeegees cleaning
Turn over the robot and wipe five edge detection sensors clean with a cloth to maintain their effectiveness.
Driving wheels cleaning
Before cleaning the wheels, move the power switch to the “-“ position. Then wait 8 seconds until it stops vacuuming and starts beeping. Then press the Start/Pause button key on the remote control and start cleaning the driving wheels. Fig. 22.
Press Start/Pause and Clean buttons on the remote control to check the driving wheels. If there is any dust, press pause and clean the dust.
Fig. 23.
After cleaning, turn off the switch on of the bottom part to the “O” position.
Light status indicator
| Blue light flashing | The product can be placed on the glass. |
| Steady blue light | Product suction is succesful. The robot remains attached to window and it can start cleaning the window. |
| Red light flashing | The robot stops suctioning so it can be removed from the window. |
Pink light flashing | Power adapter is not connected or vacuum is not enough. If the cord is unplugged and the product starts beeping, remove the product from the window or plug it again to a power supply. |
TROUBLESHOOTING
| Ref. N.º | Problem | Cause | Solution |
| 1 | If the blue light flashes, the robot is checking that Conditions are suitable for for operating. If this process takes longer than 20 seconds, it can be due to any of these causes: | Mops are not installed correctly | Remove the cleaning mop and install it again to make it flat. |
| Free-fall sensors error | Check if the free fall sensor has any foreign material that stops it from working properly. | ||
| The glass surface is too dirty. | Clean the are firstly before sticking the product to the window. | ||
| 2 | Red light flashes and beeps | Power adapter is not connected. | Connect to the power supply first, and press start to make the product work again. |
| In case of power cut, use remote control to direct the product to the place where safely reach it and remove it. There is some risk when using remote control under power cut. Please make sure that highest safety precautions are taken. | |||
| Vacuum power is not enough during operation. | Use the remote controller to take the robot back to safe position. There is some risk when using remote control under power cut. Please make sure that highest safety precautions are taken. | ||
| Free-fall sensor error while operating. | Check if there is any dust in the free-fall sensors, and clean it. If this does not work, please contact Cecotec’s customer service. | ||
| 3 | Pink light flashes. | Power adapter is not connected. | Connect to the power supply first, and press Start to make the product work again. In case of power cut, use remote control to direct the product to the place where safely reach it and remove it. There is some risk when using remote control under power cut. Take all necessary precautions. |
| 4 | The device does not operate or move correctly. | The glass surface is too dirty. | Clean driving wheels. Change the mops. This product is not suitable for very dirty glasses. |
| 5 | Remote control failure. | When the device is operating, only Start/Pause buttons work. | Pause the product first, and then use other buttons on the remote control to control the product. . |
TECHNICAL SPECIFICATIONS
Model: Conga WinDroid 980 Connected
Product reference: 05458
Power: 90 W, 100-240 V, 50/60 Hz
Frequency bands: 1 – 13 GHz
Maximum Transmission Power: 10 dBm
Made in China | Designed in Spain
DISPOSAL OF OLD ELECTRICAL APPLIANCES
The European directive 2012/19/EU on Waste Electrical and Electronic Equipment (WEEE), specifies that old household electrical appliances must not be disposed of with the normal unsorted municipal waste. Old appliances must be collected separately, in order to optimize the recovery and recycling of the materials they contain, and reduce the impact on human health and the environment. The crossed out “wheeled bin” symbol on the product reminds you of your obligation to dispose of the appliance correctly. Consumers must contact their local authorities or retailer for information concerning the correct disposal of old appliances and/or their batteries.
TECHNICAL SUPPORT SERVICE AND WARRANTY
This product is under warranty for 2 years from the date of purchase, as long as the proof of purchase is submitted, the product is in perfect physical condition, and it has been given proper use, as explained in this instruction manual. The warranty will not cover the following situations: The product has been used for purposes other than those intended for it, misused, beaten, exposed to moisture, immersed in liquid or corrosive substances, as well as any other fault attributable to the customer. The product has been disassembled, modified, or repaired by persons, not authorised by the official Technical Support Service of Cecotec. Faults deriving from the normal wear and tear of its parts, due to use. The warranty service covers every manufacturing defects of your appliance for 2 years, based on current legislation, except consumable parts. In the event of misuse, the warranty will not apply.
If at any moment you detect any problem with your product or have any doubt, do not hesitate to contact Cecotec Technical Support Service at +34 963 210728.

Fig./Img./Abb./Afb./ Rys./Obr. 1

Fig./Img./Abb./Afb./ Rys./Obr. 2

Fig./Img./Abb./Afb./ Rys./Obr. 3
Fig./Img./Abb./Afb./ Rys./Obr. 4
Fig./Img./Abb./Afb./ Rys./Obr. 5

Fig./Img./Abb./Afb./ Rys./Obr. 6

Fig./Img./Abb./Afb./ Rys./Obr. 7

Fig./Img./Abb./Afb./ Rys./Obr. 8

Fig./Img./Abb./Afb./ Rys./Obr. 9.

Fig./Img./Abb./Afb./ Rys./Obr. 10

Fig./Img./Abb./Afb./ Rys./Obr. 11

Fig./Img./Abb./Afb./ Rys./Obr. 12

Fig./Img./Abb./Afb./ Rys./Obr. 13
Fig./Img./Abb./Afb./ Rys./Obr. 14
Fig./Img./Abb./Afb./ Rys./Obr. 15
Fig./Img./Abb./Afb./ Rys./Obr. 16

Fig./Img./Abb./Afb./ Rys./Obr. 17
Fig./Img./Abb./Afb./ Rys./Obr. 18

Fig./Img./Abb./Afb./ Rys./Obr. 19

Fig./Img./Abb./Afb./ Rys./Obr. 20

Fig./Img./Abb./Afb./ Rys./Obr. 21
Fig./Img./Abb./Afb./ Rys./Obr. 22

Fig./Img./Abb./Afb./ Rys./Obr. 23



















