FLEX Renovation Sander Instruction Manual
Symbols used in this manual
WARNING!
Denotes impending danger. Nonobservance of this warning may result in death or extremely severe injuries.
CAUTION!
Denotes a potentially dangerous situation. Non-observance of this warning may result in injury or damage to property.
NOTE
Denotes hints on use and important information.
Symbols on the device
Before switching on the power tool, read the operating manual.
Wear protective goggles.
Disposal information for the old tool (see page 24).
Important safety information
WARNING!
Before using the power tool, please read the following and act accordingly:
- These operating instructions
- The “General safety instructions” on the handling of power tools in the enclosed booklet (leaflet no.: 315.915)
- The currently valid site rules and the regulations for the prevention of accidents.
This power tool is state of the art and has been assembled in accordance with the acknowledged safety regulations. Nevertheless, when in use, the power tool may pose a danger to life and limb of the user or a third party, or the power tool or other items could be damaged. The power tool may be operated only.
- for its intended use,
- in perfect working order.
Faults which compromise safety must be repaired immediately.
Intended use
The renovation sander LD 16-8 125 R / LDE 16-8 125 R is designed.
- for commercial use in industry and trade
- for dry sanding and smooth finishing concrete, plaster, screed, sandstone, fireclay and tarmac
- for sanding off paint and adhesive residue on concrete or screed
- for use with diamond tools that are offered by FLEX for these power tools and are authorised to run at a speed of at least 9000 rpm.
It is not permitted to use cutting discs, rubbing discs, flap discs or wire brushes. When using the renovation sander LD 16-8 125 R / LDE 16-8 125 R, connect a class M dust extractor.
Safety instructions
WARNING!
Read all safety notices and instructions.
Failure to comply with the safety notices and instructions may result in electric shock, fire and/or serious injuries. Keep all safety notices and instructions in a safe place for future reference.
- This power tool is to be used as a sander/ grinder. Observe all of the safety notices, instructions, diagrams and specifications included with the tool. Failure to heed the following instructions may result in electric shock, fire and/or serious injury.
- This power tool is not suitable for sanding with sandpaper, working with wire brushes, polishing and cutting discs. Hazards and injuries can ensue if the power tool is not used in the way intended.
- Do not use accessories other than those specifically provided and recommended by the manufacturer for this power tool. Just because an accessory can be attached to the power tool does not mean that it is safe to use.
- The approved speed of the tool/ attachment must be at least as high as the maximum speed specified on the power tool. Accessories that rotate faster than permitted could disintegrate and broken parts could fling off at speed.
- The outside diameter and the thickness of the tool/attachment must be within the capacity rating of the power tool. Tools/attachments of the wrong size cannot be shielded or controlled sufficiently. Sanding/grinding discs, sanding/grinding wheels or other accessories must fit precisely on the spindle of your power tool. Tools/attachments that do not fit properly on the spindle of the power tool will rotate unevenly, vibrate heavily and cause loss of control.
- Do not use damaged tools/attachments. Before each use, check tools/ attachments for chips and cracks, check grinding/sanding plates for fractures and look for signs of major wear and tear. If the power tool or tool/attachment falls on the ground, check whether it is damaged or use an undamaged power tool and/or tool/attachment. Once the tool/ attachment has been inspected and installed, keep yourself and others away from the rotating tool/attachment and allow the power tool to operate at full speed for one minute. If tools/attachments are damaged they will usually break in this test period.
- Wear personal protective equipment. Wear a visor, eye protection or goggles depending on use. If appropriate, wear a dust mask, ear defenders, safety gloves or special apron to protect against small grinding particles and material fragments. Eyes should be protected against foreign bodies that are flung into the air during various applications. Dust masks or respirators must be capable of filtering out dust generated during use. Hearing damage could ensue if you are exposed to loud noise for extended periods.
- Make sure that others are kept a safe distance from your working area. All persons who enter the working area are required to wear personal protective equipment. Fragments of the work piece or broken tools/attachments could be flung into the air and cause injuries even outside the immediate working area.
- Hold the power tool by the insulated gripping surfaces when performing an operation where the cutting accessory could contact hidden wiring or its own power cord. Contact with a live wire may make exposed metal parts of the power tool live and cause an electric shock.
- Keep the power cord away from rotating tools/attachments. If you lose control over the power tool, the power cord could be cut or pulled and draw your hand or arm into the rotating tool/attachment.
- Never place the power tool down before the tool/attachment has come to rest completely. If the tool/attachment is still rotating, it could come into contact with the surface and cause loss of control over the power tool.
- Never leave the power tool running while carrying it. Your clothing could be caught through accidental contact with the rotating tool/ attachment and the tool/attachment could cut into your skin.
- Clean the ventilation slots of the power tool regularly. The motor fan draws dust into the housing and a heavy build-up of metal dust could pose an electrical hazard.
- Do not use the power tool in the vicinity of combustible materials. Sparks could set these materials alight.
- Do not use tools/attachments that require liquid coolant. The use of water or other liquid coolants could cause electric shock.
Special safety notices for sanding/grinding
- Abrasives may only be used for the recommended applications. For example: Never sand with the side of a diamond sanding plate. Diamond sanding plates are designed to abrade material with the underside of the sanding plate. Force imparted on the side could cause disintegration of the abrasive plate.
- Only ever use undamaged clamping flanges of the correct size and shape for the selected tool/attachment. Suitable flanges support the tool/ attachment and in doing so reduce the risk of breakage.
- Do not use worn tools/attachments from larger power tools. Tools/attachments from larger power tools are not designed for the higher speeds of smaller power tools and could break.
Kickback and related safety notices
Kickback is the sudden reaction to a trapped or seized rotating tool/attachment, such as a sanding disc, sanding plate, wire brush and such like. If these items seize up or become trapped, the rotating attachment will stop abruptly. This results in an uncontrolled power tool accelerating against the direction of rotation of the tool/attachment in the seized area.
If e.g. a sanding disc becomes trapped or seized in the work piece, the edge of the sanding disc will get caught from cutting into the work piece and cause the sanding disc to disintegrate or the power tool to kick back. The sanding disc would then move towards or away from the user depending on the direction of rotation of the disc in the seized area. This can cause sanding discs to break as well.
A kickback occurs from incorrect or faulty use of the power tool. It can be mitigated through suitable precautions, which are described as follows.
- Maintain a firm grip with both hands on the power tool and position your arms in such a way that kickback forces can be resisted. Always use the auxiliary handle, if present, for the highest level of control over kickback forces or starting torque. The person operating the tool can master forces from kickback and starting torque provided suitable measures are taken.
- Always keep hands away from rotating tools/attachments. The tool/attachment could move over your hand during a kickback.
- Keep your body away from the area in which the power tool will move in the event of a kickback. Kickback propels the power tool in the direction opposite the movement of the grinding/sanding disc in the seized area.
- Exercise greater caution when working in corners, at sharp edges and such like. Prevent tools/attachments recoiling from the work piece and becoming jammed. The tool/attachment has a tendency to jam in corners, at sharp edges or when it recoils. As a result, control could be lost or kickback caused.
- Do not use chainsaw discs or serrated cutting discs. Tools/attachments of this kind frequently lead to kickback or loss of control over the power tool.
Additional safety notices
- Use only extension cables approved for outside use.
- Sanding lead-based paints is not recommended. The removal of lead based paints should be carried out by a specialist.
- Do not work on materials that release hazardous substances (e.g. asbestos). Implement safety measures if there is a danger of dust being generated that is hazardous to health, combustible or explosive. Wear a dust mask. Use local exhaust ventilation.
MATERIAL DAMAGE!
The mains voltage and the voltage specifications on the rating plate must correspond.
Noise and vibration
WARNING!
The specified measured values refer to new power tools. Daily use causes the noise and vibration values to change.
NOTE
The vibration emission level given in this information sheet has been measured in accordance with a standardised test given in EN 60745 and may be used to compare one tool with another. It may be used for a preliminary assessment of exposure. The declared vibration emission level represents the main applications of the tool. However, if the tool is used for different applications, with different cutting accessories or poor maintenance, the vibration emission level may differ. This may significantly increase the exposure level over the total working period. To make an accurate estimation of the vibration exposure level, it is also necessary to take into account the times when the tool is switched off or running but not actually in use. This may significantly decrease the exposure level over the total working period. Identify additional safety measures to protect the operator from the effects of vibration such as: tool and accessory maintenance, keep hands warm, standard operating procedures.
CAUTION!
Wear ear defenders at a sound pressure above 85 dB(A)
Technical data
| LD 16-8 125 R | LDE 16-8 125 R | ||
| Machine type | Renovation sander | ||
| Mains voltage | V/Hz | 230/50 | |
| Protection class | II / | ||
| Power input | W | 1,600 | |
| Power output | W | 900 | |
| Speed | rpm | 7,800 | 1 – 4,500 2 – 5,200 3 – 5,900 4 – 6,400 5 – 7,100 6 – 7,800 |
| Rated speed | rpm | 9000 | |
| Tool holder | M14 | ||
| Max. disc diameter | mm | 125 | |
| Weight according to “EPTA procedure 1/2003” | kg | 3.0 | |
| A-rated noise level in accordance with EN 60745 (see “Noise and vibration”). | |||
| Sound pressure level LPA | dB(A) | 87 | |
| Sound power level LWA | dB(A) | 98 | |
| Uncertainty K | dB | 3 | |
| Vibration total value in accordance with EN 60745 (see “Noise and vibration”). | |||
| Emissions value ah when … | |||
| Sanding concrete surfaces | m/s² | 8.3 | |
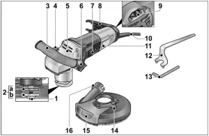
Overview

- Spindle with threaded flange
- a Clamping flange
b Clamping nut - Handle, adjustable
- Spindle lock
For holding the spindle during tool change. - Gear head
With air outlet and direction of rotation arrow. - Handle adjustment knob
- Rocker switch
For switching on and off.
With detent position for non-stop operation. - Hose retainer
- Setting wheel for speed preselection
- 4.0 m power cord with plug
- Rating plate
- Stop wrench
- Allen key
- Clamping lever
- Swivelling edge segment
- Connection for extractor
Instructions for use
Before initial operation
Unpack the power tool and accessories and check that no parts are missing or were damaged during transport.
Attaching and changing the abrading tool
WARNING!
Before performing any work on the power tool, pull out the mains plug.
- Press and hold the spindle lock (1.)
- Using the stop wrench, loosen the clamping nut on the spindle in anticlockwise direction and remove (2.).

- Insert the diamond grinding wheel (A) in the correct position.
- Screw the clamping nut (B) onto the spindle with the shoulder facing upwards.
- Press and hold the spindle lock.
- Tighten the clamping nut with the stop wrench.
- Check the position of the protective hood.

The brush ring should protrude approx. 0–1 mm over the sanding plate. Adjust if necessary (see “Adjusting the protective hood”). - Insert the mains plug into the socket.
- Switch on the power tool (without detent) and allow it to run for approx. 30 seconds. Check for imbalance and vibrations.
- Switch off the power tool.
Adjusting the handle

- Loosen the handle adjustment knob approx. 3 turns in anti-clockwise direction.
- Move the handle to the desired position (15° detent) Ensure that it engages correctly.
- Tighten the handle adjustment knob in clockwise direction.
NOTE
The handle can be moved to the other side of the power tool if needed.
Adjusting the protective hood
NOTE
The brush ring should protrude approx. 0–1 mm over the sanding plate. The protective hood can be adjusted in height to compensate for wear of the diamond sanding plate.
- Release the clamping lever on the protective hood.
- Adjust the protective hood to the desired height.

- Tighten the clamping lever.
Switching the power tool on/off Short-term operation without detent
- Push the rocker switch forwards and hold.
- Release the rocker switch to switch off.
Non-stop operation with detent
- Push the rocker switch forwards and engage by pressing the front part.
NOTE
If there is a power failure, the switched on power tool will not start running again. Switching off the equipment:
- To switch off, release the rocker switch by pressing the rear part.
NOTE
The tool will switch off automatically in the event of a short overload. To restart the tool, switch off and back on again. If overheating occurs due to overload during non-stop operation, the speed of the power tool will be reduced automatically until the power tool has cooled down sufficiently. At the end of the cooling mode, the tool switches off automatically.
To restart the tool, switch off and back on again.
Speed preselection
- To set the operating speed, move the dial to the required value.
CAUTION!
Risk of injury from disintegration of the tool. Use a tool appropriate for the task at hand.
NOTE
Avoid exerting excess pressure on the tool when sanding/grinding at low speed (1-3) as it will otherwise quickly overheat.
Using a dust extraction system
NOTE
The use of a class M FLEX dust extractor is recommended.
- Connect suction hose to the 32 mm connector.
- Engage the suction hose in the hose retainer.

- Connect the suction hose to the dust extraction system. Observe the operating instructions of the dust extraction system. Check the attachment. Use a suitable adapter if necessary.
NOTE
If your dust extraction system needs a special connection (i.e. a connection other than the 32 mm/36 mm standard connection included in the items supplied with the power tool), contact the dust extractor vendor to obtain a suitable adapter.
Working with the power tool
WARNING!
The rotating sanding plate must not come into contact with sharp, protruding items.
Risk of kickback! Sanding plate damage. If the sanding plate is damaged or heavily worn, it must be replaced without fail.
CAUTION!
Always hold the power tool firmly with both hands.
- Secure abrasive.
- Connect dust extraction system.
- Insert the mains plug.
- Switch on dust extraction.
- Switch on the power tool.
- Bring the renovation sander into position on the work surface. The brush ring / rubber suction ring must be flush with the work surface.

- Increase pressure to bring the sanding plate into contact with the work surface. Sweep the renovation sander with overlapping movements when doing this.
- For sanding in corners:
– Switch off the power tool and wait until the abrasive has stopped moving.
– Pull out the swivelling edge segment and swivel it to the left.
– Switch the power tool back on again.
- Switch off the power tool after stopping work and pull out the mains plug.
Replacing the protective hood
The protective hood has a retainer. This must be reinstalled following replacement of the protective hood.
Brush ring
The protective hood features a brush ring. This ring fulfils two functions:
– Since the brush ring protrudes over the surface of the sanding plate, it is the first thing to come into contact with the work surface. This brings the sanding plate into position parallel with the work surface before the abrasive makes contact with the work surface. It prevents any ruts being cut into the surface by the edge of the sanding plate.
– The ring holds back dust before it is extracted by the vacuum cleaner. If the brush ring is damaged or exhibits excessive signs of wear, it should be renewed. A replacement brush set is available from any FLEX customer service centre.
Rubber suction ring
If the rubber suction ring is damaged or exhibits signs of excessive wear, it should be renewed.
A replacement suction ring is available from any FLEX customer service centre.
Maintenance and care
WARNING!
Before performing any work on the power tool, pull out the mains plug.
Cleaning
WARNING!
Do not use water or liquid detergents.
- Regularly blow out housing interior and motor with dry compressed air.
- Clean protective hood and swivelling edge segment with dry compressed air.
Repairs
Repairs may only be carried out by an authorised customer service centre.
NOTE
Do not loosen the screws on the motor housing during the warranty period. Failure to comply with this requirement will invalidate any claims under the manufacturer’s warranty.
Spare parts and accessories
Other accessories, in particular cutting accessories, can be found in the manufacturer’s catalogues. Exploded drawings and spare-part lists can be found on our homepage:
www.flex-tools.com
Disposal information
WARNING!
Render disused power tools unusable by removing the power cord.
EU countries only Do not dispose of electric power tools in the household waste! In accordance with the European directive 2012/19/EU on Waste Electrical and Electronic Equipment and its incorporation into national law, end-of-life electric power tools must be collected separately and recycled in an environmentally-friendly manner.
NOTE
Please ask your dealer about disposal options.
conformity
We declare on our sole responsibility that the product described under “Technical data” conforms to the following standards or normative documents:
EN 60745 according to the provisions of
directives 2014/30/EU, 2006/42/EC,
2011/65/EU.
Responsible for technical documents:
FLEX-Elektrowerkzeuge GmbH, R & D
Bahnhofstrasse 15, D-71711 Steinheim/Murr
Exemption from liability
The manufacturer and its agent are not liable for any damage and lost profit due to interruption in business caused by the product or by an unusable product. The manufacturer and its agent are not liable for any damage which was caused by improper use of the power tool or by use of the power tool with products from other manufacturers.

























