![]()
531344-1_A
Thank You!
Thank you for choosing Humminbird®, America’s #1 name in fishfinders. Humminbird® has built its reputation by designing and manufacturing top-quality, thoroughly reliable marine equipment. Your Humminbird® is designed for trouble-free use in even the harshest marine environment. In the unlikely event that your Humminbird® does require repairs, we offer an exclusive Service Policy free of charge during the first six months after purchase and are available at a reasonable rate after the six-month period. For complete details, see the warranty information at the end of this manual. We encourage you to read this operations manual carefully in order to get the full benefit from all the features and applications of your Humminbird® product.
The RF25 SmartCast® product should have:
- One Advanced Remote Sonar Sensor – RSS™
- One Rod Mounted Display with installed 2450 CR battery
- One extra 2450 CR battery
- Three different Mounting Sleeves: A, B, and C
- This RF25 SmartCast® Operations Manual.
If any of these components are missing, please contact our Customer Resource Center at either 1-800-6331468 or visit our website at www.humminbird.com.
NOTE: The RF25 also comes in an International version that is CE-compliant.
WARNING! Disassembly and repair of this electronic unit should only be performed by authorized service personnel. Any modification of the serial number or attempt to repair the original equipment or accessories by unauthorized individuals will void the warranty. Handling and/or opening this unit may result in exposure to lead, in the form of solder.
WARNING! This product contains lead, a chemical known to the state of California to cause cancer, birth defects, and other reproductive harm.
WARNING! The bottom of the RSS™ should not be handled during sonar operation, as this may cause physical discomfort and may result in personal injury in the form of tissue damage. Handle the RSS™ only by the antenna tower when it has been in the water.
WARNING! The RSS™ (Remote Sonar Sensor) is not intended for use by children younger than 6 years old without adult supervision as the RSS™ may represent a choking hazard to small children.
Using the SmartCast®

The SmartCast ® is a first-of-its-kind wireless fish finder that is incredibly easy to use. Simply attach the Rod Mounted Display to your rod, then attach the Remote Sonar Sensor (RSS™) to the end of your fishing line and cast it into the water as you would a normal float or lure. Then power on the SmartCast ® RF25 and you are ready to fish. The SmartCast ® system uses sonar technology to send sound waves from the RSS™ into the water. The returned “echoes” are transmitted with wireless technology to the RF25 and plotted on the display. New information appears on the right. As this information moves to the left a very accurate picture of the underwater world is created, including objects such as the bottom, fish, and structures, as well as the depth of the bottom.
NOTE: The RF25 display is designed to be used with polarized sunglasses only when the user is looking straight at the screen. You may not be able to read the display from other angles when wearing polarized sunglasses.
WARNING! The electronic parts in the Remote Sonar Sensor (RSS™) are made to withstand use when casting into water. Because shock from abrupt contact with rocks can damage your RSS™, we do NOT recommend using your RSS™ in water that is less than one foot (0.3 m) deep.
Operational Modes
The RSS™ can be used in two distinct ways:
Sonar Graph: The RSS™ can be used to create a sonar graph of the bottom. Cast the RSS™ into the water beyond an area of interest, then reel in the RSS™ at a slow and steady rate The digital display will provide precise information for bottom contour, depth, and structure below the RSS™. Fish and baitfish will be displayed when detected.
Stationary Float: The RSS™ can be used as a float in a stationary location to monitor the area below, giving you a live update as fish approach your bait.
![]()
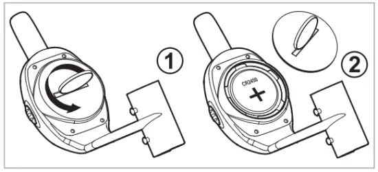
Activating the Rod Mounted Display Battery
When you first use the RF25 SmartCast® Rod Mounted Display you will need to activate the display battery. Use a coin to remove the battery door on the back of the Rod Mounted Display, then remove the plastic strip located in the battery compartment.

Make sure that the O-ring in the battery compartment is present, positioned correctly in the grooves, and free of debris before re-installing the battery door.
NOTE: Replace the Rod Mounted Display battery only with a 2450 CR-type battery. These batteries can be purchased from most electronics retailers.
NOTE: Under normal use, you should expect the life of the display battery to last up to 40 hours of operation. Operation in cold weather will significantly reduce the life of the battery.
NOTE: Your RF25 will start-up in Watch mode after the battery is installed initially. See Powering the Display ON and OFF and Watch Mode for more information.
Attaching the Rod Mount Display
- Determine which of the three Sleeves will fit onto your rod. Each Sleeve will fit a variety of rod sizes, but Sleeve A fits rods closest to ¹/₂” diameter, B fits rods closest to ⁷/₁₆” diameter, while C fits rods closest to ³/₈” diameter.

- Once you have selected a specific Sleeve, attach it to the Rod Mounted Display, then slip the assembled unit onto your rod and tighten the straps. Make sure that the letter on the Sleeve is visible once the unit is mounted on the rod so that the Rod Mounted Display and the Sleeve are both on the top side of the rod when you are fishing.
NOTE: You should remove the RF25 from your rod and store it when you are not actively using it. See Maintenance for important storage information.
NOTE: Keep the unused Sleeves in case you get a rod of a different size. If you need a replacement Sleeve, you may order it from our website, www.humminbird.com, or from participating retailers and dealers.
Attaching the RSS™
The line coming from your reel can be tied off to the front hole in the Remote Sonar Sensor (RSS™). If you also wish to use the RSS™ as a conventional float, use the second hole to attach your hook using a lighter-weight line. A snag will break the lighter line if you have to break free. Slip line techniques are not recommended because of the higher risk of losing the RSS™. If you do use the slip line method, use a lighter weight line after the lower stop, enabling retrieval of the RSS™ if the lower line with hook breaks away.

CAUTION: You will increase the possibility of breaking your line if you use a light test pound line on your reel. The RSS™ is positively buoyant (is buoyant under its own weight plus 0.2 ounces or 5.7 g of bait and lead weight.) The maximum amount of weight for any attachment to the RSS™ is approximately ¹²/₆₄ to ¹³/₆₄ ounces (5.3 g to 5.8 g) and includes the combined weight of any hook, line, weight, swivel/snap swivel and bait that is attached to the RSS™. The RSS™ itself weighs 1 ounce (28 g), and therefore light test line might break.
NOTE: Store the RSS™ in a dry, non-metallic container, such as a tackle box, in a separate compartment, and isolated from any metallic devices.
RSS™ Power
The Remote Sonar Sensor (RSS™) has a separate, nonreplaceable lithium battery that has a shelf life of three years and will last for approximately 500 hours of in-water use (when the nighttime LED is turned off). Discard the used RSS™ in compliance with local laws as you would any electronic component or battery.
The RSS™ will turn on its Sonar Transmitter/Receiver automatically when it is immersed in the water. Once immersed, the RSS™ will begin transmitting the sonar information via radio frequency (RF) to the Rod Mounted Display. The RSS™ automatically stops using power a few seconds after being pulled out of the water.
WARNING! Do not place the RSS™ in a wet area when not in use as this will turn on the RSS™ and shorten its usable life. Store the RSS™ in a dry area when not in use to conserve power. Never place the RSS™ in a wet area of a boat or on a metal surface that could accidentally power it on.
NOTE: If the RSS™ was used in saltwater, rinse it with fresh water before storing it.
What’s On the Display

The SmartCast® displays underwater information in an easy-to-understand format. The top of the display corresponds to the water surface, and the bottom of the display corresponds to the selected Depth Range (see Depth Range). The display varies as the area under
the RSS™ changes.
Underwater conditions vary greatly, so some experience and interpretation are needed to realize all the benefits of the SmartCast®– use the diagram as a guide to the most common conditions and practice using the SmartCast® over known bottom types.
The SmartCast® can also display the time and date.
Press the RIGHT Cursor button to momentarily view the time and date.
Powering the Display ON and OFF
NOTE: If you have just taken the RF25 out of the box, see Activating the Rod Mounted Display Battery.

Your RF25 has three power states:
- Off – Display is turned off
- Normal Fishing Mode – used for fishing
- Watch Mode – low-power, continuous-time display.
To turn the RF25 on, press the POWER-MENU button; the Start-Up screen will appear, then automatically change to Normal Fishing mode if you take no further action. To turn the RF25 off, press the POWER-MENU button until you hear a beep (indicating that you are in Watch mode), then press the RIGHT Cursor button to shut down the display.

NOTE: If you leave the RF25 in Normal Fishing mode for more than 10 minutes, the unit will timeout automatically and enter Watch mode in order to save power.
Watch Mode
Watch mode provides a continuous-time display. To enter power-saving Watch mode, start from Normal Fishing mode, and press and hold the POWER-MENU button until you hear a beep, then release. The time and date will be continuously displayed, indicating that the RF25 is in Watch mode. You can press the POWER-MENU button again to return to Normal Fishing mode.
Start-Up in Normal Fishing Mode

After pressing the POWER-MENU button to turn on the Rod Mounted Display, you will see the Start-Up screen. The Start-Up screen will disappear automatically after two seconds have passed, without further action from you. In Fishing mode, the screen will either display sonar information or the RF25 SmartCast ® screen will appear, indicating that no sonar information is currently available.

When you have powered on the Rod Mounted Display and have cast the RSS™ into the water, returned sonar data will start to be displayed. A vertical line will appear first, followed by a bottom depiction and possible fish locations if fish are sensed.
Start-Up in Simulator Mode

To enter Simulator mode, press the POWER-MENU button to turn on the RF25, wait until you see the Start-up screen, then quickly press the RIGHT Cursor Button. Once you are in Simulator mode, the display will show the word Simulate, and then, after two seconds, will show simulated data. To exit Simulator mode, you must power down the RF25.
Start-Up in Setup Mode

Use Setup to set the Time and Date. To enter Setup Mode, press the POWER-MENU button to turn on the RF25, wait until you see the Start-Up Screen, then quickly press the RIGHT Cursor Button twice. Once you are in Setup mode, the display will briefly flash the word Setup, then show the Time and Date.
Changing the Time and Date
To change the Time and Date, enter Setup Mode (see Start-Up in Setup Mode). When you see the Time and Date display, the Hour digit will flash first, indicating that you can change the hour. Once you change the hour you must perform all of the following steps to get to the end of Setup mode.
NOTE: The flashing numeral or digit is the one that can be edited.
- When you first enter Setup mode, press the RIGHT or LEFT Cursor buttons repeatedly to change the hour. Make sure that you have selected the correct hour for the time of day (AM or PM). When the desired hour is displayed, press the POWER-MENU button to begin editing the minutes.
- Press the RIGHT or LEFT Cursor buttons repeatedly to change the Minutes. When the desired minutes are displayed, press the POWER-MENU button to begin editing the month.
- Press the RIGHT or LEFT Cursor buttons repeatedly to change the month. When the desired month is displayed, press the POWER-MENU button to begin editing the day.
- Press the RIGHT or LEFT Cursor buttons repeatedly to change the day. When the desired day is displayed, press the POWER-MENU button to begin editing the year.
- Press the RIGHT or LEFT Cursor buttons repeatedly to change the year. When the desired year is displayed, press the POWER-MENU button to exit Setup Mode.
Activating the Backlight
Use the backlight for night fishing or low light conditions.
NOTE: The display contrast may require adjustment for optimal viewing in low light conditions when the backlight is activated.
Press the LEFT Cursor Button to activate the backlight.
The backlight will automatically turn off after approximately 3 seconds.
NOTE: The backlight can only be activated if the LEFT Cursor Button is not currently being used (i.e. being used to alter a menu setting).
Viewing the Time
Pressing the RIGHT Cursor Button will display the Time and Date. If the RF25 is currently scrolling sonar information, the Time and Date will be displayed, and then the unit will automatically switch back to Sonar mode. If the RF25 is waiting for sonar information, the Time and Date will be displayed when the RIGHT cursor button is pressed, and then the unit will automatically switch back to waiting for sonar information.
A simple menu system accesses the adjustable features of the SmartCast ® RF25. To activate the menu system, press the POWER-MENU button; the first time you do this after power-up, the Sensitivity menu choice will appear. Once the RF25 has been powered on, pressing the POWER-MENU button will display the last menu choice viewed. Press the POWER-MENU button repeatedly to access other SmartCast ® menu choices, one at a time. When a menu choice is on the display, use the RIGHT and LEFT Cursor buttons to adjust the menu settings. Menus are automatically removed from the display after several seconds.
Sensitivity

Press the POWER-MENU button until SENSITIVITY appears. Select a higher number to show weaker sonar returns on the display, or a lower number to remove clutter from the display. Adjusting Sensitivity also affects how sonar returns are identified as Fish ID Symbols – more fish will be detected at the highest setting of 10, fewer at the lowest setting of 0. (0 -10, Default = 5)
Depth Range

Press the POWER-MENU button until DEPTH RANGE appears. Auto is the default setting. When automatic, the lower range will be adjusted by the unit to follow the bottom. Selecting a manual depth range locks it to the setting you select. (Auto, 10, 15, 20, 30, 60 or 120 feet [3, 5, 6, 10, 20, or 40 meters], Default = Auto) NOTE: In manual operation, if the water depth is greater than the depth range setting, the bottom will not be visible on the display. Select Auto to return to automatic operation.

Depth scale changes or signal loss will cause lines with missing detail and/or abrupt changes in the graphed bottom. When the Depth Range is set to Auto, the depth is set to keep the bottom in the lower third of the screen. The screen image jump shown here is due to an automatic change in depth. New returns graphed at a different scale will not match up with the historic data already graphed at a higher or lower scale. Vertical lines can also occur as the radio signal from the RSS™ is lost and then regained in rough water conditions.
Fish Alarm

Press the POWER-MENU button until FISH ALARM appears. Select Off for no fish alarm, or On for fish alarm. Fish ID must be set to On for Fish Alarm to work. (Off,On, Default = Off)
Fish ID

Press the POWER-MENU button until FISH ID appears. Select either Off to view “raw” sonar returns or On to view fish symbols. Fish ID uses advanced signal processing to interpret sonar returns and will display a Fish Symbol when very selective requirements are met. Fish Alarm does not sound if the Fish ID is turned off. (On, Off, Default = On)
Channel

Press the POWER-MENU button until CHANNEL appears. Select either A or B to match your RSS™. See Channel A and B RSS™ Units. (A, B, Default = A)
Contrast

Press the POWER-MENU button until CONTRAST appears. Select a setting from 1 through 10. (1 to 10, Default = 5)
Channel A and B RSS™
Units Your SmartCast ® unit comes with an Advanced RSS™. This Advanced RSS™ may be programmed to either Channel A or Channel B. This A/B Channel option gives you the flexibility to switch to a different channel if another angler is using a SmartCast ® unit within 150 feet of your RSS™ to reduce possible interference. See Changing the Channel on the Advanced RSS™ for details on selecting either Channel A or Channel B.
NOTE: RSS™ units, regardless of channel, may generate erratic depth readings as a result of sonar interference when used in close proximity (closer than 40 feet) to each other or to other sonar devices.
Understanding the Advanced RSS™
The Advanced RSS™ provides the following functionality:
- Water Surface Temperature
- Blinking Light for nighttime use
- A/B Channel Select.
Water temperature will be displayed automatically on the screen.
You must manually program the Advanced RSS™ in order to turn the light on or off or to change the RSS™ channel setting to A or B.
Default settings on new products are Light = OFF and Channel = A.
RSS™ Programming Mode
You may change the light setting or the channel type on the Advanced RSS™ uses a programming model that is accessed by touching the wet switch contacts on the bottom of the RSS™.
NOTE: Please read this and the next section BEFORE you try to program the Advanced RSS™ using the wet switch contacts. Specific step-by-step procedures to turn on the light and change the channel follow this section. You will find it easier to perform these steps once you have grasped the way the programming mode works.
The programming mode allows you to:
- turn on the blinking light
- switch the Advanced RSS™ Channel from A to B.
The SmartCast ® Control Head temperature readout provides user feedback to help you make the correct selections. The temperature readout will change on the Control Head to 40°F (4°C), 45°F (7°C), 50°F (9°C), or 55°F (12°C) to signify the following settings.
NOTE: If the temperature readout is set for degrees Celsius then the temperature readout will change on the Control Head to 4, 7, 9, or 12 to signify the following settings:
Light setting:
Temp changes to… Means that…
| 40°F (4°C) | The blinking light is OFF (factory default) |
| 45°F (7°C) | The blinking light is ON (but only blinks when the Advanced RSS™ is in the water) |
Channel setting:
Temp changes to… Means that…
| 50°F (9°C) | RSS™ is set to CHANNEL A (factory default) |
| 55°F (12°C) | RSS™ is set to CHANNEL B |
IMPORTANT: The SmartCast ® Control Head must be turned on and the CHANNEL SELECT SetUp menu on the Control Head must be set to Channel A (even if the RSS™ is set to Channel B) before you can see the feedback on the Control Head temperature readout.
NOTE: The Advanced RSS™ programming mode will time out after 20 seconds of no user activity, display the Start-Up screen, and return the RSS™ to normal operation.
NOTE: If the temperature display returns to a normal reading, or the Start-Up screen appears on the display, you are no longer in programming mode.
How the Wet Switch™ Works
In the following sections, you will use the wet switch contacts on the bottom of the Advanced RSS™ to enter programming mode and to change the Light and Channel settings. Before you try these procedures for the first time, please read through this section to familiarize yourself with the way the Wet Switch™ works.

Your finger should be moist, but not dripping before you touch the Wet Switch™. You can achieve the correct dampness by dipping your finger in water, then dabbing your finger twice on a towel.
A “touch” means touching both wet switch contacts at the same time with your moistened finger, using medium pressure. The time between touches needs to be one second or less.
NOTE: Your finger must make contact with both of the wet switch pins simultaneously in order to trap them successfully.
See the procedures that follow for specific instructions on turning the light on or off or changing the channel from A to B.
Turning on the Advanced RSS™ Blinking Light
To turn on the blinking nighttime fishing light:
- Wet your finger and tap the wet switch on the Advanced RSS™ three times (the time between touches needs to be one second or less) to enter the Light programming mode. The temperature reading on the Control Head will change to show a temperature reading of 40°F (4°C) (blinking light OFF).

- To change the setting to 45°F (7°C) (blinking light ON) touch and release the wet switch contacts once more. Wait two seconds and then confirm that the temperature reading on the Control Head has changed to 45°F (7°C). Single touches will toggle the setting between 40°F (4°C) and 45°F (7°C).
NOTE: When the LED is set to ON it will flash every four seconds when the RSS™ is in operation (i.e. when the wet switch is submerged). Even when the LED is set to ON, the LED will not flash unless the wet switch is activated. If you want to test the RSS™ to make sure the LED is set to ON before using the RSS™, wet your finger and hold it on the wet switch; if the LED is set to ON, the LED will begin to flash.
NOTE: Repeat steps 1 and 2 to turn off the LED when finished with night fishing. - Once you have made your selection you can either wait 20 seconds for programming mode to time out (the Start-Up screen will appear on the Control Head display) or continue immediately to the next procedure to change the channel.
Changing the Channel on the Advanced RSS™
To change the channel type on the Advanced RSS™:
- From the Light programming mode (see Turning on the Advanced RSS™ Blinking Light), touch and release the wet switch contacts twice more with your moist finger to change from the Light programming mode to the Channel programming mode. The temperature reading on the Control Head will change to show a temperature reading of 50°F (9°C) (channel set to A).

- To change the setting to 55°F (12°C) (channel set to B) touch and release the wet switch contacts once more. Wait two seconds and then confirm that the temperature reading on the Control Head has changed to 55°F (12°C). Single touches will toggle the setting between 50°F (9°C) and 55°F (12°C).
- Once you have made your selection, wait 20 seconds for programming mode to time out (the Start-Up screen will appear on the Control Head).
- Use the SetUp Channel Select menu on the Control Head to switch the software to match the new channel designation on the Advanced RSS™. See Channel Select (Setup Menu) for more information.
CAUTION: Make sure that you change the Channel Selection on the Control Head to match the new Advanced RSS™ Channel before using the Advanced RSS™.
Using a First Generation RSS™
First generation RSS™ units still sold with other SmartCast ® products come in two versions, Channel A and Channel B (RF40A and RF40B), and are both compatible with the RF25.
NOTE: When using either an RF40A or RF40B RSS™ with the RF25, you will not get water temperature and you will not be able to turn on the LED or change the channel on the RSS™. You will still be able to read digital depth and bottom contour information.
NOTE: When using an RF40A or RF40B RSS™, make sure to select the matching channel from the CHANNEL SELECT menu on the Control Head.
Maintenance
Your SmartCast® is designed to provide years of trouble-free operation with virtually no maintenance. Follow these simple procedures to ensure your SmartCast® continues to deliver top performance.
WARNING! Never leave the RF25 SmartCast ® product in a closed car or trunk – the extremely high temperatures generated in hot weather can damage the electronics.
Rod Mounted Display Maintenance: If the Rod Mounted Display comes into contact with salt spray, wipe the affected surfaces with a cloth dampened with fresh water. When cleaning the protective lens on the display, use a chamois and a non-abrasive, mild cleanser. Do not wipe while dirt or grease is on the lens. Be careful to avoid scratching the lens. Do not use a chemical glass cleaner on the lens, as this may cause it to crack.
Do not store the Rod Mounted Display on your fishing rod, in direct sunlight, or in extreme temperatures. When you are not fishing for extended periods, remove the rod mount from the rod and store it in a dry, cool place such as your tackle box, away from extreme temperatures and ultraviolet light.
RSS™ Maintenance: After using the RSS™ in saltwater, wipe the affected surfaces with a cloth dampened with fresh water. The RSS™ Wet Switch™ pins must be rinsed with fresh water after exposure to saltwater to prevent corrosion.
If your RSS™ remains out of the water for a long period of time, it may take some time to get it when returned to the water. Small air bubbles can cling to the surface of the RSS™ and interfere with proper operation. Wipe the face of the RSS™ with a wet cloth to remove them.
If sonar performance becomes weak (i.e., there are bottom gaps or “0” depth readings) the bottom of the RSS™ needs to be cleaned with a drop or two of a 5 to 10 percent solution of liquid dish-washing detergent and water. Use approximately one tablespoon (15 ml) detergent to 8 ounces (237 ml) of water to remove oils from the face of the RSS™, then wipe with a damp cloth.
Troubleshooting
Do not attempt to repair the RF25 Rod Mounted Display or RSS™ yourself. There are no user-serviceable parts inside, and special tools and techniques are required for the assembly to ensure the waterproof integrity of the housings. Repairs should be performed only by authorized Humminbird ® technicians.
Many requests for repair received by Humminbird® involve units that do not actually need repair. These units are returned with “no problem found.” If you have a problem with your SmartCast®, use the following troubleshooting guide before calling the Customer Resource Center or sending your unit in for repair.
- The SmartCast® loses signal.
If the SmartCast® is not able to get an RF signal from the RSS™, the display will stop updating (the screen will freeze) and the RF25 SmartCast® screen will be displayed after several seconds. Whenever reception is lost or the RSS™ emerges from the water for more than a few seconds, the RF25 SmartCast® screen will be displayed until the RSS™ is placed back in the water and reception is regained.
• The SmartCast ® system is a line-of-sight wireless product. If objects are placed between the RSS™ and the Rod Mounted Display, the reception may be lost.
• The RF25 depth range is 2 to 120 feet (0.6 to 35 meters). Erratic readings may occur in water that is shallower than 2 feet (0.6 m). In addition, because of the nature of sonar, this product is not intended for use in swimming pools or small enclosed bodies of water.
• Reeling the RSS™ too fast can cause a loss of signal and the screen will freeze.
• Check the buoyant balance between the RSS™ and your tackle; over 0.2 ounces (5.7 grams) will submerge the RSS™, causing signal loss.
• The RF25 may not obtain its maximum RF distance of 150 feet (45 meters) unless the water is smooth. Waves or chops may reduce the RF range significantly.
NOTE: Retrieving the RSS™ too rapidly, or the repetitive rocking motion of rough water, can result in loss or distortion of the bottom detail on the display. For best bottom detail, perform a smooth and slow reel-in with constant speed and the rod tip up (holding the rod tip low or using a heavy line may cause the RSS™ to submerge and momentarily lose radio contact). The RSS™ has a maximum transmission range of 150 feet (45 meters). If the unit is cast or drifts more than 150 feet (45 meters) away from the receiver, the signal may be inconsistent or lost. - Nothing happens when I turn the Rod Mounted Display on.
Check the battery position and make sure that the battery door is properly closed. Also, make sure that you have removed the plastic strip that is in the battery compartment when it is new.
If this doesn’t help, replace the battery. After replacing the battery, if the unit still doesn’t power up, remove the battery door again and re-install. - When in very shallow water, I get gaps in the bottom reading and inconsistent digital depth indication.
The SmartCast ® will work reliably in water 2 feet (0.6 meters) or deeper. The depth is measured from the RSS™. - The display begins to fade out. Images are not as sharp as normal.
Check the battery position and make sure that the battery door is properly closed. Also, make sure that you have removed the plastic strip that is located in the battery compartment when it is new. If this doesn’t help, replace the battery. After replacing the battery, if the unit still has a faded display, remove the battery door again and re-install. - The display shows many black dots at high sensitivity settings.
You are seeing noise or interference caused by one of several sources. Noise can be caused by other electronic devices. Turn off any nearby electronics and see if the problem goes away. Other sonar devices or any electronic device operating in the 900 MHz range (in the 400 MHz range for International versions) could cause interference with your SmartCast®. - The display shows fluctuating depth readings and excessive clutter, including vertical bars that may be drawn on top of fish icons.
The SmartCast® system comes with the capability to receive separate signals from a Channel A RSS™ or a Channel B RSS™. Two A- or B-type RSS™ units used simultaneously, as well as one A- and one B-type RSS™ unit used simultaneously, can cause RF interference between each other. - The display jumps and the bottom has an abrupt change; sometimes a vertical line is missing or a black line from top to bottom is displayed.
This display image jump is due to an automatic change in depth. New returns graphed at a different scale will not match up with the historic data already graphed at a higher or lower scale. Vertical lines can also occur as the radio signal from the RSS™ is lost and then regained in rough water conditions.
Humminbird® 6 Month Limited Warranty
We warrant the original retail purchaser that products made by Humminbird® have been manufactured free from defects in materials and workmanship. This warranty is effective for 6 months from the date of original retail purchase. Humminbird® products found to be defective and covered by this warranty will be replaced or repaired free of charge at the Humminbird® option and returned to the customer freight prepaid. Humminbird®’s sole responsibility under this warranty is limited to the repair or replacement of a product that has been deemed defective by Humminbird®. Humminbird® is not responsible for charges connected with the removal of such product or reinstallation of replaced or repaired parts. This warranty does not apply to a product that has been:
- Improperly installed;
- Used in an installation other than that recommended in the product installation and operation instructions;
- Damaged or has failed because of an accident or abnormal operation;
- Repaired or modified by entities other than Humminbird®.
Please retain your original receipt as proof of the purchase date. This will be required for in-warranty service.
THIS WARRANTY IS EXPRESSLY IN LIEU OF ANY OTHER WARRANTIES, OBLIGATIONS, OR LIABILITIES ON THE PART OF HUMMINBIRD® AND WILL BE THE CUSTOMER’S EXCLUSIVE REMEDY, EXCEPT FOR ANY APPLICABLE IMPLIED WARRANTIES UNDER STATE LAW WHICH ARE HEREBY LIMITED IN DURATION TO SIX MONTHS FROM THE DATE OF ORIGINAL PURCHASE. IN NO EVENT WILL HUMMINBIRD® BE LIABLE FOR ANY INCIDENTAL OR CONSEQUENTIAL DAMAGES FOR BREACH OF ANY EXPRESS OR IMPLIED WARRANTY RELATING TO THE PRODUCTS.
Some states do not allow limitations on an implied warranty, or the exclusion of incidental or consequential damages, so the above exclusions may not apply to you. You may also have other rights, which vary from state to state.
International Purchases
A separate warranty is provided by international distributors for units purchased outside the United States. This warranty is included by your local distributor and this distributor maintains local service for your unit. Warranties are only valid in the area of intended distribution. Units purchased in the United States or Canada must be returned to our factory in the United States for service.
Humminbird® Service Policy
Even though you’ll probably never need to take advantage of our incredible service policy, it’s good to know that we back our products this confidently. We do it because you deserve the best. We will make every effort to repair your unit within three business days from the receipt of your unit at our factory. This does not include shipping time to and from our factory. Units received on Friday are typically shipped by the following Wednesday, units received Monday are typically shipped by Thursday, etc.
All repair work is performed by factory-trained technicians to meet exacting factory specifications. Factory-serviced units go through the same rigorous testing and quality control inspections as new production units.
After the original warranty period, a standard flat-rate service charge will be assessed for each repair (physical damage and missing parts are not included). Any repairs made after the original warranty will be warranted for an additional 90 days after service has been performed by our factory technicians. You can contact our Customer Resource Center or visit our website to verify the flat rate repair fee for your product (visit the Product Support section): http://www.humminbird.com
We reserve the right to deem any product unserviceable when replacement parts are no longer available or impossible to obtain. This Service Policy is valid in the United States only. This applies only to Humminbird ® products returned to our factory in Eufaula, Alabama. This Service Policy is subject to change without notice.
Returning Your Unit for Service
Before sending your unit in for repair, please contact the factory, either by phone or by email, to obtain a Repair Authorization Number for your unit. Please have your product model name and serial number available before calling the factory. If you contact the factory by e-mail, please include your product model name and serial number in the e-mail, and use the Request for Repair Authorization Number for your email subject header. You should include your Repair Authorization Number in all subsequent communications about your unit.
For the IN-WARRANTY service, complete the following steps:
- Obtain a Repair Authorization Number from the Humminbird® Customer Resource Center.
- Tag the product with your customer name, street address, phone number, and your assigned Repair Authorization Number.
- Include a brief written description of the problem.
- Include a copy of your receipt (to show proof and date of purchase).
- Return product freight prepaid to Humminbird®, using an insured carrier with delivery confirmation.
For OUT-OF-WARRANTY service, complete the following steps:
- Obtain a Repair Authorization Number from the Humminbird® Customer Resource Center.
- Include payment in the form of the credit card number and expiration date, money order or personal check. Please do not send cash.
- Tag the product with your customer name, street address, phone number, and your assigned Repair Authorization Number.
- Include a brief written description of the problem.
- Return product freight prepaid to Humminbird®, using an insured carrier with delivery confirmation.
SPECIFICATIONS
Rod Mounted Display Specifications:
Power Requirement ………………..One 2450 CR Battery
Display Matrix ………………………………..48 X 32 Pixels
Display Type ……………………………………………….. STN
RSS™ Specifications:
Power Requirement ………………..One non-replaceable Lithium RSS™\ Battery
Battery Expected Life …….. 3 years (approximately 500 hours of in-water use)
Depth Capability ………. 2 – 120 feet (0.6 – 35 meters)
Sonar Coverage ……………………………. 90° @-10 dB*
Sonar Operating Frequency …………………….. 125 kHz
Operational Radio Frequency ……………….. 916.5 MHz (433.92 MHz International)
Operational Range …………………. 150 feet (45 meters)
* Area of bottom coverage equals twice the current depth.

FCC ID: ICLSMC1
Humminbird®
This device complies with Part 15 of the FCC Rules. Operation is subject to the following two conditions:
- This device may not cause harmful interference and;
- This device must accept any interference received, including interference that may cause undesired operation.
CAUTION: Changes or modifications not expressly approved by Humminbird® could void the user’s authority to operate the device.
Contact Humminbird®
Your Humminbird® accessory is designed for trouble-free operation and is backed by a six-month warranty.
If you have any questions, contact our Humminbird®
Customer Resource Center:
By Telephone
(Monday – Friday 8:00 a.m. to 4:30 p.m. Central Standard Time):
1-800-633-1468
By e-mail
(typically we respond to your e-mail within three business days):
[email protected]
For direct shipping, our address is:
Humminbird
Service Department
108 Maple Lane
Eufaula, AL 36027 USA
![]()



If the SmartCast® is not able to get an RF signal from the RSS™, the display will stop updating (the screen will freeze) and the RF25 SmartCast® screen will be displayed after several seconds. Whenever reception is lost or the RSS™ emerges from the water for more than a few seconds, the RF25 SmartCast® screen will be displayed until the RSS™ is placed back in the water and reception is regained.


















