

TRANSDUCER MOUNTING PROCEDURE
Humminbird’s high-speed transducer is supplied with your LCR. This transducer has been designed to give good high-speed readings on most all boat designs, including aluminum. Please carefully consider the following before installing your transducer.

TRANSDUCER MOUNTING OPTIONS
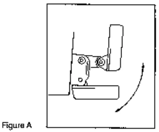
A. Transom Mount- The Humminbird high-speed transducer allows the transducer element to be mounted below the bottom of the boat hull keeping the transducer out of turbulent water and insuring good high-speed operation. The transducer will absorb the blow of any obstruction by rotating up out of the metal spring bracket without harming the transducer, or your boat.
The transducer can be re-engaged by simply rotating the transducer down and snapping it back in place. (See Figure A)

B. Inside Hull Mount- The high-speed transducer can be mounted inside the hull (without pivot assembly) using the proper two-part epoxy, such as Humminbird’s epoxy kit. Even though there is some loss of signal in shooting through the hull, your LCR will perform well with this type of installation. You cannot shoot through the hull of an aluminum boat.
C. Trolling motor Mount- This type of transducer is not supplied with your LCR. It is designed to mount on the foot of a trolling motor. You may exchange your unused high-speed transducer for a trolling motor transducer. Call the Humminbird Customer Service Department.
D. Bronz Thru-Hull Mount- This transducer is not supplied with your LCR but for an additional cost you may exchange your unused high-speed transducer for a bronze thru-hull. The bronze thru-hull transducer has a threaded stem that installs through a hole drilled in the boat hull, leaving the housing exposed under the boat. This type of installation must be used for many boats with inboard engines because there is no suitable location on the transom away from the noise and turbulence created by the prop. A bronze thru-hull transducer should be installed by qualified personnel only.
The LCR will operate well at high speeds with a properly mounted transducer. Remember, a transducer will not work transmitting through the air or through air bubbles.
TRANSOM MOUNTING PROCEDURE
Step 1.
MOUNTING LOCATION- It is important that the transducer be mounted on the transom where water flow is in constant contact with the transducer. You may wish to observe the rear of the boat while it is moving through the water to determine the best mounting location.
Step 2.
BRACKET INSTALLATION (Aluminum Boats)- To install the metal bracket on an aluminum boat locate the template on the transom between rows of rivets, or ribs that are on the bottom of the boat. Align the template so that the bottom corner of the template nearest the center of the transom is on the bottom edge of the transom.
Once the location is determined mark and drill three 7/64” dia.. holes noted on the template.
Attach the metal bracket using three #10 self-threading screws supplied. Be sure to align holes in the center of the Bracket slots. On some aluminum boats, it may be necessary to use a wood backup plate. It is important to use a silicone sealant between the screwhead and bracket in order to prevent leaking. (See Figure C)
Step 2.
BRACKET INSTALLATION (Fiberglass Boats)- If your boat has a stepped transom located below and under the main transom, the compact transducer design allows mounting in this area. This mounting location is recommended for good reading at very high speeds. (See Figure D) To install the metal bracket on a fiberglass boat, locate the template on the transom in the same manner as for an aluminum boat. (See Figure C)

NOTE: On boats with more than a 15-degree deadrise angle it may be necessary to mount the transducer slightly off parallel with the water level. (See Figure E).
Mark and drill the three 9/64” dia. holes as shown on the template. Attach the metal bracket using the three #10 self-threading screws supplied. Be sure to align the holes so that they are centered vertically in the three slots found in the bracket. It is important to use a silicone sealant between the screwhead and bracket in order to prevent leaking.

Step 3.
TRANSDUCER PIVOT ASSEMBLY- Assemble the pivot to the transducer main body using the two ¼”x5/8” Allen head screws, two 3/8” tooth washers, and two, ¼” square nuts. Make sure the tooth washers are sandwiched between the transducer main body and the pivot. The square nuts are trapped inside the pivot and will not rotate as the fallen head screws are tightened.
HOWEVER, DO NOT TIGHTEN AT THIS POINT. (See Figure F)

Step 4
TRANSDUCER ASSEMBLY- Insert the transducer assembly into the metal bracket from the bottom. Push up until the holes in the plastic pivot align with the uppermost holes in the bracket. Slide the O-ring onto the headed pin and insert it through the two parts. Assemble by screwing the ¼”x3/8” Allen head screw into the end of the pin and tightening. (See Figure G)

Step 5
ANGLE ALIGNMENT– Set the transducer angle so that it is parallel with the bottom of the boat hull. Once proper alignment is achieved, tighten the two Allen head screws using the 5/32” Allen wrench provided. The screws are visible through the access holes on each side of the metal bracket. Check to make sure the transducer’s main body is rigidly fastened to the pivot. (See Figure H)

Step 6
CHECK POSITION OF TRANSDUCER– At this point, check to see that the bottom of the transducer is a minimum of ¼” below the bottom of the transom. (However, as noted in STEP 2, the top of the transducer cannot fall below the bottom of the transom). If it is not, remove the transducer assembly from the metal bracket by removing the pin installed during STEP 3. Loosen the metal bracket mounting screws, reposition the bracket utilizing its slotted holes, and tighten and re-assemble. It may be necessary to replace the silicone sealant after this adjustment is made.
NOTE: It may be necessary to make several high-speed runs to adjust the transducer either UP/DOWN or to re-adjust the angle to achieve optimum results.
Step 7
CABLE CLAMPS- Install cable clamps as necessary by drilling a 1/8” dia. hole for the # 8 screw supplied.
INSIDE HULL MOUNTING PROCEDURE
Warning: In order to achieve proper results with this type of installation, it is important that the transducer be mounted by someone familiar with the use of two-part epoxy adhesives. For this reason, Techsonic Industries, Inc. will not be responsible for any damage due to the mounting of your transducer in this manner.
NOTE: An Epoxy Kit (Part N. EPK) is available from Humminbird. This Epoxy Kit has been formulated for Inside Hull Transducer Installation.
- Select as flat an area as possible near the aft end and center of the boat where the hull is thin and not double. If the bottom has a runner down the center of the boat, select an area to one side of the runner, but as close to the runner as possible.
- Clean the inside of the boat with lacquer thinner in the area transducer is to be mounted. Outside of boat in this area should also be cleaned. (Not with lacquer thinner).
- Put approximately one inch of water in the bottom of the boat.
- Put transducer in the water. The bottom of the transducer should be in a flat area and should be in good contact with the bottom of the boat.
- Operate the LCR with the boat operating at high speed. The transducer may have to be moved in order to find an area where satisfactory operation is observed.
- When an area is found that produces satisfactory operation, mark the location of the transducer.
- Remove the water and transducer and clean the marked area and the bottom of the transducer thoroughly.
- Using the Humminbird Epoxy Kit or equivalent, mix an ample amount of epoxy without causing it to bubble and pour it into the area the transducer is to be mounted. The puddle should be larger than the bottom of the transducer.
- Coat the bottom of the transducer with epoxy, then put it in the center of the puddle and push down on the transducer while moving it around in a circular motion. This forces out any air bubbles that may be trapped between the bottom of the transducer and the hull of the boat.
- Let the epoxy cure then the transducer is ready to operate. No water is now required at the bottom of the boat and gas and oil that are spilled inside of the boat will not degrade performance as it will if the transducer is placed only in water.
CAUTION: Do not use the silicone seal or any soft adhesive to bond the transducer to the hull. This will reduce the sensitivity of the unit.
CAUTIONS
- Occasionally the “eye“ of your transducer may become dirty from storage or from contact with oils present in boats or marine environments. (Oil will cause the “eye” to lose intimate contact with the water which is necessary for efficient operation.) The “eye” may be cleaned with liquid detergent.
- Improper installation of the transducer can alter the efficiency and accuracy of the entire system.
- If your boat of the transducer is out of the water for a period of time, it may take a short period of time for the transducer to become thoroughly “wetted” when returned to the water. Also, reentry may cause turbulence, which will create air bubbles in the “eye” of the transducer. The bubbles will disappear in a short time or can be removed y rubbing the transducer “eye” with your fingers while the transducer is in the water.
- If your instrument should fail to function, be sure to check all the electrical connections before removing the transducer or calling a serviceman.
- Inspect your transducer cable and make sure that it has not been cut or damaged to the point where it will affect the performance of the transducer. A slight nick or cut, exposing the outer cable, can be repaired by wrapping it with electrical tape. A transducer can be damaged if the inner cable and outer cable are allowed to make contact. Such a problem can sometimes be corrected by properly splicing the coaxial cable. This should only be attempted by a qualified service technician.
- If your LCR is not working properly and you suspect the problem might be in your transducer, we would recommend you borrow a unit from a friend and try it on your boat. If the symptoms are the same, you can almost be certain that the problem is in the transducer.
INSTALLING THE LCR
The LCR should be mounted on a flat, solid surface for maximum stability. The low-profile swivel mount has four holes drilled in the base. It is recommended that all four holes be used. Position the swivel base and drill four ¼” diameter holes. Note: The LCR hole pattern Is the same as for all Humminbird flasher units. Use hardware provided to mount this base to the boat.
Next, place the gimbal bracket on the swivel base and attach it with four small machine screws, provided.
Place the LCR in the gimbal mount and make certain the rubber washers provided are placed between the unit and the gimbal bracket Important: Note which side of the gimbal faces forward. (Slots on gimbal bracket go towards the rear). Also, the rubber washer must be located between the unit and the gimbal bracket.
Install the mounting knobs and tighten them snugly. The unit can now be swiveled and tilted to any desired position.

OTHER MOUNTING OPTIONS
1. The LCR gimbal bracket can also be mounted on the SM-4, quick disconnect swivel mount.
2. The LCR gimbal bracket can also be mounted directly to the dash without the swivel mount, however, this method is not recommended since the unit cannot be rotated.
INSTALLING THE CABLES
Your LCR comes equipped with Humminbird’s new Angle-Lock power and transducer connectors. The power connector is identified with the letter P on the back of the plug.
It plugs into the outlet on the back of the unit marked “Power”. The transducer connector is identified with the letter T and plugs into the outlet on the back of the unit marked “Transducer”.
Note: An adapter (AD-4) is available to allow the use of an old waterproof (BNC) transducer with the LCR, but be sure that the transducer is a 16degree. A 32-degree transducer cannot be used.
An 11/8” hole must be drilled to pull through the transducer connector. After drilling the hole, pull the transducer connector up through the hole. If you are installing two units, both transducer connectors can be pulled through this 1 1/8” inch hole. Next, push the power cable wires down through the hole. A hole cover has been provided which will dress and hold the wires. Install the hole cover after determining the necessary wire length from the hole.
The power cable has a red lead to the positive (+) post and the black lead to the negative (-) post.
Install a 1 amp fuse between the red cable and positive post of your 12-volt battery.
If a fuse panel is available, we recommend wiring the power cable into the fuse panel.
Note: The LCR must be fused separately from any other accessory.
Your Angle-Lock connectors can only be plugged in one way. Position the connector so the letter P or T can be read and the 90-degree bend is pointed downward. Push the connector in as far as it will go. Turn the positive locking ring as far as it will go clockwise until you feel it lock. Locking ring as far as it will go clockwise until you feel it lock. Your connector is now locked into place.
Note: For easy access to the connectors, simply loosen the mounting knobs and tilt your LCR forward. The connectors are now in full view and easy to plug or unplug.
OPERATIONAL INSTRUCTIONS FOR LCR 3004:
The Humminbird LCR 3004 will operate fully automatic or manual at the discretion of the operator. At the heart of the LCR 3004 is a microcomputer that is making thousands of decisions every second. With the LCR 3004’s automatic features you will quickly and easily learn the basics of operating your unit and after a couple of trips on the water, you’ll be operating the LCR like an expert. It is suggested that you familiarize yourself with each of the features and controls prior to operating your LCR 3004.
- Power: (See Figure 12). To activate the unit, depress the Power “On/Off” switch. The LCR 3004 always comes on in automatic mode. In the automatic mode, the unit will find the bottom by varying the sensitivity and selecting the proper depth range for a satisfactory return. Also, the display below the bottom is blacked out to make the display easier to read.
To turn the unit off, depress the Power “On/Off” switch again - Light: Depress the light “On/Off” switch to activate the display light for night or low light conditions. The light is turned off by again depressing the “On/Off” switch. When using the night light you will notice that the viewing angle or best viewing position is different than during daylight operation. Tilt the unit back until you find the best angle for night viewing.
- Depth: In the automatic mode, the proper depth range is found as soon as the unit is turned on. As you move into deeper water and the bottom goes off the screen, the next deeper depth range will automatically be activated. Also, as you move into shallower water the depth range will automatically change to the next shallower scale. This change is made when the bottom reaches the top 15 pixels, not when the next depth range is reached. For example, on the 120 ft. range, the bottom depth must reach about 24 feet before the depth range will change to 60 feet.
You may also manually change the depth scale by pressing the depth set button. Each time this button is depressed the range is decreased by one setting. For example, if you are on the 0-30 ft. scale, pressing the depth set button once will change the scale to 0-15 ft. Pressing it again will change the scale to 0-120 ft.
Note: Should you attempt to change a depth scale that is less than the actual bottom depth, the computer will automatically change the depth scale back to the proper position. For example, if you are in 40 feet of water and you change the depth scale to 30 feet, the computer will automatically change back to the 60-foot scale.
Remember, in the manual mode (see paragraph 4 below) the automatic range change is not active.
The depth range is always displayed at the bottom of the LCR display. The LCR 3004 has four depth ranges, 0-15; 0-30,’ 0-60; and 0-120: The graduated depth scales down the left and right sides of the display will identify the proper depth based on the range you are on at the time. On the 0-15′ scale, each line represents a one-foot increment. On the 0-30′ scale a two-foot increment, on the 0-60′ scale, a five-foot increment, and on the 0-120′ scale, a ten-foot increment. - Sensitivity: Automatic Mode – Each time the unit is turned on, the automatic feature is on. In the automatic mode, the sensitivity is adjusted automatically to give a good return and the correct depth range is selected. The word Auto will appear in the upper right-hand corner of the display any time the unit is in the automatic mode. The sensitivity bar at the top of the screen will increase or decrease automatically indicating the amount of sensitivity being used. In deeper water, this bar will increase indicating more sensitivity. In shallow water, the sensitivity needed to achieve a good return will be less. Also in the automatic mode, the unit will blackout the display beneath the bottom line. Manual Mode – There are two ways of putting the LCR 3004 in the manual mode: (1) depress the Auto “On/Off” button or (2) depress either the manual decrease (-) or increase (+) button. You will notice that the word “Auto” in the upper right-hand corner of the display has gone off. The operator can control the amount of sensitivity by depressing the (+) or (-) button. There are 15 sensitivity settings. When the (+) or (-) button is pressed once, the sensitivity setting at the top of the screen will change by one division. If the (+) or (-) button is held down the setting will move up or down as long as the button is held down. When the maximum or minimum setting is achieved, the unit will make a “Chirping” sound indicating a limit has been reached.
In the manual mode, everything below the bottom is no longer blacked out, therefore a second return or double echo can be displayed if desired. (See Figure 13). Also, the hardness of the bottom can be determined by the thickness of the bottom return. For example, a hard or rock bottom will give a wider bottom return as compared to a soft or muddy bottom. (See Figure 14).
Note: You will find the manual sensitivity control most useful when looking for smaller targets such as smaller fish. In the automatic mode, the computer might not be using enough sensitivity to show smaller targets. At higher sensitivity settings more targets will be seen. Therefore, you might want to use the automatic mode while running and then use the manual mode for charting and finding fish.
You should also note that it is possible to have the sensitivity set too high such that reflection off of suspended matter or air bubbles will begin to black out the display.
In the manual mode, the depth scale does not change automatically and the digital bottom depth is not displayed. To once again activate the automatic mode, depress the Sensitivity Auto “On/Off” switch.
- Audible Alarms: The LCR 3004 is equipped with two audible alarms, a Fish Alarm, and a Bottom Alarm.
Fish Alarm:
The LCR Fish Alarm will give a short alarm sound anytime a return is detected between the boat and the bottom. It will not alarm on the bottom but only on objects off the bottom.
To activate the Fish Alarm press the Fish Alarm “On/Off” button. The indicator “F” in the upper left of the screen will indicate that the Fish Alarm is on. The Fish Alarm is operational only while the LCR is in automatic mode. See “Manual Mode” in this section for use of the alarm in the manual mode.
The Fish Alarm may occasionally sound when no target is displayed. This can happen when a target is detected close to the bottom but is too close to be seen on the display. It can also happen when the display sweep speed is slow such that the target was detected but is gone by the time the display is updated.
To turn the Fish Alarm off, simply press the Fish Alarm “On/Off” button again. Bottom Alarm
The Bottom Alarm is activated by pushing the alarm “On/Off” button. When first activated, the alarm is set at five feet. The desired alarm depth can be adjusted up or down by pressing the depth set button and the increase * or decrease = button. When the increase or decrease button is pressed once, the alarm setting will change one division. If the button is held down the setting will move as long as the button is held down. The alarm setting is indicated down the right side of the display. The Bottom Alarm may be set anywhere from 4 feet to the maximum depth. When the bottom enters the alarm range it will trigger a continuous audible signal.
The Bottom Alarm will operate both in the automatic and manual modes, however, the operation is slightly different depending on what mode is on.
Automatic Mode: In the automatic mode a continuous alarm will sound only when the bottom depth is equal to or less than the alarm setting. Fish entering the alarm range will not trigger the alarm unless, of course, the fish alarm is on.
Manual Mode: In the Manual Mode either the bottom or fish can trigger the alarm. If the bottom depth becomes equal to or less than the alarm setting, a continuous alarm will sound. If a fish enters the alarm range a short, quick alarm will sound. Since the fish alarm is active only in the automatic mode, positioning the bottom alarm range close to the bottom will allow you to have a fish alarm in the manual mode.
The alarm depth will adjust itself when the depth range changes from one range to another. Thus a depth alarm set at ten feet while on the 30-foot depth range will remain at ten feet deep should the unit advance to any other range. To set the alarm with the most accuracy, set it using the lowest depth range.
Turn off the Bottom Alarm by again pushing the alarm “On/Off button. The alarm setting will then go to zero. If the alarm is turned on again before the unit is turned off, it will still be set at the previous setting. - Display: Stop/Resume: Anytime during the operation of the LCR, the operator may “freeze” the display by simply pushing the display “Stop/Resume” button. This feature will aid in the learning and interpretation of the signal on your LCR display by giving you time to study the display. The “Stop/Resume” will not change any original settings when once again activated.
Note: Sensitivity and display speed may not be changed while the display is stopped. When the “Stop/Resume” button is pressed again the unit will resume reading at the immediate point at which the boat is sitting on the water. - Display Speed: The LCR 3004 has a total of eight display speeds. When the unit is turned on the display will be advancing at almost maximum speed. To increase the display speed, depress the “Fast” button once or hold it down to change rapidly. An audible sound is heard each time the speed is advanced. When the limit has been reached a chirping sound will be heard. At this point, the speed will be advancing at its maximum. To decrease the speed, simply depress the “Slow” button until the desired advance is reached.
The speed of the boat and display speed will have a large effect on the way information is displayed. You should select the fastest display speed for high-speed operation, but use a slower display speed for idle or trolling speed. - Digital Bottom Reading: The Digital Bottom Reading is displayed in the lower-left area of the screen. It will operate while the unit is in automatic mode. The Digital Bottom Reading will not be seen while in the manual mode. Some additional things you should know about the LCR 3004:
• Some polarized glasses might affect your view of the LCR display. It could result in a prism or rainbow effect. This condition can possibly be improved by a slight adjustment in tilt.
• If you get confused while in the manual mode, for instance, if you don’t know where the bottom is, then press the auto on/off button to turn on the automatic mode. The LCR 3004 will find the bottom by selecting the proper sensitivity level and depth scale. You can then go back to the manual mode if desired.
• In order for your LCR to operate well at high speeds, you must have a properly mounted transducer. Please read the transducer mounting procedure carefully.
• The transducer for the LCR 3004 is 16° just like most standard Humminbird flasher units.
Other transducers, such as 32° cannot be used.
Caring For Your LCR:
Since your Humminbird LCR is completely waterproof, it can be cleaned with soap and water or hosed off after saltwater use with no fear of damage to the unit or its electronics. When cleaning the lens, it is suggested you use a chamois cloth and a non-abrasive cleaner such as Windex. Do not wipe while dirt or other gritty material is on the lens. Care should be exercised to avoid scratching the lens. Keep chemicals such as bug repellent, ammonia, or gasoline away from the LCR case and lens. As with any electrical instrument, do not leave your LCR on the dashboard or rear window area of the car. The sun can create extremely high temperatures which can damage the case and internal electrical components. During extended periods of non-use, such as winter, you should store the LCR and other removable depth sounders in the house or garage. This will help prolong the good appearance and operation of these instruments.
LEARNING TO USE YOUR LCR:
After installing the unit, transducer, and power cable as instructed, the LCR is ready for use. By following the steps below you will be able to quickly learn how to use the LCR. Also, troubleshooting suggestions are listed in these steps. Note: Perform steps 1 through 6 at idle or slow speed. These steps will ensure that your LCR is working properly.
Step 1:
Turn your LCR on by pushing the “On” button. The LCR’s computer will automatically adjust the sensitivity and depth scale so that in about one second you will see images appear on the right side of the display and move to the left. The small gap in the zero line allows you to see movement on the display even when the bottom is not changing.
TROUBLESHOOTING:
If nothing happens when the “On” button is pushed, check your electrical connections and fuse.
Also, check that the red wire on the power cable is connected to the positive battery terminal and that the black wire is connected to the negative battery terminal. If these wires are reversed it will not damage the LCR.
It is normal if when reversing the boat, the bottom return is lost since air from the prop is being forced under the transducer. Remember the transducer cannot transmit through air.

TROUBLESHOOTING: If the display comes on when the “On” button is pushed but no bottom information is seen, check that the transducer connector is securely locked to the rear of the LCR. Also, ensure that the transducer is completely submerged. A transducer cannot work properly in the air or through air bubbles in the water.
TROUBLESHOOTING: In very shallow water, the bottom reading might have gaps or the scale might change to the 0-120 foot scale. This is normal in one or two feet of water. The automatic mode cannot “lock” onto the bottom in very shallow water.
Step 2:
Still moving at a slow speed, begin going toward deeper water. You will see that the LCR will display changes as small as 3 inches on the 0-15 foot scale. Continue to move into deeper water until the bottom return goes off the display. The LCR will automatically change to the next deeper depth scale (indicated at bottom of the display). See Figure 15 for a display of a typical range change from a 0-30 foot scale to a 0-60 foot scale, You will notice that now the bottom is about half way up to the screen.
Step 3:
Press the depth set button once to change to the next lowest scale. If the bottom is deeper than this scale, the computer will automatically change back to the proper scale. By pressing the depth set button three or four times you will see that the depth scale will change down to the 0 to 15-foot scale and then to the 0 to 120-foot scale.
Step 4:
Press the Auto Sensitivity On/Off button to change to the manual mode. Notice that the word AUTO in the upper right-hand corner of the display has gone off. Also, the area below the bottom is no longer blacked out. You can now change the sensitivity setting by pressing the increase + or decrease – buttons. Notice that the digital bottom reading goes off in manual mode. Note: In the manual mode the depth scales will not automatically change. The automatic depth change works only in the automatic mode.
Push the Auto On/Off button to go back to the automatic mode.
Step 5:
Press the alarm on/off button to turn on the bottom alarm. Next press the range down (s) button until the alarm setting is lower than the bottom reading. A continuous alarm will be heard indicating that the bottom depth is equal to or less than the alarm setting. Press the alarm on/off button to turn the alarm off.
Step 6:
Press the Fish Alarm on/off button. Notice the letter “F” in the upper left of the screen indicating the Fish Alarm is on. Now if an object is detected between the surface and the bottom, a short alarm sound will be heard. By pressing the Fish Alarm on/off button again the Fish Alarm is turned off. The letter “F” will move left off the screen as the display moves left.
Step 7:
Steps 1 through 6 have verified that your LCR is working properly. You are now ready to increase boat speed to test the transducer installation. As you increase boat speed the LCR should give a continuous bottom return. With a proper transducer installation, your LCR will perform well at speeds over 75 mph.
TROUBLESHOOTING: If at high speeds the bottom return is not continuous or there are gaps in the bottom, then the transducer installation or location is such that air is going under the transducer face. Remember that a transducer cannot work properly through the air or through air bubbles in the water. Refer back to the transducer mounting procedure for adjustments or for other mounting options.
TROUBLESHOOTING: If when making a hard turn, the bottom reading is lost, it is the result of the transducer coming out of the water during the turn.
LEARNING TO READ THE DISPLAY
The following illustrations show some typical displays with bottom, structure, and target returns.
These should help you in interpreting the information being displayed on your LCR.

Surface clutter: The STC in your LCR will normally eliminate surface clutter, however, in some water conditions or when going across the wake of a boat the surface clutter will appear as shown above.
![]() | ![]() |
Brush or thick standing timber will appear as a thick mass with holes or gaps as shown above.

The thermocline is a temperature change at a certain depth in the water. In some conditions, the sonar waves will actually reflect or bounce off this temperature change and therefore it will be displayed on the LCR as shown above. To see the thermocline, you will need to go to the manual mode and increase the sensitivity setting.
One of the best ways to learn to use your LCR is to go over familiar locations. If you know what’s under the water and can see it displayed on the LCR, then you’re on your way toward gaining the experience you need.





















