KALORIK NBL 43216 Nutrition Blender
PARTS
IMPORTANT SAFEGUARDS
When using electrical appliances, basic safety precautions should always be followed. Read and follow all the below instructions to get the most out of your nutrition blender.
- READ ALL INSTRUCTIONS BEFORE USE!
- Check that the voltage in your home corresponds to that stated on the appliance.
- There is a potential risk of injury from misuse.
- To protect against electrical shock, fire or personal injury, do not immerse cord, plugs, or the appliance in water or other liquid.
- Close supervision is necessary when any appliance is used by or near children. As a rule, this appliance is not intended to be used by children.
- Children should not play with the device.
- The device may not be used by individuals with reduced physical, sensory or mental capabilities or by individuals lacking the necessary experience and knowledge, unless they are supervised or have been given special instructions regarding the use of this device in a safe way, and are aware of the hazards involved.
- Unplug from outlet when not in use and before assembly, disassembly, or cleaning. Disconnect when leaving unattended.
- Turn off the device and disconnect it from the power source before changing accessories or approaching moving parts.
- Do not operate any appliance with a damaged cord or plug or after the appliance malfunctions or has been damaged in any manner. Return the appliance to the nearest authorized service facility for examination, repair, or adjustment.
- The use of accessory attachments not recommended by the appliance manufacturer may cause injuries.
- Do not use outdoors, household use only
- Do not let the cord hang over the edge of a table or counter, or touch hot surfaces.
- Do not place on or near a hot gas or electric burner, or in a heated oven.
- Do not submerge the appliance or its cord in water or any other liquid. Danger of electric shock!
- Do not touch the appliance if it falls into water. First, remove the plug from the wall socket, turn the appliance off, and send it to an authorized service center for repair.
- To disconnect, remove the plug from wall outlet. Do not pull from the cord. Do not unplug with a wet hand.
- Never attempt tooling or repair or to open the appliance yourself. Danger of electric shock.
- Do not bend cord or wrap it tightly around the appliance.
- Blades are sharp. Be very careful when handling.
- Assemble the blade base and cup tightly to prevent leaking.
- Never place the blade directly on the motor base without the cup in place when in use.
- Do not put hot ingredients (greater than 150°F) into the cups.
- Remove all hard kernels from fruit before blending.
- This device is not intended for commercial use. Household use only.
- Do not use the appliance for anything other than intended use.
- Do not place any of the following materials in the appliance: paper, cardboard, plastic, and the like.
- Do not leave unit unattended when in use.
- Avoid contact with moving parts.
- Never operate the appliance when the cup is empty and do not attempt to remove the cup from the base before the blades come to a complete stop.
- Warning: misuse may cause serious injury. Care is needed when handling cutting blades, especially when removing the blade from the bottle, emptying the bottle and during cleaning.
- This appliance is designed with an overheat protection system in its motor which will be activated when the motor is overheated. If the device overheats, turn it off, unplug it, and wait for the machine to cool down completely before reuse.
- Keep any utensils out of container while blending to reduce the risk of damage to the blender. The blender should only be used with food.
- Do not place the appliance against a wall or against other appliances.
- Always place the appliance on a stable, horizontal, and level surface.
- WARNING: When nutrition blending, take special care when blending ingredients with pits and seeds that may be harmful, and remove unwanted toxic pits and seeds from your ingredients before blending. Do not blend the following: Apple seeds, apricot pits, cherry pits, plum pits, peach pits.
- Avoid blending bones, meats, whole nuts, overly frozen fruits and vegetables, dough, or any ingredients that are extremely hard.
POLARIZED PLUG INSTRUCTIONS
This appliance is equipped with a polarized plug (one blade is wider than the other). To reduce the risk of electric shock, this plug will fit into the polarized outlet only one way. If the plug does not properly fit into the outlet at first, reverse it. If it still does not fit, contact a competent qualified electrician. Do not attempt to modify the plug in any way.
SHORT CORD INSTRUCTIONS
A short power supply cord is provided to reduce the hazards resulting from becoming entangled in or tripping over a longer cord. Extension cords may be used if care is exercised in their use.
- The electrical rating of the extension cord should be at least that of the appliance. If the electrical rating of the extension cord is too low, it could overheat and burn.
- The resulting extended cord should be arranged so that it will not drape over the countertop or tabletop where it can be pulled on by children or tripped over.
BEFORE THE FIRST USE
- Unpack the appliance and its accessories and wash the accessories in hot, soapy water and then wipe them dry with a paper towel. Rinse and dry thoroughly. If you want to clean the motor base, use a damp cloth, do not immerse it in water.
OPERATING INSTRUCTIONS
- Place the motor base on a solid, flat, level surface.
- Fill the blending cup with your desired ingredients and screw blade base firmly on cup by turning it clockwise. The flat blades and grinder cup can be used for grinding spices such as nutmeg and coffee. The double cross blades with blending cup are designed to optimize nutrition extraction when blending ingredients for smoothies and shakes. See “Tips & tricks” section for additional notes.
Note: Do not exceed MAX markings on the cup. - Rotate the blade base onto the motor base by turning in the clockwise direction. Ensure the blade base is firmly locked in to prevent spills or leaks.
- Plug in the appliance.
- Press the ON/OFF button to turn the appliance on. Press the
LOW/HIGH button once to blend continuously at low speed. Press it again to increase to high speed blending. - Use the PULSE button to blend or chop ingredients at high speed in seconds. Keep the PULSE button pressed until desired consistency is reached. NOTE: The pulse function should not be used continuously for more than 30 seconds.
- After use, press the ON/OFF button to switch off the appliance and unplug before cleaning.
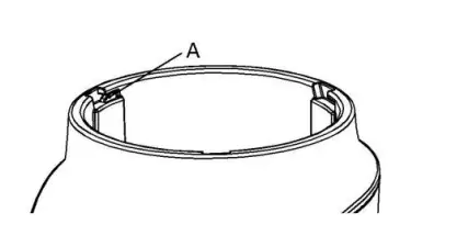
NOTE: This product is equipped with 1 safety switch (A) located on the motor base. If the blade is not properly assembled, the safety switch will prevent the blender from functioning. Do not attempt to tamper or tool with the safety switch as it can damage the appliance.
Important
- When blending, be sure to cut the ingredients into small pieces if the food is solid. Always add liquids when blending solid foods—this will make blending much easier and protect your blender from damage from overheating.
- Tightly screw on the blade base to prevent leaks. If you decide your concoction needs more blending and you screw the lid back on the cup, make sure you do so in a way that avoids any liquids from leaking or spilling.
- The appliance will stop automatically after 50 seconds of continuous blending. To prevent overheating, remember to let the appliance rest for 5 minutes between cycles. After 5 cycles, let the appliance cool down completely to prolong the life of your blender.
- Never put hard objects into the blender as they may damage the blade(s) or cup. Remove kernels, seeds, and pits from fruits before blending—neither you nor your blender will appreciate them in your smoothie.
- Do not exceed 4.2 oz (120 g) when using the spice grinder. Let the appliance cool for 5 minutes after 30 seconds of continuous spice-grinding. Let appliance cool completely after 5 cycles. You can also use the pulse function for smaller quantities to get a quick grinding done.
- The PULSE button may also be used when crushing ice and when cleaning. Always add a little bit of water when crushing ice.
- Make sure you clean everything thoroughly after each use.
Now let’s get shaking!
- Tips and Tricks for Nutrition Blending Getting the biggest vitality boost from your smoothies, shakes, and blends is all about what you put into it, and how. While there are endless variations and combinations that can be achieved, starting off with a few basics can go a long way to getting the most out of your Kalorik Nutrition Blender. We’ll give you a few pointers and recipes to get you started, and you can take it the rest of the way to find out what works best for you! The Kalorik Nutrition Blender can perform a variety of tasks, including spice grinding, ice-crushing, and smoothie making. For a quick shake or a snack on-the-go, the Kalorik Nutrition Blender has got your back. Just make sure to take proper care of it to ensure it lives up to its fullest potential.
- First, let’s talk ratios
Generally, a nice, thick smoothie will keep a ratio of 1-part liquid to 2-parts solid. If you prefer a thinner blend, feel free to adjust this ratio until you achieve your desired consistency. Be careful not to overfill past the cup’s maximum capacity. Just remember that if you add semi-liquid ingredients, like yogurts, this will affect the texture and consistency of the blend. - Next, how to fill
There are endless combos of ingredients that you can add to your smoothies. Below is a basic order that will help you achieve smoother results more easily. - First: Leafy Greens
It wouldn’t be a power smoothie without sneaking in that boost of veggies! If you put in your leafy greens first, it’s easier to smush them down and pack in as many nutrients as possible! Fresh or frozen, filling your blender cup about halfway (2 cups) with leafy greens is a great way to get a nutrient and vitamin boost! For a stronger flavor, you can choose greens like Arugula or Kale. For a milder flavoring, opt for greens like spinach and cabbage.
Second: Fruits and Veggies Whether you’re going all out with your fruit smoothie, or want to mix it up with a few more veggies, now is the time to add them in. Their weight will do nicely to bring everything down as you blend to get a smooth result. Aim for a total of 1-2 cups of frozen or fresh fruits and veggies. Remember to balance out both flavor and texture when picking out your bases—fruits like bananas, mangoes, and avocado will create a creamier consistency, while ingredients like cucumber and strawberries will create a fresher flavor and thinner blend. - Third: Pick your Liquids
Fill liquids up to max line. This is another opportunity to make it how you please. You can use milk, soy milk, or fortified almond milk for a calcium boost, or opt for coconut water or unsweetened ice tea for a fresher taste. Always add liquids to smoothie blends. Just make sure not to overfill! - Finally: Enhance with Add-ins
Add-ins are a great way to elevate your smoothie game to the next level. You can choose to add in nuts or seeds, herbs or spices, grains or flavorings, or go wild with a mix of any! Just remember, a little goes a long way!
| Leafy Greens: (1-2 cups, 2 nice handfuls) | |
| o Spinach o Kale o Arugula o Collard greens o Red Lettuce | o Celery o Cabbage o Swiss chard o Romaine lettuce o Dandelion greens |
| Fruits and Veggies : (1 cup total) | |
| o Banana o Apple o Strawberries o Grapefruit o Grapes o Blueberries | o Blackberries o Cranberries Oranges o Lemons / limes o Pears o Goji berries |
| o Guava o Kiwifruit o Mango o Pineapples o Figs o Raspberries o Açai berries | Pomegranate o Cucumber o Broccoli o Baby carrots o Beets o Pumpkin o Zucchini |
| Liquids : (up to max line) | |
| o Water o Fruit juice o Cranberry o Orange o Pomegranate o Unsweetened iced tea o Coconut water or milk | o Cow’s milk o Unsweet Soy milk o Unsweet Almond milk o Unsweet Hemp milk o Unsweet Oat milk o Plain Greek yogurt (add milk or water) |
| Enhancers : | |
| o 1 tbsp Chia or flax seeds o 1 tsp ginger or turmeric powder o 1 tbsp nut butter (almond, peanut, cashew, etc) o 1 tbsp pumpkin seeds (pepitas) o ½ tbsp sesame seeds o 1 tbsp sunflower seeds o 1 tbsp hemp seeds o ½ tsp vanilla extract | o Cilantro o Mint o Basil o Cardamom o Cinnamon o Nutmeg o 1 tbsp Chopped pecans** o 1 tbsp Almonds** o 1 tbsp cashews** o 2 tbsp shredded coconut o 3 tbsp rolled oats |
Remember! You can always buy frozen versions of most of these ingredients to make sure you prolong the amount of time you can use them and prevent waste!
Sample recipes to get you started:
Apple Pie
- 1 cup raw cabbage
- 1 medium apple
- Unsweet Almond milk
- 1 tbsp chopped pecans
- ½ tsp cinnamon
- Pinch of nutmeg
- 3 tbsp rolled oats
Lean, green, veggie machine
- 1-2 cups kale
- ½ avocado
- 1 kiwifruit
- Unsweetened green tea
- 1 tbsp hemp seeds
Berry Classy
- 1-2 cups spinach
- ½ cup strawberries
- ½ medium banana
- ½ cup açai berries
- Oat milk
- 1 tbsp chia seeds
- 2 tbsp shredded coconut
Afternoon boost
- 1-2 cups celery greens
- ½ cup cucumber
- 1 medium pear
- Water
- 4-5 mint leaves
Note: make sure that none of the additions may adversely impact your health. If you are taking any special medication, especially for cholesterol-related reasons, check with your doctor before trying out our recipes (or making your own)!
*All tips and guidelines are suggestions and should not be taken in place of professional medical advice. Consult your doctor or a qualified dietician for personalized health recommendations.
**For raw or whole nuts, soak overnight for best results
CLEANING AND MAINTENANCE
- Unplug the appliance before cleaning.
- Always switch off the device, unplug and let it cool down before cleaning or maintenance to avoid electric shock and burns.
- Never immerse motor base or power cord in water to clean it. Use a damp cloth and dry thoroughly. Do not place it in the dishwasher.
- Disassemble accessories after each use and wash them in soapy water. Rinse and dry thoroughly. All accessories are dishwasher safe—just make sure the temperature does not go over 140°F. You can also fill the cup halfway with soapy water, close tightly, and use the pulse function for a quick cleaning if needed.
- NEVER use abrasive cleansers as this may scratch the surface of the housing.
Any other servicing should be performed by an authorized service representative.
GET MORE OUT OF YOUR BLENDER
Browse chef-created recipes specifically made for your Kalorik product. Visit our website www.kalorik.com to see our extensive recipe library and start cooking. Sign up for the Kalorik email mailing list to receive special offers and recipes, and connect with us on social media for daily inspiration.
WARRANTY
We suggest that you complete and return the enclosed Product Registration Card promptly to facilitate verification of the date of original purchase. However, the return of the Product Registration Card is not a condition of these warranties. You can also fill out this warranty card online, at the following address: www.KALORIK.com
This KALORIK product is warranted in the U.S.A. and in Canada for 1 year from the date of purchase against defects in material and workmanship. This warranty is not transferable. Keep the original sales receipt. Proof of purchase is required to obtain warranty performance.
During this period, if the KALORIK product, upon inspection by KALORIK, is proven defective, it will be repaired or replaced, at Kalorik’s option, without charge to the customer. If a replacement product is sent, it will carry the remaining warranty of the original product.
This warranty does not apply to any defect arising from a buyer’s or user’s misuse of the product, negligence, failure to follow KALORIK instructions noted in the user’s manual, use on current or voltage other than that stamped on the product, wear and tear, alteration or repair not authorized by KALORIK, or use for commercial purposes. There is no warranty for glass parts, glass containers, filter baskets, blades and agitators. There is also no warranty for parts lost by the user.
ANY WARRANTY OF MERCHANTABILITY OR FITNESS WITH RESPECT TO THIS PRODUCT IS ALSO LIMITED TO THE ONE-YEAR LIMITED WARRANTY PERIOD.
Some states do not allow limitations on how long an implied warranty lasts or do not allow the exclusion of incidental or consequential damages, so the above limitations may not apply to you. This warranty gives you specific legal rights, and you may also have other rights which vary from state to state.
If the appliance should become defective within the warranty period and more than 30 days after date of purchase, do not return the appliance to the store: often, our Customer Service Representatives can help solve the problem without having the product serviced. If servicing is needed, a Representative can confirm whether the product is under warranty and direct you to the nearest service location.
If this is the case, send the product via your pre-paid postage back to Kalorik, along with proof of purchase and a return authorization number indicated on the outer package, given by our Customer Service Representatives. Send to the authorized KALORIK Service Center (please visit our website at www.KALORIK.com or call our Customer Service Department for the address of our authorized KALORIK Service Center).
When sending the product, please include a letter explaining the nature of the claimed defect. If you have additional questions, please call our Customer Service Department (please see below for complete contact information), Monday through Thursday from 9:00am – 5:00pm (EST) and Friday from 9:00am – 4:00pm (EST). Please note hours are subject to change.
If you would like to write, please send your letter to
KALORIK Customer Service Department Team International Group of America Inc. 16175 NW 49th Avenue Miami Gardens, FL 33014 USA
Or call:
Toll Free: +1 888-521-TEAM / +1 888-KALORIK
Only letters can be accepted at this address above. Shipments and packages that do not have a return authorization number will be refused.





















