BLACK DECKER BD17203 Rapid Induction Area Heater

Definitions:
SAFETY ALERT SYMBOLS AND WORDS
This instruction manual uses the following safety alert symbols and words to alert you to hazardous situations and your risk of personal injury or property damage.
DANGER: Indicates an imminently hazardous situation which, if not avoided, will result in death or serious injury.
WARNING: Indicates a potentially hazardous situation which, if not avoided, could result in death or serious injury.
CAUTION: Indicates a potentially hazardous situation which, if not avoided, may result in minor or moderate injury.
(Used without word) Indicates a safety related message.
NOTICE: Indicates a practice not related to personal injury which, if not avoided, may result in property damage.
WARNING:
Read all safety warnings and all instructions. Failure to follow the warnings and instructions may result in electric shock, fire and/or serious injury.
WARNING: To reduce the risk of injury, read the instruction manual.
SAFETY INFORMATION
DANGER
If you smell gas:
- Shut off gas to the appliance.
- Extinguish any open flame.
- If odor continues, keep away from the appliance and immediately call your gas supplier or fire department.
DANGER
Do not store or use gasoline or other flammable vapors and liquids in the vicinity of this or any other appliance. A propane cylinder not connected for use shall not be stored in the vicinity of this or any other appliance.
WARNING
Improper installation, adjustment, alteration, service or maintenance can cause property damage, injury or death. Read the installation, operating and maintenance instructions thoroughly before installing or servicing this equipment.
WARNING
For outdoor use only.
CARBON MONOXIDE HAZARD
This appliance can produce carbon monoxide which has no odor. Using it in an enclosed space can kill you. Never use this appliance in an enclosed space such as a camper, tent, car or home.
WARNING
- Before you assemble or operate this unit, please carefully read this entire manual. Failure to do so may result in a fire, explosion, injury or death.
- The installation of this unit must adhere to local codes or Propane Storage and Handling Code, CSA B149.2.
- THIS UNIT IS INTENDED FOR OUTDOOR USE ONLY! This product shall be used outdoors, in a ventilated space and shall not be used in any enclosed area.
- This unit is to be used with propane gas only!(sold separately)
- Do not attach a remote gas supply to this unit.
- Only use propane gas for this unit.
- This unit is not intended for natural gas.
- Converting this unit to natural gas is dangerous and not recommended. The conversion of this unit will void the manufacturer warranty.
- Do not use any solid fuel or charcoal for this unit.
- If the propane gas tank is leaking gas,
you may hear, see, or smell a hiss. Do the following: - Disconnect the propane gas tank. 2. Do not attempt to fix the problem yourself. 3. Contact your gas supplier or fire department for help.
- Applying too much propane may result in gas pooling and will not burn. Allow fresh air into the unit so that the remaining gas may escape.
- Do not use a flame to check for gas leaks.
- Manifold pressure: 11 in w.c. (2.74kPa).
- Use propane tanks with the following dimensions: diameter 12 in, height 18 in. -capacity 20 lbs.
- You must use a propane tank that has a collar to protect the gas valve.
- DO NOT fill tank over 80 percent full.
- The tank system must be set up for vapor withdrawal.
- Discontinue use if any part of the propane tank is damaged. Rust and dents may be hazardous and should be inspected by a gas supplier.
- Do not burn anything other than the provided materials for this patio heater.
- Do not operate unit until all parts are fully assembled.
- Do not paint or color any part of this heating unit.
- Unit may be hot while in use, do not attempt to move it while in use.
- Never leave this heating unit unattended while in use.
- This unit is not intended for cooking.
- Keep any flammable items away.
- Keep a safe distance from heating unit to avoid burning skin or clothing.
- Do not sit or rest hands or feet on this heating unit.
- Never place hands or fingers on upper portion of this unit while in use.
- Keep all electrical cords and fuel supply hose away from heated surfaces.
- Combustible material should not be within 24 inches of the top of the unit, or within 24 inches around the entire unit.
- Keep the appliance area clear and free from combustible material, gasoline and other flammable vapors and liquids.
- If the flame goes out while burning, turn
the gas valve off. Wait 5 minutes before repeating the initial lighting procedure. Once you have a flame started, hold down the control knob for 1 minute. - Do not add water into the unit.
- Do not operate unit if any part has been under water. Call a service technician to replace any damaged parts should this occur.
- Do not disconnect any part while unit is in use.
- Do not store a spare propane tank under or near this appliance.
- If the heating unit is indoors, detach the propane tank and leave outdoors.
- Do not operate on a boat or vehicle. This unit must be used on a flat level surface and outdoors ONLY.
- Always remove protective cover before operating (if applicable).
- Check for leaks after not using the unit for long periods of time.
- Children should never operate this unit. Children must be supervised while near this unit.
- Keep gas tank at least 5 feet away from unit when lit.
- The maximum gas supply: 250psi; Min. gas supply:10 psi.
- All installation and repair should be done by a qualified professional. This unit should be inspected annually and cleaned regularly.
- Inspect all elements of this heating unit before each use. If there is damage, the burner must be replaced.
- Be aware of the hazards of high temperatures and stay away from the unit to avoid any burns or injury.
- The gas supply tank should be constructed and marked in accordance with the specifications for the LP-gas cylinders of the U.S. Department of Transportation (DOT) or CSA B339;
- The propane gas tank must have a listed overfilling prevention device and a QCCI or Type I, (CGA791) propane gas tank connection.
- This heating appliance should not be used on plastic or artificial wood decks.
- Children and adults should be alerted to the hazards of high surface temperatures and should stay away to avoid burns or clothing ignition.
- Young children should be carefully supervised when they are in the vicinity of the heater.
- Clothing or other flammable materials should not be hung from the heater, or placed on or near the heater.
- Any guard or other protective device removed for servicing the appliance shall be replaced prior to operating the heater.
- Installation and repair should be done by a qualified service person. The heater should be inspected before use and at least annually by a qualified service person. More frequent cleaning may be required as necessary. It is imperative that the control compartment, burners and circulating air passageways of the heater be kept clean.
- Storage of an appliance indoors is permissible only if the cylinder is disconnected and removed from the appliance. A cylinder must be stored outdoors in a well-ventilated area out of the reach of children. A disconnected cylinder must have dust caps tightly installed and must not be stored in a building, garage or any other enclosed area.
- Place the dust cap on the cylinder valve outlet whenever the cylinder is not in use. Only install the type of dust cap on the cylinder valve that is provided with the cylinder valve. Other types of caps or plugs may result in leakage of propane.
- Installation of this appliance at altitudes above 2000 ft (610 m) shall be in accordance with local codes, or in the absence of local codes, ANSI Z223.1/NFPA 54 or CSA B149.1.
- Appliance may shut down in windy conditions in excess of 3 miles per hour (4.83 kilometers per hour).
- Only use the regulator and hose assembly provided with this unit. Replacement parts must be supplied
- Inspect the burner before use of this unit. If the burner shows any kind of damage, do not operate the appliance. For assistance with repair or replacement of the burner or any other parts, call the manufacturer at 1- 877-447-4768.
You must follow all steps to properly assemble this heating item. Make sure the gas valve is turned ‘OFF’ before assembling. Do NOT attempt to assemble without proper tools
BE CAREFUL: WHEN CERTAIN MATERIALS OR ITEMS ARE STORED ABOVE, BESIDE
OR UNDER THIS HEATER WHILE IN USE, THEY WILL BE SUBJECT TO RADIANT HEAT AND COULD BE SERIOUSLY DAMAGED.
WARNING
Combustible materials should not be within 24 inches of the top of the unit, or within 24 inches around the entire unit.
HARDWARE




PACKAGE CONTENTS
- A Reflector
- B Upper Radiation Screen
- C Lower Radiation Screen
- D Glass Tube Ring
- E Burner
- F Tank Housing
- G Glass Tube
- H Mesh Guard
- I Battery (AA)
- J Wheel Assembly
- K Upper Supporter
- L Belt
ASSEMBLY INSTRUCTIONS
- Turn the tank housing (F) upside down and attach the wheel assembly (J) to the base of the tank housing (F) using 2 M8 x 16 screws (AA).

- Attach the 3 anchoring arms (GG) onto the base of the tank housing (F) using 6 M6 x 12 screws (BB) and 6 M6 nuts (CC).

- Attach the belt (L) to the inside of the tank housing using 1 M5X12 screw (DD) and 1 M5 nut (EE).

- Align the holes at the bottom of the burner (E) to the top of the tank housing (F) -position to have the control panel on the burner (E) aligned with the door on the tank housing (F). Through the aligned screw holes attach the burner (E) to the top of the tank housing (F) using 4 M5 x 12 screws (DD) and 4 M5 nuts (EE). Be sure to fully tighten.

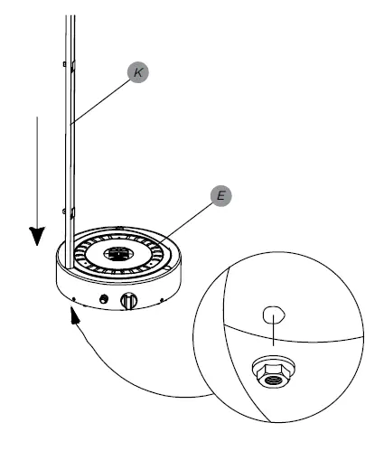
- Remove the 3 preassembled M5 nuts from the upper supporters (K). Slide the 3 upper supporters into the slots at the top of the burner (E). Once fully inserted, secure the upper supporters into the burner by replacing the M5 nuts that were removed at the beginning of this step.
Note: Be sure that the hooks on the upper supporters (K) are facing upwards.
- Remove the 3 preassembled screws from the top of the burner (E). Attach the glass tube ring (D) to the top of the burner (E) using the 3 screws removed at the beginning of this step. Be sure to fully tighten.

- Attach upper radiation screen (B) to lower radiation screen (C) using 3 M8x75 studs (II) and 3 M8 nuts (JJ).

- Attach reflector (A) to radiation screen assembly using 3 M6x60 studs (KK), 3 M6 washers (MM) and 3 M6 cap nuts (LL).

- Remove the 3 preassembled screws from the upper supporters (K) . Place the reflector (A) onto the top of the upper supporters
(K). Replace the 3 screws removed at the beginning of this step to secure the reflector (A) to the upper supporters (K). Be sure to fully tighten.
- Place the glass tube (G) into the top of the glass tube ring (D).

- Attach the 3 mesh guards (H) onto the hooks at the top of the upper supporters (K).

- Optional: Use the anchor (FF) to fasten the product into the ground.

- Open the door from the tank housing (F) and place the propane gas tank (not included) into the preassembled tank supporter. Tighten the belt (L) to ensure the propane gas tank is fully secure. Note: Once the tank is connected to the regulator in the next step be sure to close the door prior to use.
WARNING Please inspect the rubber O-ring in the propane tank valve to ensure it is not worn before attaching regulator. Worn rubber O-ring can cause leaks, explosions and serious injury by propane tank.
- Turn the cylinder valve on the tank clockwise to close the propane tank. Attach the preassembled regulator to the cylinder valve by turning the regulator coupling nut clockwise. Make sure it is fastened securely and tighten connections by hand only.

OPERATION
CAUTION:
- The glass tube may break if it is wet while in use; never use the heater while it’s raining outside.
- Do not splash any liquid on the heater while it is in use.
- Keep children away from the unit while in use; the glass tube may be extremely hot while in use. Do not touch.
- Ensure the heater is on a strong, flat and level surface. The heater may be damaged if the unit tips over.
- Never use the heater if the glass tube shows any cracks.
Before performing a leak test, be sure that no sparks can occur and you are in a spacious outdoor area. Connect the propane gas tank to the regulator and turn the valve on the unit to the “off” position. Brush a soap and water mixture on all connections. Turn the gas supply on; if bubbles occur on any connection there may be a leak. If you smell gas or a leak is discovered turn the gas valve off, disconnect propane gas tank and do not use the appliance until the leak is is repaired.
Observe flame height when lit. The flame should be a yellow/blue color between 20 – 28 inches in height.
WARNING
- Battery acid leakage can cause personal injury and cause damage to the product and surrounding property. If battery leakage occurs, thoroughly wash any affected skin, making sure to keep battery acid away from eyes, ears, nose and mouth. Immediately wash any clothing or other surface that comes in contact with leaked battery acid. If a chemical burn occurs or if irritation persists, seek medical attention. Dispose according to Local, State, or Federal regulations.
- Battery is to be inserted based on instructions provided in this manual
- NEVER dispose of batteries in fire, as they may leak and explode.
- Promptly remove exhausted batteries from product.
- Remove batteries before extended storage.
To Light
- Unscrew the ignition button on the burner to see if the battery (I) has already been placed inside. If the battery (I) is not already within the ignition button on the burner, please place the battery (I) into the ignition button slot. Make sure the positive side of the battery faces outwards.

- Screw the ignition button over the battery tightly.
- Make sure the ignition control knob is turned to the off position. Connect propane gas tank and slowly open the valve on the propane gas tank by turning the knob counterclockwise.
- Press in and turn the ignition control knob to the ‘pilot’ position; hold down for 1 minute. 4 . Push the ignition button, while still holding down control knob down, to generate a spark.
- Check to see if there is a pilot light through the glass tube (G). If there is, turn the control knob to the low position.
- For maximum fame height and heat output, turn the control knob to the high position.
To Extinguish
- Push and turn the ignition control knob clockwise to the “off” position.
- Turn the propane gas tank valve on the gas tank to close the gas supply and disconnect the propane gas tank
WARNING: If the lighting instructions are not followed directly a fire or explosion may occur resulting in property damage, personal injury or death.
MAINTENANCE
WARNING Before performing any maintenance always disconnect propane gas tank.
- Keeping the heating item free and clear from combustible materials.
- Visually inspect burner for obstructions and keep tank enclosure free and clear from debris.
- Use a soft brush to get rid of the mild stains, loose dirt and soil after the burner is completely cooled down. Wipe down with a soft cloth.
- Harsh weather conditions may cause stubborn stains, discoloration and possibly rust pitting.
- Permanent damage may occur if powder or solvent comes in contact with painted or plastic components on this heating unit.
- Keep the heating unit stored away from direct sunlight.
- If storing this unit inside, disconnect the propane gas tank from the gas valve.
- Not using manufacturer approved or supplied parts/accessories may result in a defective condition and void the warranty of this heating unit.
- Always place lid (if applicable) or protective cover on heating item when not in use.
TROUBLESHOOTING
| Problem | Cause | Solution |
| Pilot won’t light | Gas valve may be off | Turn the gas valve on |
| Gas tank may be empty | Refill the gas tank | |
| Orifice may be blocked | Clean out the orifice | |
| Air is within supply system | Pump out air from all lines | |
| Loose connection | Check all fittings and tighten connections as necessary | |
| Pilot won’t stay on | Debris around the pilot | Clean out the debris |
| Loose connection | Check all fittings and tighten connections as necessary | |
| Thermocouple is bad | Call for a replacement part and replace the thermocouple | |
| Gas leak within the line | Check all connections; call for a replacement part if anything is damaged | |
| Lack of gas pressure | Gas tank is almost empty | |
| Burner won’t light | Gas pressure is low | Gas tank is almost empty |
| Orifice may be blocked | Clean out the orifice | |
| Control knob isn’t on | Turn the control knob on | |
| Thermocouple is bad | Call for a replacement part and replace the thermocouple | |
| Pilot light assembly is bent or not in the correct location | Place pilot light in the correct location and retry lighting procedure |
WARRANTY
This product has a one-year warranty against manufacturing defects in workmanship, or materials.
The manufacturer warranty will be voided by, and manufacturer disclaims any responsibility for, the following actions:
- Modification of the unit and/or components including the gas valve assembly.
- Use of any component part not manufactured or approved by Manufacturer.
- Use and installation other than what is listed in this manual.
Please contact the manufacturer for replacement parts.
CONTACT
If you have any questions or concerns, please contact manufacturer at the below resources:
| Toll free phone | 1-877-447-4768 | Monday – Friday, 8:00 am – 4: 30 pm CST |
| [email protected] | |
| Website | www.ghpgroupinc.com |
BLACK & DECKER, BLACK+DECKER
The BLACK & DECKER and BLACK+DECKER logos and product names and the orange and black color scheme are trademarks of The Black & Decker Corporation, used under license. All rights reserved.
Product Manufactured by:
GHP Group Inc.
6440 W Howard St., Niles, IL 60714
U.S. & Canada Only
Replacement Parts

| Part | Description | Part# |
| A | Reflector | 30-01-661 |
| B | Upper Radiation Screen | 30-01-662 |
| C | Lower Radiation Screen | 30-01-663 |
| D | Glass Tube Ring | 30-01-664 |
| E | Burner | 30-07-628-B |
| F | Tank Housing | 30-07-629-B |
| G | Glass Tube | 30-01-667 |
| H | Mesh Guard | 30-07-630-B |
| I | Battery (AA) | 30-01-669 |
| J | Wheel Assembly | 30-07-631-B |
| K | Upper Supporter | 30-07-632-B |
| L | Belt | 30-01-672 |
Attach your receipt here
Serial number Purchase date
Questions, problems, missing parts?
Before returning to your retailer, call our customer service department at 1-877-447-4768,
8:00 a.m. – 4:30 p.m. CST. Monday-Friday, or email us at [email protected]






























