alza APW-HCC4B USB-C Hub

THANK YOU FOR CHOOSING US!
We value your trust. We hope that you will be happy with our product, and as excited about it as we are. We try to offer products of the highest quality that satisfy even the most demanding requirements. If you are satisfied, it would make us very happy if you chose us again the next time you make a purchase.
We are environmentally conscious, therefore we use special eco-friendly packaging. Please recycle!
Recycling and Environmental Protection
We try to avoid using plastic packaging and film and only use them when they are absolutely necessary to protect the product. So how are we different?
Packaging you can eat… Well, almost. 🙂
- We use ink made from soybeans as opposed to classic petroleum-based ink.
- The majority of our packaging is made from 100% recyclable paper.
- We limit the use of adhesives. If absolutely necessary, we make sure to choose only water-soluble ones.
We think globally, which means that we actively search for eco-friendly solutions. We keep an eye on trending technology and place findings of the scientific community into practice.
We don’t just try to meet quotas and mandates, we aim to exceed them.
TECHNICAL PARAMETERS
| Input | USB-C |
| Outputs | 1× HDMI (max. 4K / 60 Hz) 1× USB-A version 3.0 1× USB-C (supported by PD 100 W) 1× Ethernet (10 / 100 / 1000 Mbps) |
| HDMI output parameters | Max. supported resolution 4K / 60Hz Bit depth 8 / 10 / 12 bits Pixel format RGB4:4:4 / YCbCr4:4:4 / YCbCr4:2:2 / YCCr4:2:0 HDCP 2.2 and HDCP1.4 support HDR support Data throughput up to 18 Gbps / port at 8 bits |
| USB-A output parameters | Power supply up to 7.5 W (5 V / 1.5 A) with two USB-A ports simultaneously shared 8 W (5 V / 1.6 A) Data throughput up to 5 Gbps / port |
| USB-C output parameters | Power supply up to 7.5 W (5 V / 1.5 A) Possible connection of an adapter with PD 3.0 and power up to 100 W (20 V / 5 A) |
| USB-C input parameters | DP 1.4 Alt mode support with bidirectional communication with throughput up to 16.2 Gbps (8.1 Gbps in one direction) Back compatibility with DP 1.2 Alt DSC support |
| Compatibility | iOS, macOS, Android, Windows 7, Windows 8, Windows 10 |
| Dimensions | 85 × 45 × 13 mm |
| Weight | 61 g |
| Operating temperature | 0 °C to 45 °C |
| Storage temperature | -10 °C to 70 °C |
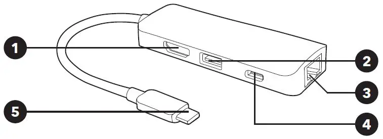
OVERVIEW

- HDMI output connector To connect to monitor or TV.
- USB-A output connector To connect peripheral devices.
- Ethernet output connector To connect to the LAN.
- USB-C output connector To connect peripheral devices and for charging.
- Input connector USB-C To connect to computer.
INSTRUCTIONS
The USB hub allows you to significantly expand the connectivity of your notebook or desktop computer. One USB port can expand to more standard USB connectors, through which you can connect, for example, a mouse, keyboard, external drive, printers and other accessories.
- Connect the USB input connector to the computer.
- Connect peripheral devices to the other connectors as required.
The USB hub does not require the installation of any drivers or any other software.
Attention
- Do not connect other hubs to the USB hub. Only connect terminal devices.
- It may be necessary to use a separate external power supply for the functionality of devices with a power consumption higher than 5 W (e.g. memory disks) to the USB connector.
- The USB hub is not intended as a charging station, it is intended for connecting peripheral devices such as a mouse, keyboard or flash drive.
SAFETY INFORMATION
- The product is intended for domestic use only.
- Unplug the product from power sources when not in use.
- Only use the product for the specified purpose of use.
- Incorrect use of the product can lead to a risk of fire, explosion or other hazard and can result in a voided warranty.
- This product is not a toy. It may contain small components. Please keep away from children.
- Do not use or leave the product in dusty or otherwise contaminated environments.
- Do not expose the product to high temperatures or low temperatures. Keep the product in a dry environment.
- Do not disassemble the product. Attempting to modify the power bank may damage the product and result in a serious injury.
- Use a soft, clean, dry towel for cleaning the surface of the product.
This product meets all of the related basic EU regulation requirements. The EU declaration of conformity is available on www.alzashop.com/DoC.
This product sold in the European Union meets the requirements of Directive 2011 / 65 / EU on the restriction of the use of certain hazardous substances in electrical and electronic equipment (RoHS).
The use of the WEEE Symbol indicates that this product should not be treated as household waste. By ensuring this product is disposed of correctly, you will help protect the environment. For more detailed information about the recycling of this product, please contact your local authority, your household waste disposal service provider, or the shop where you purchased the item.
“For indoor use only” symbol indicates that the product is not intended for outdoor use.
www.alzapower.com
Co. Reg. No. 27082440
Alza.cz a.s., Jankovcova 1522 / 53, 170 00 Prague 7, Czech Republic © 2021 Alza.cz a.s. All Rights Reserved.




















