emotion N3007 Artem Bedside Table 60cm B with 2 Drawers SoftClose Oak

PARTS

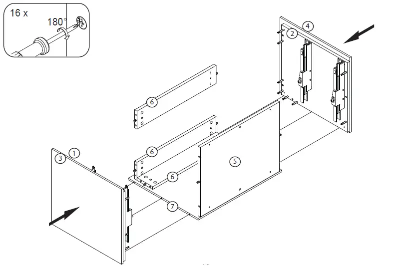
INSTALLATION
STEP 1

STEP 2

STEP 3

STEP 4

STEP 5

STEP 6

STEP 7

STEP 8

STEP 9

STEP 10

STEP 11

STEP 12

STEP 13

STEP 14

STEP 15

STEP 16

STEP 17




STEP 1

STEP 2

STEP 3

STEP 4

STEP 5

STEP 6

STEP 7

STEP 8

STEP 9

STEP 10

STEP 11

STEP 12

STEP 13

STEP 14

STEP 15

STEP 16

STEP 17

Download manual
Here you can download full pdf version of manual, it may contain additional safety instructions, warranty information, FCC rules, etc.