FISHER PAYKE CPV3-488 Gas Rangetops
SAFETY AND WARNINGS
WARNING
If the information in this guide is not followed exactly, a fire or explosion may result causing property damage, personal injury or death. Do not store or use gasoline or other flammable vapors and liquids in the vicinity of this or any other appliance. NEVER use this appliance as a space heater to heat or warm the room. Doing so may result in carbon monoxide poisoning and overheating of the appliance.
WHAT TO DO IF YOU SMELL GAS
- Do not try to light any appliance.
- Do not touch any electrical switch.
- Do not use any phone in your building.
- Immediately call your gas supplier from a neighbor’s phone.
- Follow the gas supplier’s instructions.
- If you cannot reach your gas supplier, call the fire department.
Installation and service must be performed by a qualified installer, service agency or the gas supplier.
WARNING
Never operate the top surface cooking section of this appliance unattended.
- Failure to follow this warning statement could result in fire, explosion or burn hazard that could cause property damage, personal injury or death.
- If a fire should occur, keep away from the appliance and immediately call your fire department. Do not attempt to extinguish an oil/grease fire with water
Electric Shock Hazard
Failure to follow this advice may result in electrical shock or death.
- Before carrying out any work on the electrical section of the appliance, it must be disconnected from the mains electricity supply.
- Connection to a good ground wiring system is absolutely essential and mandatory.
- Alterations to the domestic wiring system must only be made by a qualified electrician.
Cut Hazard
Failure to use caution could result in injury.
- Take care: some edges are sharp.
WARNING
To reduce the risk of fire, injury to persons or damage when using the appliance, follow the important safety instructions listed below. Read all the guidance before using the appliance.
Servicing
- Do not repair or replace any part of the appliance unless specifically recommended in the user guide. All other servicing should be undertaken be a Fisher & Paykel trained and supported service technician or qualified person.
- Technicians must disconnect the power supply before servicing this appliance.
- Please make this information available to the person installing the appliance
- This appliance must be installed and connected to the mains power supply only by a suitably qualified person according to these installation instructions and in compliance with any applicable local building and electricity regulations. Failure to install the appliance correctly could invalidate any warranty or liability claims.
Gas Requirements
- Be sure that the unit being installed is set up for the kind of gas being used. The
gas rangetop is shipped from the factory set and adjusted for Natural Gas or LP (propane), depending on the specific model ordered. Verify that the rangetop is compatible with the gas at the installation site before proceeding further. - Return cooktop to dealer if the unit is not set for site gas supply.
General
- The appliance must not be installed behind a decorative door in order to avoid overheating.
- The cooktop must be grounded.
- Installation must comply with your local building and electricity regulations.
- Ensure the installer shows the customer where the gas supply shut-off valve is located.
- A circuit breaker is recommended.
- If the power supply cable is damaged, it must be replaced by the manufacturer, its service agent or similarly qualified person in order to avoid a hazard.
- Do not use adaptors, reducers or branching devices to connect the oven to the mains electricity supply, as they can cause overheating and burning.
- Improper installation, adjustment alteration, service or maintenance can cause property damage, injury or death. Read the installation, operating and maintenance instructions thoroughly before using, installing or servicing this appliance.
- DO NOT obstruct the flow of combustion or ventilation air to the appliance. Be sure a fresh air supply is available.
- Check local building codes for the proper method of cooktop installation. Local codes vary. Installation, electrical connections, and grounding must comply with all applicable codes. In the absence of local codes, the cooktop should be installed in accordance with the latest edition of National Fuel Gas Code ANSI Z223.1 and National Electrical Code ANSI / NFPA 70.
- The cooktops are tested in accordance with ANSI Z21.1 Standard for Household Cooking Gas Appliances. These cooktops must be installed in conjunction with a suitable overhead vent hood. (See ventilation requirements). Due to the high heat capacity of this unit, particular attention should be paid to the hood and duct work installation to ensure it meets local building codes. To eliminate risk of burns or fire by reaching over heated surface units, cabinet storage located above the surface units should be avoided.
- In Canada: Installation must be in accordance with the current CSA C22.1 Canadian Electrical Codes Part 1 and/or local codes. Installation must be in accordance with the current CAN/CGA B149.1 & 2 Gas Installation codes and/or local codes. Electrical installation must be in accordance with the current CSA C22.1 Canadian Electrical Codes Part 1 and/or local codes.
PARTS
- Keep all packing materials until the unit has been inspected.
- Inspect the product to ensure there is no shipping damage. If any damage is detected contact the dealer or retailer you bought the product from to report the damage.
- Fisher & Paykel is not responsible for shipping damage.
Supplied
TOOLS
Not supplied
PRODUCT DIMENSIONS 30″ MODELS


PRODUCT DIMENSIONS 36″ MODELS

PRODUCT DIMENSIONS 48″ MODELS

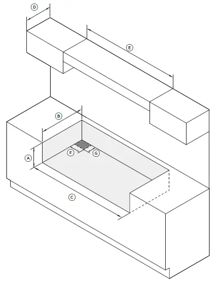
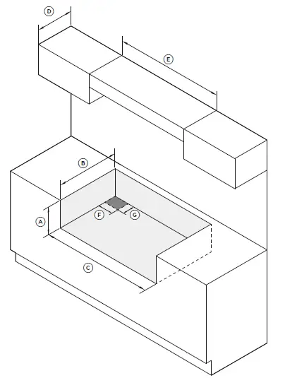
CABINETRY DIMENSIONS
30″ CABINETRY

We recommend mounting the regulator at the cooktop and using Flex gas line. Refer to page 12 for details
36″ CABINETRY

We recommend mounting the regulator at the cooktop and using Flex gas line. Refer to page 12 for details
48″ CABINETRY

We recommend mounting the regulator at the cooktop and using Flex gas line. Refer to page 12 for details
CLEARANCES
The below clearances apply to both wall and island installations for all models. Ensure the cook surface sits flush or above the adjacent countertop and any openings behind or under the rangetop are sealed. Flow of combustion and ventilation air must not be obstructed. Ensure the cooktop is adequately supported from the bottom.

Guidance dimension only. Refer to local codes for installation requirements. Non-combustible surfaces: as defined in ‘National Fuel Gas Code’ (ANSI Z223.1, Current Edition). Clearances from non-combustible materials are not part of the ANSI Z21.1 scope and are not certified by UL. Clearances of less than 6″ (152mm) must be approved by the local codes and/or by the local authority having jurisdiction.
VENTILATION REQUIREMENTS
- Ventilation hoods and blowers are designed for use with single wall ducting, however, some local building codes or inspectors may require double-wall ducting and/or a damper. Consult local building codes and/or agencies, before installing to ensure local requirements are met. Semi-rigid ducting is recommended for maximum effectiveness.
- Hood blower speeds should be variable to reduce noise and loss of household air.
- Due to a high volume of ventilation air, a source of make-up air (outside replacement air) is recommended. This is particularly important for tightly sealed and insulated homes. A reputable heating and ventilating contractor should be consulted.
WALL INSTALLATION

ISLAND INSTALLATION

ELECTRICAL REQUIREMENTS
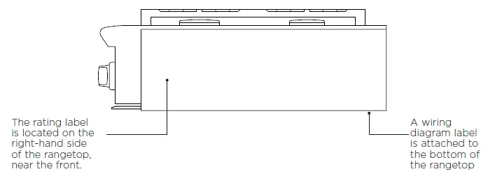
The electrical supply must be a correctly polarized, grounded 120 V AC, 60 Hz, single phase circuit suitable for the maximum current draw of the model, as detailed in the table below. Please verify your model’s current draw by checking the rating label on the rangetop.
Required grounding method
This appliance is factory equipped with a power supply cord with a three-prong grounding plug (with polarized parallel blades). It must be plugged into a mating grounding type receptacle, connected to a correctly polarized 120 Volt circuit. If the circuit does not have a grounding type receptacle, it is the responsibility and obligation of the installer to have the existing receptacle changed to a properly grounded and polarized receptacle in accordance with all applicable local codes and ordinances by a qualified electrician. In the absence of local codes and ordinances, the receptacle replacement shall be in accordance with the National Electrical Code.
The third prong should not, under ANY circumstances, be cut or removed
- This cooktop must be grounded.
- Always disconnect electric supply cord from the wall outlet or service disconnect before servicing this appliance.
- Observe all governing codes and ordinances when grounding, in absence of which, observe National Electrical Code ANSI / NFPA No. 70.

GAS REQUIREMENTS
Verify the type of gas supplied to the location. The range top is shipped from the factory set up and adjusted for Natural Gas or LP, depending on the specific model ordered. If the range top is not set for the gas supplied at the site, return to the dealer. Pressure testing at test pressures in excess of 1/2 psig (3.5 kPa.): the rangetop and its individual shut-off valve must be disconnected from the gas supply piping system Pressure testing at test pressures equal to or less than 1/2 PSIG (3.5 kPa.): The range top must be isolated from the building’s gas supply piping system by closing its individual manual shut-off valve.
LP GAS CONNECTION
Connection:
1/2″ NPT Minimum 5/8″ dia. flex line. Supply Pressure: 11″ to 14″ W.C. A regulator is required at the LP source to provide a maximum pressure of 14″ W.C. to the cooktop regulator. A manual shut-off valve (not supplied) must be installed in an accessible location in the gas line external to the appliance for the purpose of turning on or shutting off gas to the appliance. In Massachusetts, such shut-off valves should be approved by the Board of State Examiners of Plumbers & Gas Fitters. The shut-off valve must be located within 6 feet (1.8 meters) of the appliance. Ensure the gas supply is turned off at the wall valve before connecting the appliance. The gas supply connections should be made by a qualified technician and in accordance with local codes or ordinances. In the absence of a local code, the installation must conform to the latest edition of National Fuel Gas Code ANSI Z223.1. When within the Commonwealth of Massachusetts, this appliance must be installed by a licensed plumber or gas fitter.
To prepare the unit for connection to the gas supply
Thread the supplied 1/2″ pipe nipple into the elbow on the end of the manifold. The elbow is located inside the chassis of the unit, on the end of the manifold, facing down. It is accessible through the square cutout in the left rear corner of the chassis bottom. Connect the outlet of the regulator to the exposed end of the nipple, and connect the flex line from the gas supply to the inlet side of the regulator.
NATURAL GAS CONNECTION
Connection:
1/2″ NPT Minimum 5/8″ dia. flex line. Supply pressure: 6″ to 9″ W.C Fisher & Paykel recommends installing the manual shutoff valve in a location readily accessible by the customer so that gas to the appliance can be shut off in an emergency situation. However, the appliance must not be modified in any way to accommodate such placement. Pipe sealant must be used on all pipe threads. The gas supply line must not protrude beyond the back of the appliance. Ensure the gas supply is turned off at the wall valve before connecting the appliance. Leak-testing of the appliance shall be conducted according to the manufacturer’s instructions. See the instructions following. When checking the manifold gas pressure, the inlet pressure to the regulator should be at least 7.0″ W.C. for natural gas or 12.0″ for LP. The flex line for the gas supply must be metal and be approved for appliance use by a certifying agency (CSA, CGA, or UL). Never use a hose made of rubber or other synthetic material, as the heat may cause the hose to melt and develop leaks. The arrow on the regulator indicating the direction of gas flow should be pointing towards the unit.
COOKTOP BURNERS 
- To check that the ignition system operates correctly, light each burner by itself, then all burners in combination.
- Check for a well-defined blue flame without any yellow tipping.
- If any abnormality is evident, check that the components of the burner assembly are located properly.
- No air shutter adjustment is possible on the range top. Correct operation is achieved with factory-installed settings for the correct gas type.
- When installing the burner port ring, align the two locating pins in the bottom side of the port ring with the locating notch and center holes on the top side of the simmer ring, and make sure these are properly engaged.
- Incorrect installation may produce a potentially dangerous flame and result in poor burner performance.
- If proper operation cannot be obtained, contact Customer Care or your nearest Fisher & Paykel Authorized Service Center.
- The range top must not be used until proper operation has been achieved.
LEAK TESTING
- Ensure all dials are set to OFF before connecting range top to gas supply.
- After the final gas connection is made, turn the gas supply on and test all connections in the gas supply piping for gas leaks with a soapy water solution.
- In order to avoid property damage or serious personal injury, never use a match or open flame. If a leak is present, tighten the joint or unscrew, apply more joint compound, tighten again and retest the connection for the leak.
GRILL AND GRIDDLE BURNERS (SOME MODELS ONLY)
Each valve and air shutter is individually tested and adjusted prior to shipment. Normally adjustment is not required, however, vibration during transit, gas conversion or variations in the local gas supply may make minor adjustments necessary. Check for the proper burner flame characteristics and adjust air shutters if necessary. Burner flames should be blue and stable with no yellow tips, excessive noise or lifting of the flame from the burner. If any of these conditions exist, check that the air shutter or burner ports are not blocked. If the condition persists, adjust the air shutter as below:
- If the flame is too yellow, indicating insufficient air open the shutter to increase air inlet.
- If the flame is noisy or tends to lift away from the burner, indicating too much air, close the shutter to reduce air.
FINAL CHECKLIST
TO BE COMPLETED BY THE INSTALLER
GENERAL
- Specified clearance maintained.
- Backguard installed if clearance to combustibles behind the unit is less than 6″ (152mm).
- Unit is level – front to back and side to side.
- Griddle (if equipped) and burner pan supports are level and do not rock.
- All packaging materials have been removed.
- The oven door hinges seated and the door opens and closes properly.
- Dials turn correctly and freely.
- Burners light satisfactorily, both individually and with other burners operating.
- Flame adjustments are made if required.
GAS
- Connection: 1/2 NPT with a minimum 5/8″ diameter flex line. The site gas supply is compatible with the cooktop model, and sufficient pressure is available
- The pressure regulator which is connected to the manifold is set for 5.0″ W.C. for natural gas or 10.0″ W.C. for LP.
- anual gas shut-off valve installed in an accessible location.
- Unit tested and free of gas leaks.
ELECTRICAL
- A receptacle with correctly rated overcurrent protection is provided for service cord connection.
- Adequate ground connection.
Complete and keep for safe reference:
FISHERPAYKEL.COM
© Fisher & Paykel Appliances 2021. All rights reserved. The models shown in this guide may not be available in all markets and are subject to change at any time. The product specifications in this guide apply to the specific products and models described at the date of issue. Under our policy of continuous product improvement, these specifications may change at any time. For current details about model and specification availability in your country, please go to our website or contact your local Fisher & Paykel dealer.






























