NUU GARDEN AF006 30 Inch Steel Fire Pit Table Cover Instruction Manual
INTRODUCTION
Thanks for purchasing and trusting NUUGARDEN with your home decorating plans. This product is a furniture designed and made by NUUGARDEN Corp.
We are committed to R&D innovation and to create the most refined, diverse choice of outdoor collection.After unpacking and before every use, check whether the item
shows any damages. In addition, check that you have all parts and hardwares before assembly. If there is any damage, please do not use and just call customer service at (800) 257-7108 or send an email to [email protected]. If you do not have all the parts lists, have your dealer contact us and they will be sent to you immediately.
This furniture is intended for indoor and outdoor use. Please take time to read and follow the instruction below. Use the item as described in this operating manual.We accept no liability for damages caused by improper use.
DANGER
FIRE OR EXPLOSION HAZARD
If you smell gas:
- Shut off gas to the appliance.
- Extinguish any open flame.
- If odor continues, leave the area immediately.
- After leaving the area, call your gas supplier or fire department.

Failure to follow these instructions could result in fire or explosion, which could cause property damage, personal injury, or death.
WARNING
Do not store or use gasoline or other flammable vapors and liquids in the vicinity of this or any other appliance. An LP-cylinder not connected for use shall not be stored in the vicinity of this or any other appliance.
WARNING: If the information in this manual is not followed exactly, a fire or explosion may result causing property damage,personal injury,or loss of life.
WARNING For outdoor use only
Installation and service must be performed by a qualified installer, service agency,
or the gas supplier.
WARNING
Improper installation, adjustment, alteration, service or maintenance can cause injury or property damage. Refer to the owner’s information manual provided with this appliance. For assistance or additional information consult a qualified installer, services agency or the gas supplier.
INSTALLER:
Leave this manual with the appliance.
CONSUMER:
Retain this manual for future reference.
| CARBON MONOXIDE HAZARD This appliance can product carbon monoxide which has no odor.
Using it in an enclosed space can kill you.
Never use this appliance in an enclosed space such as a camper, tent car or home. | |
SAFETY INFORMATION
Before you assemble or operate this unit, please carefully read this entire manual. Failure to do so may result in a fire, explosion, injury or death.
WARNING
- The installation of this unit must adhere to local codes or Propane Storage and Handling Code, CSA B149.2.
- THIS UNIT IS INTENDED FOR OUTDOOR USE ONLY! This product shall be used outdoors, in a ventilated space and shall not be used in any enclosed area.
- This unit is to be used with propane gas only! (sold separately)
- Do not attach a remote gas supply to this unit.
- Only use propane gas for this unit.
- Solid fuels shall not be burned in this appliance.
- When igniting this unit, stay away from the burner as the flame will light up and may cause injury.
- LP GAS WARNING: Do not use any more than 1/4in depth lava rocks/pumice stones/LavaGlass® above the burner holes. Doing so will suffocate the flame.
- If the propane gas tank is leaking gas, you may hear, see, or smell a hiss. Do the following: 1. Disconnect the propane gas tank. 2. Do not attempt to fix the problem yourself. 3. Contact your gas >upplier or fire department for help.
- Applying too much propane may result in gas pooling and will not burn. Allow fresh air into the unit “io that the remaining gas may escape.
- Do not use a flame to check for gas leaks.
- Manifold pressure: 11 inch w.c. (2.74kPa).
- Use LP propane tanks with the following dimensions: diameter 12 in, height 18 in – capacity 20 lbs.
- You must use a propane tank that has a collar to protect the gas valve.
- DO NOT fill tank over 80 percent full.
- The tank system must be set up for vapor withdrawal.
- Discontinue use if any part of the propane tank is damaged. Rust and dents may be hazardous and 3hould be inspected by a gas supplier.
- Do not burn anything other than the provided materials for this fire table.
- Keep away from the unit for the first 20 minutes after igniting your unit for the first time, as lava
- ocks/pumice stones/LavaGlass could pop out and cause injury. Should any rocks pop out, discard tem. 0 Always ensure that lava rocks/pumice stones/LavaGlass are completely dry before use. Failure to Jo so will cause them to crack or pop.
- Do not operate unit until all parts are fully assembled. Do not paint or color any part of this heating unit. 0 Unit may be hot while in use, do not attempt to move it while in use. Never leave this heating unit unattended while in use. This unit is not intended for cooking.
- Keep any flammable items away and do not use any other fireplace cover for this unit. 0 Keep a safe distance to avoid burning skin or clothing. Do not sit or rest hands or feet on this heating unit. Never place hands or fingers on upper portion of this unit while in use. 0 Keep all electrical cords and fuel supply hose away from heated surfaces.
- Combustible material should not be within 60 inches of the top of the unit. or within 48 inches around the entire unit.
- Keep the appliance area clear and free from combustible material, gasoline and other flammable vapors and liquids.
- If the flame goes out while burning, turn the gas valve off. Wait 5 minutes before repeating the initial lighting procedure. Once you have a flame started, hold down the control knob for 1 minute.
- Do not add water into the unit.
- Do not operate unit if any part has been under water. Immediately call a qualified service technician to inspect the appliance and replace any part of the control system and any gas control that has been under water.
- Do not disconnect any part while unit is in use.
- Do not store a spare propane tank on or near this unit.
- If the heating unit is indoors. detach the propane tank and leave outdoors.
- Do not operate on a boat or vehicle. This unit must be used on a flat surface and outdoors ONLY.
- Always remove protective cover before operating (if applicable).
- Do not set the protective cover over the unit until it is turned off and completely cooled down.
- Check for leaks alter not using the unit for long periods of time.
- Children should never operate this unit. Children must be supervised while near this unit.
- Keep gas tank at least 5 feet away from unit when lit. (if external tank)
- Maximum gas supply: 250 psi: Min. gas supply: 10 psi.
- All installation and repair should be done by a qualified professional. This unit should be inspected annually and cleaned regularly.
- Inspect all elements of this heating unit before each use. If there is damage. the burner must be replaced.
- Keep the hose out from any pathways to eliminate any accidental damage. (it external tank)
- Be aware of the hazards of high temperatures and stay away from the unit to avoid any burns or injury.
- The gas supply tank should be constructed and marked with the specifications for the LP gas tanks of the U.S. Department of Transportation or the National Standard of Canada CAN/GSA13339, LP gas tanks, spheres and tubes for Transportation of Dangerous Goods: and Commission.
- The LP gas tank must have a listed overfilling prevention device and a OCCI or Type I, (CGA791) LP gas tank connection.
- This heating appliance should not be used on plastic or artificial wood decks.
- Children and adults should be alerted to the hazards of high surface temperatures and should stay away to avoid burns or clothing ignition.
- Young children should be carefully supervised when they are in the area of the appliance.
- Clothing or other flammable materials should not be hung from the appliance or placed on or near the appliance.
- Any guard or other protective device removed for servicing the appliance shall be replaced prior to operating the appliance.
- Installation and repair should be done by a qualified service person. The appliance should be inspected before use and at least annually by a qualified service person. More frequent cleaning may be required as necessary. It is Imperative that the control compartment, burners and circulating airways of the appliance are kept clean.
IF APPLICABLE:
- Allow heating item to cool completely before placing on lid.
- DO NOT use heating item while lid is installed. Always remove the lid while heating item is in use.
Only use the regulator and hose assembly provided with this unit. Replacement parts must be supplied directly by us .
Inspect the burner before use of this unit. If the burner shows any kind of damage, do not operate the appliance. For assistance with repair or replacement of the burner or any other parts, contact to us.
NOTE: You must follow all steps to properly assemble this heating item. Make sure the gas valve is turned “OFF” before assembling. Do NOT attempt to assemble without proper tools.
Combustible materials should not be within 60 inches of the top of the unit, or within 48 inches around the entire unit.
HARDWARE

| Item | Description | Qty |
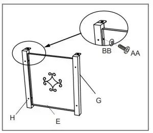
| AA | M6 x 12 Screw | 16 |
| BB | M6 Washer | 16 |
| 1 |
Before beginning assembly of this product be sure all parts are present. Compare parts with package contents list and hardware contents list. If any part appears to be missing or damaged do not begin assembly of this product and call customer service immediately.
Estimated assembly time: 30 minutes
CONTENTS

| Item | Description | Qty |
| A | Lid | 1 |
| B | Table Top | 1 |
| C | Door | 1 |
| D | Panel | 1 |
| E | Panel | 1 |
| F | Panel | 1 |
| G | Leg | 1 |
| H | Leg | 1 |
| I | Metal Stand | 1 |
| J | Protective Cover | 1 |
| K | Glass Rocks | 1 box |
| L | Burner (preassembled) | 1 |
| M | Firebowl (preassembled) | 1 |
| N | Guard (preassembled) | 1 |
| O | Control Knob (preassembled) | 1 |
| P | Regulator Hose (preassembled) | 1 |
ASSEMBLY INSTRUCTIONS
- Attach the panel ( E ) to the legs(G/H)using screws (AA) and washers (BB).

- Attach the panel (D/F) to the legs using screws (AA) and washers (BB).

- Attach metal base to the bottom part of the table top (B) using screws (AA) and washers (BB).

- Put the metal stand

- Put the lid

- Place propane gas tank (not included) into the metal stand (I). Make sure the gas tank sits on the metal stand (I) completely. Turn the preassembled wing screw on the outer part of metal stand (I) clockwise to secure the propane gas tank tightly.

- Turn the cylinder valve on the tank clockwise to close the propane tank. Attach the preassembled regulator from the table top (B) to the cylinder valve by turning the regulator coupling nut clockwise. Make sure it is fastened securely and tighten connections by hand only.

- Pour the box of glass rocks (K) into the firebowl.

CAUTION
To ensure proper function, the guard on this burner should be free of glass rocks at all times.
OPERATION
Carefully remove all items from the carton. Be sure all packaging, both under the fire pit and around the fire bowl, is removed before using.
Locate the battery and remove from plastic. Unscrew the rubber cap of the electric igniter and place AAA battery into the battery case. Make sure the positive pole (“+”) is towards the cap. Screw the cap back onto the battery case tightly.See Figure A.
Before performing a leak test, be sure that no sparks can occur and you are In a spacious outdoor area. Connect the propane gas tank to the regulator and turn the valve on the unit to the “off” position. Brush a soap and water mixture on all connections. Turn the gas supply on; if bubbles occur on any connection there may be a leak. II you smell gas or a leak Is discovered turn the gas valve off, disconnect propane gas tank and do not use the appliance until the leak is repaired.
Do not use the heating unit without inspecting the gas hose. If there are signs of wear or abrasion you must replace the hose Of applicable). Pumice stones/lava rocks/LavaGlass could pop up and stnke somebody’s face during the process of lighting this unit: stand away from the unit for the first 20 minutes after igniting. Flame height should be a yellow/blue color between 2 – 10 inches in height.
Wait 50 minutes after extinguishing flame prior to placing a lid (if applicable) or protective cover on heating item.
To Light
- Make sure the control knob is in the ‘OFF” position.
- Open the door and slowly open the valve on the propane gas tank by tuming the knob counterclockwise.
- Close the door on the body.
- Push the ignition control knob in fully and rotate about 1/4 turn counterclockwise until a click is heard, it may take several attemps to light the bumer. Once lit. keep holding down the control knob for 15 seconds.
- If ignition doesn’t occur within a few seconds. release the control knob and rotate to the ‘OFF’ position. Wait for 5 minutes for gas to clear and then repeat the above lighting instructions.
- To adjust the flame, turn the control knob either clockwise or counterclockwise depending on whether you want to lower or raise the flame.
To Extinguish
- Turn control knob clockwise to the ‘HIGH” position: push and continue turning the control knob to the “OFF’ position.
- Close the cylinder valve on the propane gas tank if you don’t intend to use it for a long time.
MAINTENANCE
- Before performing any maintenance always disconnect propane gas tank.
- Store your product indoors during winter months. Avoiding extreme cold temperatures will prevent from exposure damage.
- Keep the heating item free and clear from combustible materials.
- Visually inspect burner for obstructions and keep tank enclosure free and clear from debris.
- Use a soft brush to get rid of the mild stains, loose dirt and soil after the burner and lava rocks/LavaGlass
- Harsh weather conditions may cause stubborn stains, discoloration and possibly rust pitting.
- Permanent damage may occur if powder or solvent comes in contact with painted or plastic components on this heating unit.
- Keep the heating unit stored away from direct sunlight.
- If storing this unit inside, disconnect the propane gas tank from the gas valve.
- Not using manufacturer approved or supplied parts/accessories may result in a defective condition and void the warranty of this heating unit.
- Always place lid (if applicable) or p
TROUBLESHOOTING
| Problem | Cause | Solution |
|
Heating unit won’t light | Igniter pin and burner are wet | Dry off with a soft cloth |
| Igniter battery is incorrectly inserted | Check which direction the battery is inserted | |
| Igniter pin is broken | Contact us. for a replacement part | |
| Electrode wire is loose or disconnected | Reconnect wire to the igniter box located inside the fire pit behind the igniter box | |
| Electrode wire is shorting between valve and igniter pin | Contact Contact us. for a replacement part. for a replacement part | |
|
Burner won’t light while using a match | No gas flow | Check that the gas tank isn’t empty |
| Regulator isn’t connected securely to the tank | Tighten regulator connection to the gas tank | |
| Gas flow is obstructed | Check all hoses for kinks and bends | |
| Burner ports are clogged | Turn all gas flow connections off. Insert an opened paperclip (or similar item) into each of the burner ports to clear them out. | |
| Heating unit emits a lot of black smoke | Flame is obstructed at burner ports | Check that all burner ports are free of any small lava rocks/pumice stones/ LavaGlass pieces |
| Regulator hose is kinked | Straighten hose of all bends or kinks | |
|
Sudden drop in gas flow | No gas flow | Check that the gas tank isn’t empty |
| Excess flow safety valve has been activated | Turn the control knob to the ‘off’ posi- tion. Close the tank valve and disconnect propane gas tank. Turn the control knob to ‘high’; wait 1 minute. Turn the control knob back to the ‘off’ position. Recon- nect propane gas tank. Light the fire unit as indicated in the ‘To Light’ section of this manual. | |
|
Flame blows out easily | High or gusting winds | Increase flame to ‘high’ |
| No gas flow | Check that the gas tank isn’t empty | |
| Excess flow safety valve has been activated | See ‘sudden drop in gas flow’ above |
CUSTOMER SERVICE
Thanks for purchasing this NUUGARDEN furniture. We are here to help you maximize your enjoyment and appreciation of it.
Please do not hesitate to contact our customer service when you have any questions regarding assembly or accessories.
Add: 6366 Corley Road, Suite B, Norcross, GA 30071, USA
Tel: (800) 257-7108
Web:http://www.nuugarden.com
E-mail: [email protected]
Service time: Mon-Fri, 8:30 AM-5:30 PM, EST
























