Quick Start Guide

BIGFOOT
All-in-one USB Studio Condenser Microphone

V 3.0
Important Safety Instructions


CAUTION
RISK OF ELECTRIC SHOCK!
DO NOT OPEN!
Terminals marked with this symbol carry electrical current of sufficient magnitude to constitute risk of electric shock. Use only high-quality professional speaker cables with ¼” TS or twist-locking plugs pre-installed. All other installation or modification should be performed only by qualified personnel.
This symbol, wherever it appears, alerts you to the presence of uninsulated dangerous voltage inside the enclosure – voltage that may be sufficient to constitute a risk of shock.
This symbol, wherever it appears, alerts you to important operating and maintenance instructions in the accompanying literature. Please read the manual.
Caution
To reduce the risk of electric shock, do not remove the top cover (or the rear section). No user serviceable parts inside. Refer servicing to qualified personnel.
Caution
To reduce the risk of fire or electric shock, do not expose this appliance to rain and moisture. The apparatus shall not be exposed to dripping or splashing liquids and no objects filled with liquids, such as vases, shall be placed on the apparatus.
Caution
These service instructions are for use by qualified service personnel only. To reduce the risk of electric shock do not perform any servicing other than that contained in the operation instructions. Repairs have to be performed by qualified service personnel.
1. Read these instructions.
2. Keep these instructions.
3. Heed all warnings.
4. Follow all instructions.
5. Do not use this apparatus near water.
6. Clean only with dry cloth.
7. Do not block any ventilation openings. Install in accordance with the manufacturer’s instructions.
8. Do not install near any heat sources such as radiators, heat registers, stoves, or other apparatus (including amplifiers) that produce heat.
9. Do not defeat the safety purpose of the polarized or grounding-type plug.
A polarized plug has two blades with one wider than the other. A grounding-type plug has two blades and a third grounding prong. The wide blade or the third prong are provided for your safety. If the provided plug does not fit into your outlet, consult an electrician for replacement of the obsolete outlet.
10. Protect the power cord from being walked on or pinched particularly at plugs, convenience receptacles, and the point where they exit from the apparatus.
11. Use only attachments/ accessories specified by the manufacturer.
12. Use only with the cart, stand, tripod, bracket, or table specified by the manufacturer, or sold with the apparatus. When a cart is used, use caution when moving the cart/apparatus combination to avoid injury from tip-over.
13. Unplug this apparatus during lightning storms or when unused for long periods of time.
14. Refer all servicing to qualified service personnel. Servicing is required when the apparatus has been damaged in any way, such as power supply cord or plug is damaged, liquid has been spilled or objects have fallen into the apparatus, the apparatus has been exposed to rain or moisture, does not operate normally, or has been dropped.
15. The apparatus shall be connected to a MAINS socket outlet with a protective earthing connection.
16. Where the MAINS plug or an appliance coupler is used as the disconnect device, the disconnect device shall remain readily operable.
17. Correct disposal of this product: This symbol indicates that this product must not be disposed of with household waste, according to the WEEE Directive (2012/19/EU) and your national law. This product should be taken to a collection center licensed for the recycling of waste electrical and electronic equipment (EEE). The mishandling of this type of waste could have a possible negative impact on the environment and human health due to potentially hazardous substances that are generally associated with EEE. At the same time, your cooperation in the correct disposal of this product will contribute to the efficient use of natural resources. For more information about where you can take your waste equipment for recycling, please contact your local city office, or your household waste collection service.
18. Do not install in a confined space, such as a book case or similar unit.
19. Do not place naked flame sources, such as lighted candles, on the apparatus.
20. Please keep the environmental aspects of battery disposal in mind. Batteries must be disposed-of at a battery collection point.
21. This apparatus may be used in tropical and moderate climates up to 45°C.
LEGAL DISCLAIMER
Music Tribe accepts no liability for any loss which may be suffered by any person who relies either wholly or in part upon any description, photograph, or statement contained herein. Technical specifications, appearances and other information are subject to change without notice. All trademarks are the property of their respective owners. Midas, Klark Teknik, Lab Gruppen, Lake, Tannoy, Turbosound, TC Electronic, TC Helicon, Behringer, Bugera, Oberheim, Auratone and Coolaudioare trademarks or registered trademarks of Music Tribe Global Brands Ltd. © Music Tribe Global Brands Ltd. 2021 All rights reserved.
LIMITED WARRANTY
For the applicable warranty terms and conditions and additional information regarding Music Tribe’s Limited Warranty, please see complete details online at musictribe.com/warranty.
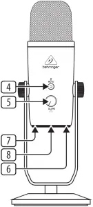
BIGFOOT Controls

Step 1: Controls
- CAPSULE – This area is where the microphone diaphragms pick up sound.
- GAIN – This knob adjusts the level of the microphone’s output signal through the USB or PHONES output.
- PATTERN – Depending on your recording needs, use this rotary switch to choose between four polar patterns:
Stereo, Omnidirectional, Cardioid or Bidirectional. - MUTE – Press this button to mute off the microphone’s output. When muted, the LED embedded in the button will light up red. When unmuted, the LED will light green and show normal operation/ bus-power is active.
- VOLUME (PHONES) – Turn this knob to adjust the output volume for the PHONES jack.
- PHONES – This output connects to headphones with 1/8″ stereo plugs. Use this output to monitor your microphone sound in real time with no latency.
- USB – Connect the microphone to a computer with a USB cable.
- THREAD – Mount the microphone on a standard microphone stand by using the built-in mounting thread. If necessary, remove the reduction thread to adapt the mounting to your tripod.
BIGFOOT Getting Started
Quick Setup
- Set the microphone so that the MUTE and VOLUME controls are facing you in your recording position.
- Tighten the screws on either side to keep the microphone at your chosen angle.
- Run the supplied USB cable from the USB output on the bottom to your computer.
- Be sure to select BIGFOOT as your audio device for recording/playback in your computer.
- While speaking or playing into the microphone, watch the input meter of your recording software or interface. Use the GAIN knob to increase or decrease the signal from the microphone, depending on the level shown in your meter, until you find a usable level.
Drivers
The microphone should run automatically when plugged into your computer’s USB input without need for any further drivers.
| Recommended Operating Systems: | |
| Windows* | Windows 10 (64-bit) |
| Mac** | OS X 10.10 or higher |
*Windows is either a registered trademark or trademark of Microsoft Corporation in the United States and/or other countries.
**Mac/Macintosh and OS X are either registered trademarks or trademarks of Apple Computers in the United State and/or other countries.
If necessary, you can download the universal ASIO4ALL USB driver for Windows for free by going to the download section on the BIGFOOT product page.
BIGFOOT may also work with iOS, Android and Linux devices, depending on your specific hardware and operating system version. For example, if your smartphone supports USB On-The-Go and delivers sufficient power to run the microphone, then you should be able to use BIGFOOT in mobile recording situations.
Polar Patterns
The BIGFOOT microphone has four different polar patterns that can be selected with the PATTERN switch:

- STEREO – The stereo polar pattern captures left and right channels. This pattern is ideal for acoustic guitars.
- OMNIDIRECTIONAL – The omnidirectional polar pattern picks up sound equally from every direction and is good for capturing room ambience.
- CARDIOD – The cardioid pattern is an excellent all-purpose pattern that strongly picks up sound sources from directly in front of the capsule, which is good for vocals and instruments when you wish to limit the amount of room ambience picked up by the microphone.
- BIDIRECTIONAL – A bidirectional polar pattern picks up sounds from both the front and rear of the microphone, while limiting the amount of sound picked up from the sides. This pattern is useful for two-person interviews or podcasts when you only have one microphone.
Specifications
| System | |
| Transducer type | Condenser, 3 x 14 mm capsules |
| Frequency range | 20 Hz to 20 kHz (-10 dB) |
| Max. SPL | 120 dB (1% THD @ 1 kHz) |
| Sample rate | 48 / 44.1 kHz |
| Bit rate | 16-bit |
| Controls | |
| Polar pattern | 1 x rotary switch Stereo / Omnidirectional / Cardioid / Bidirectional, selectable |
| Gain | -∞ to +17 dB |
| Mute | On / off, switchable |
| Headphone Amplifier | |
| Max. power output | 305 mW |
| THD | 0.05% |
| Frequency response | 20 Hz to 20 kHz |
| Signal-to-noise | 75 dB |
| Connections | |
| Headphone out | 1 x 1/8″ TRS, stereo |
| Impedance | 10 Ω, 1 kHz balanced |
| USB connection | 1 x mini-B |
| Mains Voltage / Fuse | |
| Supply voltage | 5 V via USB port |
| Dimensions / Weight | |
| Dimensions (H x W x D) | 110 x 110 x 227 mm (4.3 x 4.3 x 8.9″) |
| Weight | 1.7 kg (3.74 lbs) |
Other important information
Important information
1. Register online. Please register your new Music Tribe equipment right after you purchase it by visiting musictribe.com. Registering your purchase using our simple online form helps us to process your repair claims more quickly and efficiently. Also, read the terms and conditions of our warranty, if applicable.
2. Malfunction. Should your Music Tribe Authorized Reseller not be located in your vicinity, you may contact the Music Tribe Authorized Fulfiller for your country listed under “Support” at musictribe.com. Should your country not be listed, please check if your problem can be dealt with by our “Online Support” which may also be found under “Support” at musictribe.com. Alternatively, please submit an online warranty claim at musictribe.com BEFORE returning the product.
FEDERAL COMMUNICATIONS COMMISSION COMPLIANCE INFORMATION
Behringer
BIGFOOT
Responsible Party Name: Music Tribe Commercial NV Inc.
Address: 5270 Procyon Street,
Las Vegas NV 89118,
United States
Phone Number: +1 702 800 8290
FCC ID: QWHFLOW8
BIGFOOT
This equipment has been tested and found to comply with the limits for a Class B digital device, pursuant to part 15 of the FCC Rules. These limits are designed to provide reasonable protection against harmful interference in a residential installation. This equipment generates, uses and can radiate radio frequency energy and, if not installed and used in accordance with the instructions, may cause harmful interference to radio communications. However, there is no guarantee that interference will not occur in a particular installation. If this equipment does cause harmful interference to radio or television reception, which can be determined by turning the equipment off and on, the user is encouraged to try to correct the interference by one or more of the following measures:
- Reorient or relocate the receiving antenna.
- Increase the separation between the equipment and receiver.
- Connect the equipment into an outlet on a circuit different from that to which the receiver is connected.
- Consult the dealer or an experienced radio/TV technician for help.
This equipment complies with Part 15 of the FCC Rules. Operation is subject to the following two conditions:
(1) This device may not cause harmful interference, and
(2) This device must accept any interference received, including interference that may cause undesired operation.
Important information:
Changes or modifications to the equipment not expressly approved by MUSIC Tribe can void the user’s authority to use the equipment.

Hereby, Music Tribe declares that this product is in compliance with Directive 2014/30/EU, Directive 2011/65/EU and Amendment 2015/863/EU, Directive 2012/19/EU, Regulation 519/2012 REACH SVHC and Directive 1907/2006/EC.
Full text of EU DoC is available at https://community.musictribe.com/
EU Representative: Music Tribe Brands DK A/S
Address: Ib Spang Olsens Gade 17, DK – 8200 Aarhus N, Denmark
We Hear You




















