TRANSBOX GP-BS1000 Instruction Manual

Bluetooth Connection



Basic Operation


TWS Function

How To Operate TWS Pairing Function

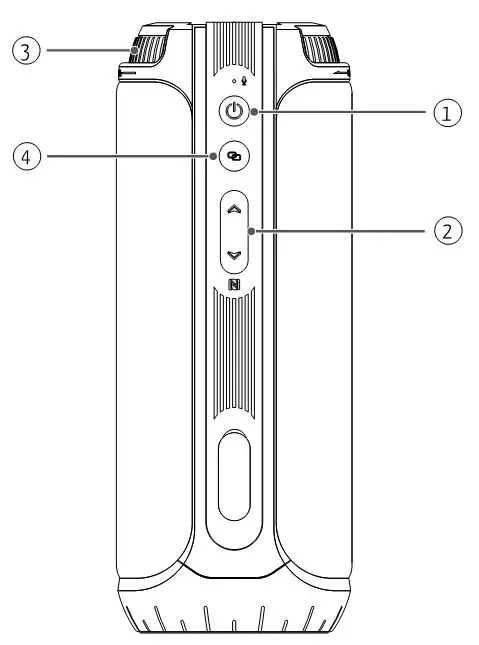
Ports Description

Charging LED Indicators

Product Specification

Frequently Asked Questions

* This Speaker Supports mobile phones and tablet PCs etc. Here this User Manual is illustrated based on mobile phones.

If any questions, please email [email protected] for inquiry or website visit www.gelius.pro
TRANSBOX GP-BS1000 Instruction Manual – Optimized PDF
TRANSBOX GP-BS1000 Instruction Manual – Original PDF



















